
8. Подготовка поверхностей
Проверив состояние помещений, переданных под отделку строителями, штукатуры приступают к подготовке поверхностей.
Плоскости, подлежащие штукатурке, следует тщательно очистить от грязи, пыли, жирных и смоляных пятен, а также от выступивших на поверхности солей - грязь снижает прочность сцепления штукатурного слоя со стеной. Очищают стены сжатым воздухом, щетками, скребками, пескоструйными аппаратами, промывают водой.
Отдельные жировые пятна удаляют, срубая их зубилом, бучардой, сплошные загрязнения обрабатывают пескоструйным аппаратом. Выступившие на поверхность соли, копоть, потеки удаляют металлическими электрофицированными щетками.
Масляную краску можно удалить скребком, выжечь паяльной лампой. Применяют и пасту, размягчающую краску, она состоит из 80 % известкового теста и 20 % водного раствора каустической соды. После такой химической обработки краску обычно довольно легко снять скребком. Если же ни один из названных способов не помогает, приходится поверхность штукатурить по металлической сетке.
Важное значение для надежного сцепления растворной массы со стеной имеет шероховатость плоскостей. Речь здесь идет не о сборных бетонных элементах повышенной заводской готовности, которые не подлежат оштукатуриванию, а где приходится только затирать швы между стеновыми панелями.
Если же стены сложены из обычных бетонных блоков, рассчитанных на последующее оштукатуривание, то их надо обязательно специально подготовить: нарезать борозды, насечь зубилом, скарпелью, бучардой при небольших площадях, а при больших обработать электрическим или пневматическим молотком.
В кирпичных стенах, предназначенных под штукатурку, каменщики обычно оставляют с внутренней стороны некоторую пустошовку: не заполняют швы между кирпичами на глубину 1–1,5 см. В эти пазы войдет штукатурный раствор и обеспечит прочность сцепления штукатурного слоя. Этого обычно бывает достаточно, если кирпич пористый. Если же кирпич имеет гладкую поверхность да еще кладка выполнена с расшивкой швов с внутренней стороны, то дополнительная насечка стен обязательна.
Наиболее трудоемкая подготовка стен под штукатурку в деревянных зданиях. Известно, что дерево и штукатурка на прочность соединения работают плохо. Вспомните, как легко отделяется опалубка от бетонного изделия. Приходится особо помогать их надежному соединению. Для этого деревянные стены обивают дранью. Кроме того, если хотят получить по-настоящему прочное покрытие, стену от штукатурки добавочно отделяют войлоком, рогожей и другими изоляционными материалами (которые к тому же являются теплоизоляционными).
Необходимо предупредить, что по войлоку простильный слой драни нужно набивать часто - через 2 см, чтобы при накладке выходного слоя получалась сетка с ячейками 4×2 см.
Набив дрань, надо слегка смочить войлок водой. Затем провести обрызгивание жидким чистым гипсовым раствором и хорошо разгладить соколом или полутерком. Когда слой обрызга схватится, можно приступать к полной штукатурке.
Остановимся подробней на изоляционных материалах и драни.
Войлок следует предварительно пропитать раствором сулемы против моли, а также противогнилостными антисептиками, после этого хорошо просушить.
Рогожа должна быть плотной, чистой. Может быть использована и бывшая в употреблении, но ни в коем случае не такая, в которой перевозили какие-нибудь продукты, содержащие соли.
Изоляционные материалы прибивают к вертикальным поверхностям штукатурными гвоздями по краям в натянутом состоянии, а к потолкам - еще и гвоздями посередине.
Войлок - недостаточно прочный материал. Прежде чем прибивать, его наматывают на палку и раскручивают по мере прибивания.
Дрань - само название говорит о том, что это не пиленые дощечки, а надранные, наколотые. Но это не значит, что они произвольных размеров, напротив, размеры строго определены. Для нижнего ряда (он называется простильным) отбирают более тонкую дрань - толщиной 3–4 мм. На верхний выходной (подбоечный) - можно ставить более толстые драницы - 4–5 мм. Ширина драни должна быть по всей длине (от 1,2 до 1,7 м) одинаковой - не менее 15 и не более 20 мм.
Подбивка драни может производиться как штучной дранью, так и при помощи драночных щитов.
Сначала о штучной подбивке.
Дранки крепят к стене гвоздями, располагая их под углом 45° по отношению к полу, и набивают на расстоянии 4–4,5 см одна от другой. Обшив стену в одном направлении, прибивают поверх второй слой, но теперь уже с обратным уклоном, тоже под углом 45°. Таким образом получают драночную сетку с квадратными ячейками 4×4 или 4,5×4,5 мм.
Прибивают дранки штукатурными гвоздями, забивая через два пересечения на третье, на потолках - через одно.
Подбивка штучной дранью дает наиболее качественную подготовку. Здесь между выходным рядом и поверхностью стены остается зазор, равный толщине простильного ряда. Сюда затекает раствор и, затвердев, прочно удерживает намет.
Но этот способ очень трудоемок. Однако его можно значительно ускорить, применив простое приспособление. Это рамка-шаблон, имеющая прорези, соответствующие сетке, которую образуют драницы простильного и выходного рядов. В пазы закладывают дрань. Но кладут сначала выходной ряд, наверх - простильный, затем рамку временно крепят на стене и прибивают сразу оба слоя драни. Быстро и экономно: ведь экономятся все гвозди, которые бы шли на простильный ряд. После подбивки рамку снимают. Концы выходной драни пробивают к стене, если этого не сделать, дрань может покоробиться, повредить штукатурный слой (эту подбивку следует делать при любом способе установки драни).
В прошлые годы, когда строили много деревянных домов и штукатурили их внутри и снаружи, изготовление драночных щитов вели централизовано в специальной мастерской. Инженер П. А. Величко сконструировал для этого стол-шаблон. Это верстак шириной 0,7 и длиной 3,2 м. По краям верстака прибиты квадратные бобышки, между которыми помещают концы драни.
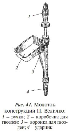
Щиты изготовляют из драни, рассортированной на простильную и выходную. Часть драни режут на куски, которые идут для укладки на углах щитов. Укладывают сначала простильный ряд, затем выходной. Уложенную дрань слегка сбивают штукатурными гвоздями так, чтобы концы их выходили наружу на 4–5 мм. Для забивки гвоздей применяют специальный молоток, также сконструированный П. А. Величко (рис. 41). Ударник молотка можно регулировать с таким расчетом, чтобы забивать гвозди на необходимую глубину.

В изготовлении щитов принимают участие двое рабочих, которые находятся по обе стороны верстака.
Существует и еще один способ изготовления драночных щитов - плетеных. Но, как показывает практика, при этом нет необходимых зазоров под дранью и прочность штукатурки от этого снижается. А в местах переплетения дранок получаются значительные утолщения (если берут дранки толще 3 мм), это ведет к нанесению более толстого налета. Поэтому щиты-плетенки применяют редко.
Бывает, что в отделываемом помещении деревянные конструкции соприкасаются с каменными или бетонными (рис. 42). В таких случаях линию стыка обшивают металлической сеткой.