
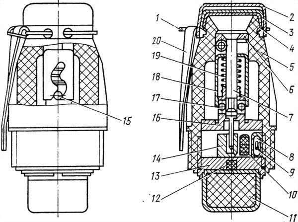
Рис. 17. Минный взрыватель М-6:
1 - чека; 2 - предохранительный колпак; 3 - коническое кольцо; 4 - мембрана; 5 - корпус; 6 - грибок; 7 - жало; 8 - наперсток; 9 - пружина движка; 10 - капсюль-детонатор; 11 - детонатор; 12 - передаточный заряд; 13 - диафрагма; 14 - движок; 15 - штифт; 16 - втулка; 17 - шарики; 18 - гильза; 19 - пружина; 20 - тесьма
Корпус 5 взрывателя изготовляются из пластмассы и может быть желтого, светло-коричневого или темно-коричневого цвета. На головке корпуса 5 с помощью конического кольца 3 закреплена тонкая медная мембрана 4. Для обеспечения герметизация наружная коническая поверхность мембраны и внутренняя коническая поверхность кольца смазываются свинцовым суриком, разбавленным масляным лаком.
Сверху на головку корпуса для предохранения мембраны от повреждения надет предохранительный колпак 2, закрепляемый на корпусе посредством чеки 1 с тесьмой 20. На тесьме имеется надписью "Перед заряжанием выдернуть чеку и снять колпак".
Снаружи на конической части корпуса имеются два паза для ключа, применяемого при ввинчивании взрывателя в мину.
В нижней части корпуса имеются две резьбы: внутренняя - для соединения корпуса 5 с диафрагмой 13 и наружная - для ввинчивания взрывателя в очко мины. На наружной конической поверхности корпуса каждого взрывателя заносятся клейма марка взрывателя, номер партии, год изготовления или условный шифр года изготовления.
Ударно-предохранительный механизм состоит из жала 7 с грибком 6, которые вместе образуют ударник, одного верхнего и двух нижних шариков 17, оседающей гильзы 18, имеющей зигзагообразный паз, пружины 19, втулки 16 с запрессованным в нее штифтом 15, движка 14 с капсюлем-детонатором 10 и пружины 9, движка с наперстком 8.
Втулка 16 служит для сборки всего ударно-предохранительного механизма. В центральный канал этой втулки помещено жало 7, которое двумя нижними шариками 17, вставленными в окна втулки 16 и входящими в шейку жала 7, надежно застопорено во втулке. Шарики от выпадения удерживаются нижней частью оседающей гильзы 18, которая, в свою очередь, удерживается от перемещения (от действия пружины 19) верхним шариком, помещенным между ее верхним торцом и грибком 6 жала ударника. При этом штифт 16, запрессованный во втулку, совмещен с зигзагообразным пазом гильзы и находится в начале первого колена паза.
В поперечный паз втулки 16 помещен движок 14 с капсюлем-детонатором 10. Движок в служебном обращении и при выстреле находится в положении, при котором капсюль-детонатор смещен в сторону от оси жала. Смещенное положение движка фиксируется жалом 7, входящим своим концом в глухой канал движка 14. Капсюль-детонатор 10 накольного типа помещен в вертикальное отверстие движка. Между стенками отверстия и капсюлем-детонатором имеется некоторый зазор, который необходим для свободного перемещения капсюля в этом отверстии.
В глухое поперечное отверстие движка помещена коническая пружина 9, закрытая наперстком 8, которая до взведения взрывателя находится в сжатом состоянии и поджимает движок к жалу 7.
Ударно-предохранительный механизм закрепляется в корпуса взрывателя посредством диафрагмы 13, ввинчиваемой в корпус на резьбе.
Перед заряжанием посредством тесьмы надо выдернуть чеку и снять колпак 2. Стрелять с колпаком нельзя, так как в этом случае возможны отказы в действии взрывателя.
Под действием силы инерции, которая возникает при выстреле, гильза 18 сжимает цилиндрическую пружину 19 и оседает вниз.
Вследствие наличия штифта 15, запрессованного во втулку 16 и входящего в зигзагообразный паз оседающей гильзы, поступательное перемещение гильзы происходит насколько замедленно, так как оно совмещено с возвратно-вращательным движением около штифта. Однако полное оседание гильзы 18 в крайнее нижние положение произойдет еще до вылета мины из канала трубы.
Одновременно с перемещением оседающий гильзы будет опускаться вниз верхний шарик, который затем по закругленной верхней части гильзы сказывается в уширенную камеру корпуса. Все остальные детали под действием сил инерции поднимаются в нижнее положение, выбирая имеющиеся зазоры, и находятся в таком положении до тех пор, пока силы инерции от линейного ускорения продолжают действовать.
При полете мины после вылета ее за дульный срез миномета оседающая гильза 18 под действием цилиндрической пружины 19 будет подниматься вверх до упора в грибок 6. Подъем гильзы будет также происходить несколько замедленно, так как зигзагообразный паз гильзы будет скользить по штифту, создавая возвратно-вращательное движение. Как только гильза поднимется до упора в грибок, два нижних шарика выкатятся в камеру корпуса и освободят жало 7. После этого дальнейший подъем гильзы будет происходить вместе с грибком и жалом до упора грибка 6 в мембрану. Двигаясь вверх, жало выходит из зацепления с движком 14, перемещается под действием пружины 9 в боевое положение, при котором на одной оси располагаются жало 7, капсюль детонатор 10 и передаточный заряд 12.
При полете под действием силы набегания свободно сидящий капсюль детонатор перемещается вперед, входит в центральное гнездо втулки 16 и тем самым фиксирует движок в боевом положении.
Взведение взрывателя, т. е. совмещение оси капсюля-детонатора с осью жала, происходит на удалении мины от дульного среза миномета не ближе 0,75 м и не далее 10 м.
При встрече мины с преградой мембрана прорывается и ударник резко продвигается по направлению к хвостовой части взрывателя. Жало 7 накалывает капсюль-детонатор 10 и вызывает действие капсюля-детонатора. Взрывом капсюля-детонатора разрушается перемычка и диафрагме 13 и вызывается детонация передаточного заряда 12. Детонация передаточного заряда вызывает детонацию тетрилового детонатора 11, который, в свою очередь, вызывает разрыв боевого заряда мины.
Дистанционно-ударная трубка Т-1 (рис. 18) применяется для окончательного снаряжения осветительных мин и предназначается для воспламенения вышибного заряда мины в установленной точке траектории (дистанционное действие) или при встрече ее с преградой у цели (ударное действие).
Трубка Т-1 для отсчета времени снабжена пиротехническим (пороховым) дистанционным устройством. Горение дистанционного состава начинается в момент выстрела в результате накола капсюля-воспламенителя жалом дистанционного ударника.
Трубка выпускается с навинченным герметизирующим колпаком с установкой на УД (ударное действие). В таком виде она и должна храниться на складах и в войсках. Колпак свинчивается с трубки непосредственно перед стрельбой.
Установка трубки на требуемое время действия производится по шкале с делениями, имеющий отметки от 10 до 125 через каждые 10 делений, с помощью ручного установочного ключа.
Трубка Т-1 состоит из накольно-воспламенительного дистанционного и ударного механизмов, собранных в корпусе. Корпус делится на головку, тарель и хвостовик. На корпус навинчивается герметизирующий колпак 1.
На корпусе трубки Т-1 наносятся клейма, обозначающие марку трубки, индекс завода-изготовителя, номер партии и год изготовления трубки.
Накольно-воспламенительный механизм служит для воспламенения дистанционного состава и огневой цепи порохового предохранителя в момент выстрела; он состоит из дистанционного ударника 4 с жалом, капсюля-воспламенителя 11, помещенного в латунную втулку, и предохранительной пружины 5.