| Количество раствора на чистку трубы, л | Норма расходов реактивов на одну чистку | |
|---|---|---|
| углекислый аммоний, кг | двухромовокислый калий (хромпик), кг | |
| От 2 до 4 | От 0,4 до 0,8 | От 0,02 до 0,04 |
Чистка труб производится в такой последовательности:
- очистить наружную поверхность трубы от пыли и грязи ветошью, а при сильном загрязнении обмыть водой и вытереть насухо;
- отделить от трубы предохранитель, вычистить его, насухо протереть и смазать тонким слоем смазки ГОИ-54п;
- очистить канал трубы от смазки и грязи, для чего, отвинтив казенник, прогнать через канал банник с намотанной на него ветошью, пропитанной в бензине-растворителе;
- навинтить казенник и влить в канал трубы с дульной части раствор РЧС (Нефрас-С 50/170, бензин-растворитель), ввести в канал трубы щетку банника. Протирать канал по участкам короткими размахами банником вперед и назад (участки длиной около 1 м), делая 15–20 движений, последовательно передвигая банник к казеннику и меняя раствор не менее двух-трех раз.
По окончании промывки канала трубы необходимо:
- свинтить казенник и удалить из канала остатки жидкости;
- протереть насухо канал чистой ветошью, намотанной на щетку банника так, чтобы образовался конус; намотанную ветошь закрепить ниткой или тесьмой;
- осмотреть канал трубы; при обнаружении на отдельных участках нагара продолжить чистку этих участков. На контрольной белой ветоши не должно быть темных полос, следов смазки, ржавчины, порохового нагара, надрывов, указывающих на наличие в канале грубы задирин и заусенцев;
- смазать канал слоем смазки ГОИ-54п;
- резьбовую поверхность казенной части трубы смазать смазкой ВНИИ НП-232.
Чистка и смазывание казенника
Перед свинчиванием казенника с трубой производится чистка и смазывание корпуса казенника и деталей СПМ.
Для удаления порохового нагара, старой смазки, грязи все резьбовые поверхности, кольцевые канавки, водило, пружину, плитку, боек смазать смазкой НТ 5/5-3 и после размягчения нагара тщательно протереть насухо смазанные места ветошью.
Внимание! Запрещается соскабливать нагар и следы с поверхностей металлическими предметами.
После чистки смазать посадочные и неокрашенные поверхности деталей смазкой ВНИИ НП-232 и произвести сборку казенника. Смазать шаровую пяту казенника смазкой Г'ОИ-54п.
Чистка и смазывание лафета-двуноги, опорной плиты
Наружную поверхность лафета-двуноги, опорной плиты очистить от пыли, грязи и старой смазки чистой ветошью и насухо протереть. При сильном загрязнении наружной поверхности грязь с лафета-двуноги удалить палочками, плиту обмыть водой, углубления очистить ветошью, намотанной на заостренные концы палочек.
Для чистки и смазывания механизмы наведения, хомут с амортизаторами не разбирать. Разборку их в процессе чистки и смазывания производить только при неисправном действии, тугом ходе механизмов или при обнаружении ржавчины во внутренних частях механизмов.
После чистки смазать все механизмы, трущиеся и неокрашенные поверхности, а также поверхности, с которых стерлась краска; шаровую поверхность подпятника плиты смазать смазкой ГОИ 54п.
Чистка и смазывание изделия МПМ-44М
После работы изделие МПМ-44М тщательно протереть чистой, мягкой ветошью, стекла протирать кругообразными движениями чистым и мягким материалом без следов нагара и смазки.
После чистки на изделии поставить нулевые установки и уложить изделие в ящик.
Разбирать изделие запрещается. Не допускаются резкие сотрясения, падения изделия и удары по нему.
Все поверхности инструмента и принадлежностей очистить от пыли и грязи. Металлические части смазать. Промокшие чехлы и вьюки просушить.
Перечень смазок, применяемых в миномете, указан в табл 9.
7.10. Консервация и расконсервация
Для консервации и упаковки миномета разобрать его на составные части: трубу, лафет-двуногу, опорную плиту, предохранитель и изделие МПМ-44М.
Перед консервацией сборочные единицы вычистить и смазать в соответствии с подразд. 7.9 и табл. 9 настоящей Инструкции по эксплуатации.
После смазки обернуть парафинированной бумагой БП-6 ГОСТ 9569-79 и обвязать шпагатом ГОСТ 17308-71 смазанные поверхности сборочных единиц, на трубу надеть дульный чехол, обернуть в пергаментную бумагу ГОСТ 2995-73 детали ЗИП, уложить составные части миномета в ящик. В законсервированном виде минометы хранятся в штатной укупорке.
Расконсервация деталей и узлов миномета производится в следующем порядке:
- снять смазку с наружных поверхностей деталей и сборочных единиц ветошью, пропитанной в бензине-растворителе;
- свинтить казенник с трубы;
- произвести чистку казенника и канала трубы в соответствии с подразд. 7.9 настоящей Инструкции по эксплуатации.
8. ПРАВИЛА ХРАНЕНИЯ
Предусмотрены два вида хранения: кратковременное продолжительностью до одного года; длительное продолжительностью более одного года.
При казарменном расположении миномет хранить в закрытом сухом помещении в разобранном на составные части виде (с пристегнутыми вьюками в пирамидах или на стеллажах, которые должны возвышаться над полом не менее чем на 15–20 см) или в собранном виде. В парках и лагерных условиях миномет хранить в собранном виде, вьюки - в закрытых помещениях.
При кратковременном хранении в полевых условиях на дульную часть надеть чехол, снять изделие МПМ-44М и уложить в ящик.

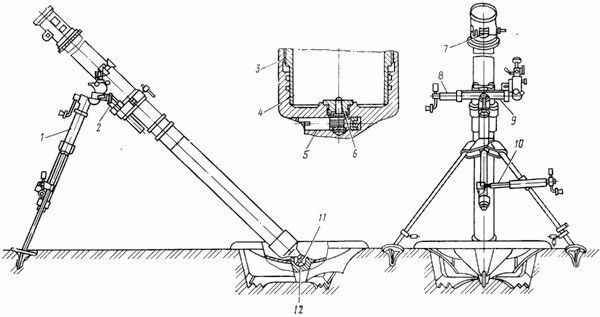
Рис. 27. Места смазывания миномета (см. табл. 9)
Таблица 9
| Поверхность | Позиция на рис. 27 | Смазка и номера стандарта и ТУ | Способ нанесения смазки | Периодичность нанесения и замены смазки | Примечание | |||
|---|---|---|---|---|---|---|---|---|
| при эксплуатации и для кратковременного пользования | дублирующая | для длительного хранения | дублирующая | |||||
| Резьба корпуса казенника и трубы | 2 | Смазка ВНИИ НП-232 ГОСТ 14068-79 | Отсутствует | Смазка ГОИ-54п ГОСТ 3276-74 | Смазка ЦИАТИМ-201 ГОСТ 6267-74, смазка МЗ ТУ 38.001263-76 | Промасленной ветошью | Перед навинчиванием казенника на трубу | |
| Детали СПМ | 5, 6 | |||||||
| Канал трубы | 4 | ГОИ-54п ГОСТ 3276-74 | Смазка ЦИАТИМ-201 ГОСТ 6267-74, смазка МЗ ТУ 38.001263-76 | Смазка ГОИ-54п ГОСТ 3276-74 | Смазка ЦИАТИМ-201 ГОСТ 6267-74, смазка М3 ТУ 38.001263-76 | Щеткой банника с ветошью | После каждой чистки, стрельбы, учения и марша | |
| Пята казенника | 11 | То же | То же | Смазка пушечная ГОСТ 19537-83 | Солидол С ГОСТ 4366-76 | Промасленной ветошью | Перед соединением трубы с плитой | |
| Сферическая поверхность подпятника плиты | 12 | |||||||
| Штоки амортизаторов | 2 | Смазка ГОИ-54п НТ 5/5-3 ГОСТ:3276-74 | Смазка ЦИАТИМ-201 ГОСТ 6267-74, МЗ ТУ 38.001263-76 | Смазка пушечная ГОСТ 19537-83 | Солидол С ГОСТ 4366-76 | Промасленной ветошью | ||
| Поверхности | 1, 8, 9, 10 | То же | То же | Смазка ГОИ-54п ГОСТ 3276-74 | Смазка ЦИАТИМ-201 ГОСТ 6267-74, смазка МЗ ТУ 38.001263-76 | То же | ||
| Гнездо под изделие МПМ-44М | ||||||||
| Детали предохранителя | 7 | |||||||
| Подъемный механизм, поворотный механизм, механизм горизонтирования, амортизаторы | Смазка ГОИ-54п ГОСТ 3276-74 | Смазка ЦИАТИМ-201 ГОСТ 6267-74, смазка МЗ ТУ 38.001263-76 | Смазка ГОИ-54п ГОСТ 3276-74 | Смазка ЦИАТИМ-201 ГОСТ 6267-74, смазка МЗ ТУ 38.001263-76 | Заполнением корпуса | При ТО-2 | При ТО-1 смазать наружную поверхность трубы | |
Оптические приборы хранить в штатных футлярах на стеллажах.
Запрещается ставить на хранение неисправный и неукомплектованный миномет, а также миномет, на котором не выполнен полный объем работ по техническому обслуживанию и консервации.
В хранилищах миномет размещается так, чтобы наилучшим образом были использованы площадь и объем помещения, естественное освещение и обеспечивалась соблюдение мер пожарной безопасности; при этом учитывается возможность проведения отдельных видов технического обслуживания, а также эвакуации.
Под навесами минометы размещаются так же, как и в хранилищах, но при этом принимаются меры для предохранения минометов от атмосферных осадков.
Миномет перед постановкой на кратковременное хранение подвергается техническому обслуживанию ТО-1, если по срокам не предусматривается техническое обслуживание ТО-2, с обязательным проведением дополнительных работ по защите от коррозии неокрашенных поверхностей, а также по предохранению их от непосредственного воздействия окружающей среды.
Перед постановкой на длительное хранение миномет подвергается техническому обслуживанию ТО-2.
Техническое обслуживание миномета, находящегося на хранении проводится в соответствии с подразд. 7.7.
9. ТРАНСПОРТИРОВАНИЕ
Минометы могут транспортироваться любым видом транспорта.
Транспортирование миномета производится в ящике 2Б14-1.13 Сп, транспортирование одиночного комплекта ЗИП - в ящике 2Б14-1.14 Сп. Для транспортирования группового комплекта ЗИП используется ящик 2Б14-1.41 Сп.
В боевой обстановке, на тактических учениях минометы и боеприпасы к ним переносятся расчетом или перевозятся на лошадях, бронетранспортерах, автомобилях.
Миномет перевозится на бронетранспортере (автомобиле) в штатной укупорке.
В кузове автомобиля ящики раскрепляются деревянными брусьями для предотвращения перемещений и прикрепляются к бортам проволочными растяжками.
Перевозка миномета в БМП-2 без штатной укупорки совместно с расчетом может быть осуществлена только при наличии специальных устройств, обеспечивающих жесткое крепление основных узлов миномета в отсеке БМП. Во всех случаях перевозки изделия МПМ-44М должно находиться у наводчика. Мины укладываются на автотранспорт в укупорочных (парковых) ящиках.
При укладке мин на бронетранспортер (автомобиль) необходимо раскрепить ящики с минами до неподвижности.