
Рис. 16. Отделение выбрасывателя от остова затвора
9. Порядок сборки карабина после полной разборки:
1) Присоединить к остову затвора выбрасыватель и ударник. Вложить в канал выбрасывателя пружину выбрасывателя; вложить выбрасыватель с пружиной в гнездо для выбрасывателя на остове затвора, для чего нажать спереди на выбрасыватель и дослать его на свое место.
Вставить ударник в канал остова затвора так, чтобы вырез в ударнике совпал с отверстием для шпильки, закрепить ударник шпилькой.
Примечание. В затворах первого выпуска сначала надеть на ударник его пружину и присоединить ударник, затем вставать выбрасыватель с его пружиной.
2) Собрать возвратный механизм. Вставить направляющий стержень в направляющую трубку; надеть направляющую трубку на головку шомпола и поставить его отвесно на стол; надеть возвратную пружину, сжать ее и надеть муфту. Извлечь шомпол из направляющей трубки (в карабинах первого выпуска муфту надевать цилиндрическим выступом к пружине).
3) Собрать ударно-спусковой механизм. Присоединить курок, для чего надеть боевую пружину па стержень, а на курок - корпус пенала, ввести конец стержня в кольцеобразные муфты и, пожимая на курок с помощью корпуса пенала, сжать боевую пружину и завести цапфы курка в вырезы стойки спусковой скобы.
4) Присоединить ствол со ствольной коробкой к ложе. Поставить штык в боевое положение; взять в левую руку ложу, в правую - ствол со ствольной коробкой, направить кольцо цевья в вырез цевья и вложить ствол со ствольной коробкой в желоб ложи; поставить штык в походное положение.
5) Присоединить магазин. Положить карабин на левую руку прицелом вниз. Ввести магазин передней частью в окно ложи до соприкосновения со стволом, затем продвинуть по стволу до упора выступа магазина в зацеп и опустить заднюю часть магазина на ствольную коробку.
6) Присоединить ударно-спусковой механизм. Взвести курок на боевой взвод и поставить на предохранитель; положить карабин на левую руку прицелом вниз; вставить концы шпильки в вырезы передней стойки ствольной коробки и подать ударно-спусковой механизм вперед и вниз; ладонью правой руки (рис. 17) ударить по спусковой скобе так, чтобы защелка спусковой скобы вошла в ее отверстие. После присоединения ударно-спускового механизма снять карабин с предохранителя и проверить, надежно ли удерживается ударно-спусковой механизм защелкой спусковой скобы. Поставить карабин на предохранитель.

Рис. 17. Присоединение ударно-спускового механизма
Нельзя присоединять ударно-спусковой механизм, если флажок предохранителя находится в нижнем положении.
7) Вставить толкатель с пружиной. Повернуть флажок замыкателя газовой трубки вверх; надеть пружину на толкатель; вставить толкатель с пружиной в канал колодки прицела; указательным пальцем левой руки утопить толкатель, а правой рукой повернуть флажок замыкателя газовой трубки вниз до входа ограничителя в верхнюю кромку паза.
8) Дальнейшую сборку производить, руководствуясь ст. 7.
Глава III
НАЗНАЧЕНИЕ, УСТРОЙСТВО ЧАСТЕЙ И МЕХАНИЗМОВ КАРАБИНА, ПРИНАДЛЕЖНОСТИ И ПАТРОНОВ
Назначение, устройство частей и механизмов карабина
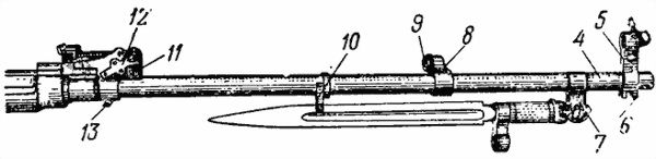
10. Ствол (рис. 18) служит для направления полета пули. Внутри он имеет канал с четырьмя нарезами, вьющимися слева вверх направо. Нарезы служат для предания пуле вращательного движения. Промежутки между нарезами называются полями. Расстояние между двумя противоположными полями (по диаметру) называется калибром канала ствола. У карабина он равен 7,62 мм. В казенной части (рис. 18, а) канал гладкий и сделан по форме гильзы. Эта часть канала ствола служит для помещения патрона и называется патронником. Переход от патронника к нарезной части канала ствола называется пульным входом.

а

б
Рис. 18. Ствол:
а - казенная часть в разрезе; б - наружный вид; 1 - нарезная часть; 2 - патронник; 3 - пульный вход; 4 - трубка ствола; 5 - верхняя стойка; 6 - упор для головки шомпола; 7 - нижняя стойка; 8 - газовая камера; 9 - патрубок газовой камеры; 10 - кольцо цевья; 11 - колодка прицела; 12 - замыкатель газовой трубки; 13 - зацеп для магазина
В стенке ствола имеется отверстие для отвода части пороховых газов в газовую камеру. Па казенном срезе ствола сделан вырез для зацепа выбрасывателя.
На стволе (рис. 18, б) наглухо закреплены:
- трубка ствола, которая имеет верхнюю стойку для крепления мушки и нижнюю стойку для крепления штыка; верхняя стойка имеет упор для головки шомпола, а нижняя - отверстие для шомпола;
- газовая камера для направления пороховых газов из отверстия ствола на газовый поршень, для этого она имеет наклонное отверстие, которое совмещено с отверстием в стенке ствола, и патрубок, слева на газовой камере антабка для ремня;
- кольцо цевья для соединения ложи со стволом, в кольце цевья имеются отверстие для шомпола и вырез для лезвия штыка,
- колодка прицела, которая имеет замыкатель газовой трубки, сквозной канал для толкателя с пружиной, зацеп для магазина.
Ствол посредством резьбы соединен со ствольной коробкой и от нее не отделяется.
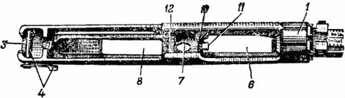
11. Ствольная коробка (рис. 19) служит для соединения частей и механизмов карабина, для обеспечения закрывания канала ствола затвором и запирания затвора.

а

б
Рис. 19.Ствольная коробка:
а - вид сбоку; б - вид сверху, 1 - трубка для толкателя; 2 - вырез для выбрасывания гильз; 3 - вырез для выступа крышки ствольной коробки; 4 - чека с флажком; 5 - стойки для крепления ударно-спускового механизма; б - окно для подачи патронов; 7 - отверстие для рычага автоспуска; 8 - окно для головки курка; 9 - направляющие выступы; 10 - отражатель; 11 - останов затвора; 12 - боевой упор; 13 - защелка спусковой скобы
Ствольная коробка имеет:
- сверху в передней части - трубку для толкателя; с правой стороны вырез для выбрасывания гильзы, сзади - вырез для выступа крышки ствольной коробки и чеку с флажком;
- снизу - две стойки (передняя с вырезами и задняя с защелкой) для крепления ударно-спускового механизма; окно для подачи патронов из магазина; отверстие для рычага автоспуска; окно для головки курка;
- внутри - направляющие выступы для движения затвора; отражатель для отражения гильзы (патронов); останов затвора с пружиной для удержания затвора в открытом положении; боевой упор для запирания затвора;
- на правой стенке сзади - фиксирующий выем для флажка чеки;
- на левой стенке - номер карабина и риску, показывающую соединение ствола со ствольной коробкой.
Сверху ствольная коробка закрывается крышкой.

Рис. 20. Прицел:
1 - колодка прицела; 2 - прицельная планка; 3 - хомутик; 4 - защелка; 5 - сектор; 6 - гривка с прорезью
12. Прицельное приспособление служит для наводки карабина при стрельбе по целям на различные расстояния. Оно состоит из прицела и мушки.
Прицел (рис. 20) состоит из колодки прицела с пластинчатой пружиной, прицельной планки и хомутика с защелками и пружинами.
Колодка прицела имеет два сектора для придания прицельной планке определенной высоты и отверстия для крепления прицельной планки. В колонке прицела закреплена пластинчатая пружина для удержания прицельной планки в приданном положении.
Прицельная планка имеет гривку с прорезью для прицеливания и вырезы для защелок хомутика. На планке нанесена шкала с делениями от 1 до 10 и буквой "П" Цифры обозначают дальности стрельбы в сотнях метров; "П" обозначает постоянную установку прицела, соответствующую прицелу 3.