Карта геноцида армян

Основные маршруты депортации армян во время геноцида

Действовавшие в 1915 году железные дороги

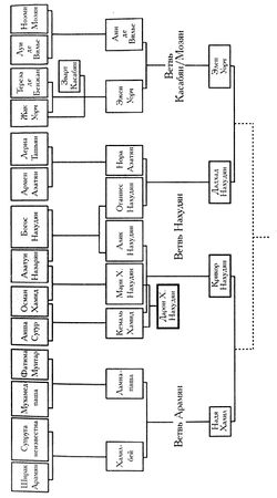
Ветвь Арамян


Ширак Арамян (1850–1896) - армянин, христианин. Родом из г. Ван (армянская Турция). Армянский лидер. Отец Халил-бея. Убит в одном из рейдов османской армии.
Халил-бей (примерно 1892–1950) - армянин, обращен в ислам. Родом из г. Ван (армянская Турция). Сын Ширака Арамяна. Захвачен в одном из рейдов османской армии. Воспитывался во дворце Долмабахче (Константинополь). Офицер османской армии. Женат на Ламии-паше. Отец Нади Халил. Умер в Константинополе в 1950 году.
Мухамед-паша (1855–1915) - турок, мусульманин. Родился в Константинополе в зажиточной семье. Учился в Париже по специальности инженер железных дорог. Был назначен генеральным директором Османских железных дорог. Женат на Фатиме Мунтар. Супруги имели одну дочь Ламию-паша, которая вышла замуж за Халил-бея. Покончил жизнь самоубийством в 1915 году в Багдаде.
Фатима Мунтар (1870–1915) - турчанка, мусульманка. Родилась в Измире (Смирна) в зажиточной семье, хозяйка судоходной компании "Мунтар и Гурум". Вышла замуж за Мухаммед-пашу. Имела единственную дочь Ламию-паша. Умерла от аппендицита в г. Алеппо.
Ламия-паша (Константинополь, 1898–1945) - турчанка, мусульманка. Дочь Мухаммед-паши и Фатимы Мунтар. Вышла замуж за Халил-бея, имела единственную дочь Надю Халил.
Надя Халил - (Стамбул, 1932 г. р.) - турчанка, мусульманка. Дочь Халил-бея и Ламии-паши. Вышла замуж за Крикора Хамида Нахудяна, от этого брака родила Лайлу X. Халил. Преподаватель истории искусства в университете Дамаска.
Лайла X. Халил (Стамбул, 1966 г. р.) - турчанка, мусульманка. Дочь Крикора X. Нахудяна и Нади Халил. Получила высшее медицинское образование в Великобритании.
Ветвь Нахудян

Богос Нахудян (Трапезунд, 1870–1915) - армянин, христианин. Сын Атома Нахудяна. Женат на Азатуи Назарян, от брака имел двоих детей - Алик и Оганнеса. Удочерил Мари - дочь от первого брака супруги. Коммерсант, убит во время геноцида.
Азатуи Назарян (Урфа, 1876 - Трапезунд, 1915) - христианка, армянка. Имела дочь Мари, зачатую в результате изнасилования Османом Хамидом. Впоследствии вышла замуж за Богоса Нахудяна, от этого брака имела двух детей - Алик и Оганнеса. Умерла от сердечного приступа.
Осман Хамид (Диарбекир, 1856 - Константинополь, 1920) - мусульманин, турок. Мутесариф г. Урфа. Соучаствовал в геноциде. Изнасиловал Азатуи Назарян и зачал Мари X. Нахудян. Умер предположительно в результате самоубийства в военной тюрьме Константинополя.
Аиша Сугур (Диарбекир, 1872 - Урфа, 1895) - мусульманка, турчанка. Супруга Османа Хамида. Имела сына Кемаля Хамида.
Кемаль Хамид (Диарбекир, 1891 - Берлин, 1920) - мусульманин, турок. Сын Османа Хамида и Аиши Сугур. Офицер турецкой армии. Соучаствовал в геноциде. Похитил и изнасиловал Мари Нахудян, от которой имел сына Дарона Нахудяна. Впоследствии похитил и изнасиловал сводную сестру Мари Алик Нахудян, от которой имел сына Крикора Х. Нахудяна. Умер в Берлине при странных обстоятельствах.
Мари X. Нахудян (Урфа, 1896 - Стамбул, 1965) - христианка, армянка. Дочь Азатуи Назарян, родившей от изнасиловавшего ее Османа Хамида. Была похищена Османом Хамидом, который передал ее своему сыну Кемалю Хамиду. Он изнасиловал Мари Нахудян и имел от нее сына Дарона X. Нахудяна.
Алик Нахудян (Трапезунд, 1901 - Париж, 1988) - дочь Богоса Нахудяна и Азатуи Назарян. Была похищена и изнасилована Кемалем Хамидом, от которого родила Крикора X. Нахудяна.
Оганнес Нахудян (Трапезунд, 1897 - Каир, 1972) - христианин, армянин. Сын Богоса Нахудяна и Азатуи Назарян. Женился на Норе Азатян, с которой имел единственного сына Дадхада Нахудяна.
Армен Азатян (Эрзерум, 1867–1915) - христианин, армянин. Женился на Лерне Ташьян. От этого брака имел дочь Нору Азатян (1900 г.). Убит во время геноцида.
Лерна Ташьян (Алеппо 1878, - Эрзерум, 1915) - христианка, армянка. Вышла замуж за Армена Азатяна, имела от него дочь Нору Азатян (род. 1900 г.). Убита во время геноцида.
Нора Азатян (Эрзерум, 1900 - Каир, 1988) - христианка, армянка. Дочь Армена Азатяна и Лерны Ташьян. Учительница начальных классов. Вышла замуж за Оганнеса Нахудяна, от которого имела одного сына Дадхада Нахудяна.
Дадхад Нахудян (Каир, 1930 - Париж, 1992) - христианин, армянин. Сын Оганнеса Нахудяцд и Норы Азатян. Преподавал современную историю в университетах Нью-Йорка и Сорбонны. Женился на Элен Уорч. У супругов родился единственный сын Арам Нахудян.
Крикор Нахудян (Берлин, 1920 - Дюссельдорф, 1966) - агностик. Сын Алик Нахудян и Кемаль Хамида. Офицер немецкой армии. Член нацистской партии. Женат на Наде Халил. От брака родилась Лейла X. Халил (1966 г.), Покончил жизнь самоубийством в психиатрической больнице в Дюссельдорфе.
Дарон X. Нахудян (Трапезунд, 1917 - Стамбул, 1997) - сын Мари X. Нахудян и Кемаль Хамида. Составитель "Армянского древа".
Ветвь Касабян/Мозян

Жак Уорч (Париж, 1858–1945) - католик, француз. Высокопоставленный чиновник Банка Франции. Вступил в брак с Терезой де Бенжан. У супругов в 1886 году родился сын Эжен Уорч. После смерти Терезы Жак сошелся с Зварт Касабян.
Зварт Касабян (Смирна, 1872 - Париж, 1960) - христианка армянка. Преподаватель танцев. Вышла замуж за Жака Уорча в 1915 г.
Эжен Уорч (Париж, 1886–1960) - католик, француз. Врач психиатр. Женился на Анн де Вийе в 1928 году. От этого брака в 1930 году родилась Элен Уорч.
Элен Уорч (Париж, 1930) - католичка, француженка. Доктор семитологии. Замужем за Дадхадом Нахудяном. От брака имеет сына Арама Нахудяна.
Луи де Вилье (Париж, 1866–1920) - католик, француз. Женился на армянке Ноэми Мозян. Когда Луи де Вилье был послом Франции в Швейцарии, у супругов родилась дочь Анн де Вилье.
Ноэми Мозян (Константинополь, 1870 - Женева, 1940) - христианка, армянка. Писательница. Вышла замуж за Луи де Вилье. От брака родилась дочь Анн де Вилье.
Лин де Вилье (Женева, 1908 - Пар, 1997) - атеистка, француженка. Автор новелл. Вышла замуж за Эжена Уорча в 1928 году От брака родилась дочь Элен Уорч.
Арам Нахудян (1963 г. р) - атеист, гражданин Соединенных штатов Америки. Дипломат. Сын Дадхада Нахудяна и Элен Уорч.
1
Признание Дарона Нахудяна
Я мог бы сказать, что эта история меня не касается. Что не следует смотреть назад. Что прошлое полно призраков.
Но это было бы неправдой. Может быть, я нахожусь как раз в центре этой истории. Сейчас, когда конец жизни близок, я точно знаю, что я сделал лишь то, что должен был сделать, - помешать тому, чтобы все кануло в небытие. Чтобы ветер не унес листья деревьев. Сейчас они уже сухие, желтые и неживые, но когда-то эти листья делали деревья густыми и привлекательными.
Вы хотите знать, кто я такой? Сейчас представлюсь. Дарон Нахудян. Сын Мари Нахудян и… Кто был моим отцом? Эта ветвь моих предков оказалась гнилой и бесплодной. Не могу не признать и того, что половина моей крови, видимо, тоже такая.
Человека, от которого я был зачат, звали Кемаль Хамид. О нем рассказывается на этих страницах. Он пытается объяснить своими словами и в своем облегченном стиле, почему все это произошло. Почему они вели себя таким образом. Но это все гнусное вранье. Ведь случилось то, что случилось. Даже мою мать он сделал жертвой своей мрачной личности.
Нас хотят убедить в том, что это судьба. Конечно… Нас уверяют, что все, что случилось, было предопределено заранее. Что все произошло так, как должно было произойти. Что ничего нельзя было изменить.