Эта оригинальная машина, естественно, работать не смогла, так как по законам гидравлики направление движения жидкости в сифоне зависит только от высот столбов жидкости и не зависит от их диаметра. Однако во времена Зонки об этом четкого представления у практиков не было, хотя уже в работах Стевина по гидравлике вопрос о давлении в жидкости был решен. Он продемонстрировал (1586 г.) "гидростатический парадокс" - давление в жидкости зависит только от высоты ее столба, а не от ее количества. Широко известным это положение стало позже, когда аналогичные опыты были вновь и более широко поставлены Блезом Паскалем (1623-1662 гг.). Но и они не были поняты многими инженерами и учеными, по-прежнему считавшими, что чем шире сосуд, тем больше давление содержащейся в нем жидкости. Жертвами подобных заблуждений были иногда даже люди, работавшие на самом переднем крае современной им науки и техники. Примером может служить сам Дени Папин (1647-1714 гг.) - изобретатель не только "папинова котла" и предохранительного клапана, но и центробежного насоса, а главное - первых паровых машин с цилиндром и поршнем. Папин даже установил зависимость давления пара от температуры и показал, как получать на ее основе и вакуум, и повышенное давление. Он был учеником Гюйгенса, переписывался с Лейбницем и другими крупными учеными своего времени, состоял членом английского Королевского общества и Академии наук в Неаполе. И вот такой человек, который по праву считается крупным физиком и одним из основоположников современной теплоэнергетики (как создатель парового двигателя), работает и над вечным двигателем! Мало этого, он предлагает такой ppm, ошибочность принципа которого была совершенно очевидна и современной ему науке. Он публикует этот проект в журнале "Философские труды" (Лондон, 1685 г.).

Идея ppm Папина очень проста - это по существу перевернутая "вверх ногами" труба Зонки (рис. 1.26). Поскольку в широкой части сосуда вес воды больше, его сила должна превосходить силу веса узкого столба воды в тонкой трубе С. Поэтому вода будет постоянно сливаться из конца тонкой трубки в широкий сосуд. Остается только подставить под струю водяное колесо и ppm готов!
Очевидно, что на самом деле так не получится; поверхность жидкости в тонкой трубке установится на том же уровне, что и в толстой, как в любых сообщающихся сосудах (как в правой части рис. 1.26).
Судьба этой идеи Папина была той же, что и других вариантов гидравлических ppm. Автор к ней больше никогда не возвращался, занявшись более полезным делом - паровой машиной.
История с изобретением Д. Папином наталкивает на вопрос, постоянно возникающий при изучении истории ppm: чем объяснить поразительную слепоту и странный образ действий многих весьма образованных и, главное, талантливых людей, возникающие каждый раз, как только дело касается изобретения ppm?
Мы вернемся к этому вопросу в дальнейшем. Если же продолжить разговор о Папйне, то непонятно и другое. Мало того, что он не учитывает уже известные законы гидравлики. Ведь в это время он был на должности "временного куратора опытов" при Лондонском королевском обществе. Папин мог при своих экспериментальных навыках легко проверить предложенную им идею ppm (так же, как он проверял другие свои предложения). Такой эксперимент легко поставить за полчаса, даже не располагая возможностями "куратора опытов". Он этого не сделал и почему-то отправил статью в журнал, ничего не проверив. Парадокс: выдающийся ученый-экспериментатор и теоретик публикует проект, противоречащий уже утвердившейся теории и не проверенный экспериментально! Этот пример - не единственный. Далее, вплоть до нашего времени, мы будем встречаться с не менее парадоксальными случаями в том же роде.
В дальнейшем было предложено еще много гидравлических ppm и с другими способами подъема воды, в частности капиллярных и фитильных (что, собственно, одно и то же) [2.4-2.6]. В них предлагалось жидкость (воду или масло) поднимать из нижнего сосуда в верхний по смачиваемому капилляру или фитилю. Действительно, поднять жидкость на определенную высоту таким путем можно, но те же силы поверхностного натяжения, которые обусловили подъем, не дадут жидкости стекать с фитиля (или капилляра) в верхний сосуд.
В заключение этого параграфа рассмотрим еще один, весьма оригинальный ppm, предложенный не менее выдающимся человеком, чем Д. Папин, - математиком Иоганном Бернулли (1667-1748 гг.), одним из трех знаменитых ученых, принадлежавших к этой фамилии.
Идея двигателя основана на использовании явления осмоса. Осмос (по-гречески "толчок, давление") возникает, когда две разные жидкости разделены так называемой полупроницаемой перегородкой. Такие перегородки проницаемы для одного вещества, но непроницаемы для другого. Они известны с очень давних времен. Животный пузырь, например, пропускает воду, но не пропускает соль или сахар.
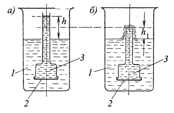
Если собрать устройство, показанное на рис. 1.27,а, и во внутренний сосуд, погруженный в воду, налить раствор, например, соли, то вода будет просачиваться во внутренний сосуд. Уровень в трубке будет повышаться до тех пор, пока давление раствора на дне трубки не станет равным так называемому осмотическому давлению. Это давление, определенное для каждого раствора, препятствует дальнейшему проникновению воды через перегородку; в трубке устанавливается определенный уровень h. В этом и проявляется осмос. Именно он определяет разбухание семян, погруженных в воду, подъем воды из почвы по стволам деревьев и многие другие биологические процессы.

Бернулли считал, что осмотическое давление можно использовать для непрерывного поднятия воды с нижнего уровня на верхний. Он основывался на своей теории происхождения речной воды из морской. По его мнению, соленая морская вода, проходя через слои земли, пропускающие воду (но не пропускающие соль), превращается в пресную, поднимается наверх и снова стекает в море в виде рек. Такая постоянная циркуляция воды представляла собой явный perpetuum mobile naturae, поэтому совершенно естественна была мысль создать соответствующий ppm artificae.
Таким образом, говоря современным языком, Бернулли считал верхний слой земли полупроницаемой перегородкой; но даже если бы он обладал этим свойством, то пресная вода просачивалась бы в море, а не наоборот. (Морская вода, как известно, опресняется путем испарения и попадает в реки через атмосферу в виде осадков.)
Легко показать, что осмотическое давление нельзя использовать для подъема воды в гидравлическом ppm. Сделаем так, как предлагал Бернулли: срежем трубку внутреннего сосуда на высоте h1 < h (т. е. ниже того уровня h, который обеспечивается осмотическим давлением). Тогда вода действительно будет стекать с верхнего уровня на нижний (рис. 1.26,6).
Казалось бы, цель достигнута - вода будет вытекать вечно. Но радоваться рано - струя стекающей жидкости постепенно уменьшается и через некоторое время иссякает совсем. Объясняется это очень просто - ведь сливается не чистая вода, а раствор соли!
Постепенно во внутреннем сосуде раствор будет разбавляться поступающей через перегородку чистой водой, а во внешнем - засоляться. Когда концентрации раствора с обеих сторон перегородки сравняются, вся система придет в равновесие и процесс прекратится; соляной раствор станет такой же "мертвой водой", как та, о которой писал Леонардо да Винчи. Чтобы возобновился процесс осмоса, нужно раствор во внутреннем сосуде все время солить, а во внешнем, напротив, опреснять. Но тогда это уже будет не ppm, а своеобразный "солевой двигатель", который постоянно надо питать солью и пресной водой (так же, как тепловой двигатель топливом и воздухом).
Мы кратко рассмотрели историческую обстановку, определившую название и развитие идеи ppm, основные виды вечных двигателей, а также дискуссию между их сторонниками и противниками. Все это относится к тому периоду, когда представление об энергии и ее сохранении или вообще отсутствовало, или только формировалось применительно к механике. Однако это рассмотрение будет незавершенным, если в нем не отразить историю вечного двигателя Эрнста Бесслера (Орфиреуса) и связанные с ней события. Она происходила в первой половине XVIII в. и завершает, по существу, первый период истории ppm. В ней, как в зеркале, отразились технические, научные и даже психологические аспекты истории ppm; многие из них сохранили значение и до нашего времени.