Фиксирующие приспособления
Фиксирующие приспособления: хомуты, клинья, зажимы-струбцины, ваймы, прессы, тиски.
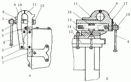
Тиски могут быть параллельными и стуловыми. И те и другие состоят из подвижной и неподвижной губок и рычагов для вращения винтов. Тиски закрепляют на верстаке (рис. 24).

Рис. 24. Тиски: а – стуловые; б – параллельные: 1 – лапа для крепления тисков к верстаку; 2 – боковина; 3 – пружина; 4 – рычаг; 5 – планка для крепления тисков к верстаку; 6 – шайба; 7, 18 – стяжной и червячные винты; 8, 10 – козырьки; 9 – подвижная губка; 11 – неподвижная губка; 12 – втулка; 13 – верстак; 14 – нижняя плита; 15 – поворотный круг; 16 – гайка; 17 – крышка.
Зажимы необходимы при склеивании, стягивании и креплении деталей. Это достаточно большая группа приспособлений, которые используют в столярных и плотничных работах. В качестве зажимов могут выступать струбцины (рис. 25).

Рис. 25. Струбцины.
Их металлическая конструкция не всегда пригодна для крепления деталей, так как зачастую оставляет следы на поверхности. Чтобы этого не происходило, используют куски резины, веревки или деревянные бруски.
Для обработки мелких деталей из дерева, например при выпиливании миниатюрных изделий, понадобится столик-станок (рис. 26).

Рис. 26. Столик-станок.
Его можно сделать из куска толстой доски или фанеры толщиной 12 мм, в которой выдалбливается сквозное отверстие и небольшая выемка, позволяющая струбцине не выступать на поверхности стола при закреплении столика-станка на рабочем столе. С другой стороны куска дерева выпиливают треугольную выемку, заканчивающуюся небольшой окружностью. Внешне столик напоминает обычную прищепку для белья.
Рубящий инструмент
Топор в плотничном деле просто незаменим. Вспомните, какие чудеса творили старые мастера, используя только топор. Он намного проще молотка, но и здесь есть свои разновидности. Все зависит от угла расположения топорища. Зачастую лезвие затачивают с обеих сторон, это позволяет использовать его сразу для двух видов работ: рубки и тесания. Заточенный только с одной стороны топор используют для тесания древесины.
Прямой топор используют для колки древесины (рис. 27).

Рис. 27. Прямой топор.
Рабочая часть относительно рукоятки расположена под углом 90°.
Остроугловой топор предназначен для первичной обработки древесины: удаления коры и выступающих сучков на стволе. Рабочая часть этого типа топора относительно рукоятки расположена под углом – 80–85°.
Тупоугловой топор имеет свои особенности. Его топорище расположено относительно рукоятки под углом 100° или чуть меньше. Такой топор используют для наиболее грубых работ, например для обработки целых бревен и рубки крупных деревянных массивов.
Пилящий инструмент
Что такое пила, известно всем. И тем не менее стоит сказать несколько слов о том, какие бывают пилы. Пила представляет собой металлическую ленту или металлический диск с нарезанными зубьями-резцами. Шагом пилы называют расстояние между вершинами двух соседних зубцов, расстояние между вершиной зубца и его основанием называют высотой зубца. Для удаления образующихся во время пиления опилок на полотне предусмотрены впадины, которые называют пазухами. Каждый зубец имеет три режущие кромки – одну переднюю (короткую) и две боковые.
Зубья пил для продольной распиловки короткой режущей кромкой перерезают волокна, а боковыми разделяют волокна между собой по их направлению. Зубья этих пил имеют прямую заточку, могут пилить только в одну сторону и по форме напоминают треугольник.
Зубья пилы для поперечной распиловки короткой режущей кромкой разделяют волокна, а боковыми перерезают их. Зубья, напоминающие по форме равнобедренный треугольник, имеют двустороннюю заточку, поэтому ими можно пилить в обе стороны (рис. 28).

Рис. 28. Зубья пилы: а – для продольной распиловки; в – для поперечной распиловки.
Ножовка тоже может помочь при работе с древесиной. От толщины полотна и разводки зубьев ножовки зависит качество отпиленной поверхности. При выполнении разных видов работ используют различные типы ножовок: с толстым или тонким полотном, с крупными или мелкими зубьями (рис. 29).

Рис. 29. Виды ножовок: а – поперечная широкая; б – узкая; в – с обушком; г – ножовка-наградка; д – двуручная поперечная пила.
Для столярных работ больше подходит ножовка с "мышиным зубом" – мелким и частым, а для плотничных – ножовка с редким и крупным зубом.
Широкая ножовка используется при распиле древесины поперек волокон. Зубья такой ножовки заточены под углом 45°, а разведены по 0,5 мм от центральной оси, широкая ножовка применяется для поперечного раскроя досок и брусков (рис. 29, а).
Поперечная двуручная пила используется для поперечного распиливания круглого леса, брусьев, толстых досок (рис. 29, д). Узкая ножовка используется преимущественно для распила тонких досок и сквозных пропилов, а также для криволинейной распиловки деталей. Размер разводки и способ заточки зубьев у такой ножовки ничем не отличается от затачивания широкой ножовки (рис. 29, б).
Ножовку с обушком используют при выпиливании небольших деталей и при подгонке соединений. Особенность этой ножовки состоит в том, что полотно по всей длине укреплено дощечкой. Тонкое полотно этой ножовки не способно самостоятельно удерживать направление распила и зачастую ломается при работе (рис. 29, в).
Ножовка-наградка используется для пропиливания пазов (рис. 29, г).
Лобзик применяют для выпиливания тонких деталей, имеющих криволинейные формы (рис. 30).

Рис. 30. Лобзик.
Лучковую пилу применяют для распиливания древесных материалов. Пильное полотно этого инструмента с двух концов закреплено в станке (лучке) и натянуто, благодаря чему оно длиннее и тоньше, чем у ножовки. В процессе эксплуатации лучковой пилы ее полотно не гнется, пропил получается тоньше и чище, а следовательно, точнее будет размер заготовки. Эта пила позволяет совершать движения на полный размах руки, что намного сокращает затраты времени (рис. 31).

Рис. 31. Лучковая пила: 1 – пильное полотно; 2 – ручка; 3 – стойка; 4 – распорка; 5 – тетива; 6 – закрутка.
Электропилы
Электропилы служат для поперечного и продольного распиливания материалов, например досок и брусков. Кроме этого, ими можно производить пиление под определенным углом (рис. 32).