Кроме футлярного строения фасций, в последнее время возникло представление о фасциальных узлах, которые выполняют опорную и отграничительную роль. Опорная роль выражается в связи фасциальных узлов с костью или надкостницей, благодаря чему фасции способствуют тяге мышц. Фасциальные узлы укрепляют влагалища сосудов и нервов, желез и пр., способствуя крово- и лимфотоку.
Ограничительная роль проявляется в том, что фасциальные узлы отграничивают одни фасциальные футляры от других и задерживают продвижение гноя, который беспрепятственно распространяется при разрушении фасциальных узлов.
Окружая мышцы и отделяя их друг от друга, фасции способствуют их изолированному сокращению. Таким образом, фасции и отделяют, и соединяют мышцы.
Глубокие фасции, образующие покровы органов, в частности собственные фасции мышц, фиксируются на скелете межмышечными перегородками или фасциальными узлами. С участием этих фасций строятся влагалища сосудисто-нервных пучков. Указанные образования, как бы продолжая скелет, служат опорой для органов, мышц, сосудов, нервов и являются промежуточным звеном между клетчаткой и апоневрозами, поэтому можно рассматривать их в качестве мягкого остова человеческого тела.
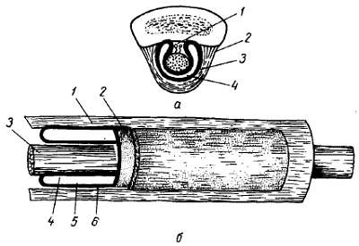
В области некоторых суставов конечностей фасция утолщается, образуя удерживатель сухожилий (retináculum) состоящий из плотных волокон, перекидывающихся через проходящие здесь сухожилия. Под этими фасциальными связками образуются фиброзные и костно-фиброзные каналы, vaginae fibrósae téndinum, через которые проходят сухожилия. Как связки, так и находящиеся под ними фиброзные влагалища удерживают сухожилия в их положении, не давая им отходить от костей, а кроме того, устраняя боковые смещения сухожилий, они способствуют более точному направлению мышечной тяги. Скольжение сухожилий в фиброзных влагалищах облегчается тем, что стенки последних выстланы тонкой синовиальной оболочкой, которая в области концов канала заворачивается на сухожилие, образуя кругом него замкнутое синовиальное влагалище, vagina synoviális téndinis, часть синовиальной оболочки окружает сухожилие и срастается с ним, образуя висцеральный листок ее, а другая часть выстилает изнутри фиброзное влагалище и срастается с его стенкой, образуя пристеночный, париетальный, листок. На месте перехода висцерального листка в париетальный около сухожилия получается удвоение синовиальной оболочки, называемое брыжейкой сухожилия, mesotendineum (рис. 69).

Рис. 69.Схема синовиального влагалища сухожилия.
а - поперечный разрез: 1 - mesotendineum; 2 - vag. fibrosa; 3 - париетальный листок синовиального влагалища; 4 - висцеральный листок синовиального влагалища;
б - продольный разрез: 1 - vagfibrosa tendinis; 2 - vag. synovialis tendinis; 3 - tendo; 4 - висцеральный листок синовиального влагалища; 5 - полость синовиального влагалища; 6 - париетальный листок синовиального влагалища.
В толще ее идут нервы и сосуды сухожилия, поэтому повреждение mesotendineum и расположенных в ней нервов и сосудов влечет за собой омертвение сухожилия. Брыжейка сухожилия укрепляется тонкими связками - vincula tendinis. В полости синовиального влагалища, между висцеральным и париетальным листками синовиальной оболочки, находится несколько капель жидкости, похожей на синовию, которая служит смазкой, облегчающей скольжение сухожилия при его движении во влагалище.
Такое же значение имеют синовиальные сумки, búrsae synoviáles, располагающиеся в различных местах под мышцами и сухожилиями, главным образом вблизи их прикрепления. Некоторые из них, как было указано в артрологии, соединяются с суставной полостью. В тех местах, где сухожилие мышцы изменяет свое направление, образуется обычно так называемый блок, tróchlea, через который сухожилие перекидывается, как ремень через шкив. Различают костные блоки, когда сухожилие перекидывается через кости, причем поверхность кости выстлана хрящом, а между костью и сухожилием располагаются синовиальная сумка, и блоки фиброзные, образуемые фасциальными связками. К вспомогательному аппарату мышц относятся также сесамовидные кости, óssa sesamoidea.
Они формируются в толще сухожилий в местах прикрепления их к кости, где требуется увеличить плечо мышечной силы и этим увеличить момент ее вращения.
Влияние факторов внешней среды на мускулатуру. Мышца обладает весьма энергичным обменом веществ, который еще более повышается при увеличении работы мышц. При этом к мышце увеличивается приток крови по сосудам. Усиленная функция мускулатуры вызывает улучшение питания и увеличение массы мышцы (так называемую рабочую гипертрофию мышцы). Физические упражнения, связанные с различными видами труда и спорта, вызывают рабочую гипертрофию тех мышц, которые оказываются наиболее нагруженными.
Труд работника-профессионала обусловливает длительное пребывание тела в каком-либо одном положении (например, согнутом при работе у верстака) или постоянное изменение положение тела в одном направлении (например, сгибание и разгибание туловища у плотников). Поэтому специализация вызывает усиленную деятельность не всей мускулатуры, а только определенных ее отделов, в силу чего профессиональная работа является причиной сильного развития одних частей тела и некоторого отставания других. Точно так же некоторые специальные виды спорта развивают только отдельные группы мышц. Значит, гигиена труда и спорта требует универсальной гимнастики, которая способствует гармоничному развитию тела человека.
Правильные физические упражнения вызывают пропорциональное развитие мускулатуры всего тела. Поскольку усиленная работа мышц оказывает влияние на обмен веществ всего организма, постольку физическая культура является одним из мощных факторов благотворного влияния на его развитие.
ЧАСТНАЯ МИОЛОГИЯ
МЫШЦЫ СПИНЫ
Мышцы спины многочисленны: главную часть их образует аутохтонная мускулатура, возникшая из дорсальных отделов миотомов туловища, на которую наслаиваются мышцы, переместившиеся на спину с головы (висцеральные) и с верхней конечности (трункопетальные), вследствие чего они располагаются в два слоя - поверхностный и глубокий.
А. Поверхностные мышцы. 1. Мышцы, прикрепляющиеся на поясе верхней конечности и плече: а) трапециевидная мышца, жаберного происхождения: переместилась на туловище с головы и потому иннервируется XI черепным нервом, n. accéssorius; б) широчайшая мышца спины, трункопетальная: переместилась на туловище с верхней конечности и потому иннервируется из плечевого сплетения; в) m. levátor scápulae и m. rhomboídeus, трункофугальные: переместились с туловища на пояс верхней конечности, иннервируются от коротких ветвей плечевого сплетения.
2. Мышцы, прикрепляющиеся на ребрах: mm. serrátus posterióres supérior et inférior; обе эти мышцы - производные вентральной мускулатуры туловища, сместившиеся кзади. Иннервация их происходит от передних ветвей спинномозговых нервов, nn. intercostáles.
Б. Глубокие мышцы. В процессе филогенеза мышцы, обслуживающие осевой скелет, возникают, как и скелет, первыми, поэтому и в онтогенезе человека они появляются раньше всего и лежат глубже, сохраняя примитивное метамерное строение. По своему происхождению они делятся следующим образом:
1. Аутохтонные мышцы, возникшие из дорсальных отделов миотомов, иннервируемые поэтому задними ветвями спинномозговых нервов.
2. Глубокие мышцы вентрального происхождения, иннервируемые поэтому передними ветвями спинномозговых нервов.
ПОВЕРХНОСТНЫЕ МЫШЦЫ СПИНЫ
I. Мышцы, прикрепляющиеся на поясе верхней конечности и плече, располагаются в два слоя, из которых самый поверхностный состоит из двух широких мышц: трапециевидной и широчайшей мышцы спины.
1. М. trapézius, трапециевидная мышца. Она занимает верхнюю часть спины вплоть до затылка и имеет треугольную форму. Обе трапециевидные мышцы, взятые вместе, образуют фигуру трапеции, отчего и происходит название мышцы. Мышца начинается от остистых отростков всех грудных позвонков, от lig. núchae и от línea núchae supérior затылочной кости. Верхние волокна мышцы спускаются и прикрепляются к акромиальному концу ключицы, средние идут горизонтально к acrómion, а нижние поднимаются вверх и латерально к spina scápulae.
Функция. Верхние волокна мышцы поднимают кверху пояс верхней конечности, причем лопатка поворачивается своим нижним углом в латеральную сторону, как это бывает, например, при поднятии руки выше горизонтальной линии. Нижние волокна опускают лопатку книзу. При сокращении всех волокон мышца тянет пояс верхней конечности кзади и к середине, причем обе лопатки сближаются между собой, если это действие происходит на обеих сторонах. (Инн. n. accessorins XI и СII–IV)