
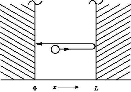
Рис. 8.2. Мяч на идеальной одномерной ракетбольной площадке. Сопротивление воздуха отсутствует, а мяч идеально упруг. Когда мяч ударяется об стену в точке L , он отскакивает, ударяется об стену в точке 0 и продолжает отскакивать взад и вперёд, поскольку площадка идеальна, мяч идеален и нет сопротивления воздуха. Начав так отскакивать, мяч будет бесконечно долго продолжать двигаться туда-обратно
На этой идеальной ракетбольной площадке мяч отскакивает от стен без какой-либо потери энергии; кроме того, нет ни сопротивления воздуха, ни гравитации. Поэтому мяч будет вечно двигаться туда-обратно, отражаясь от стен. Он ударится о стену в точке L , отскочит, столкнётся со стеной в точке 0, снова отскочит и будет продолжать своё движение взад и вперёд. Внутри ящика, поскольку потенциал равен нулю (см. рис. 8.1), никакие силы на мяч не действуют. Поэтому его энергия является чисто кинетической:
E k =½ m ∙ V ,
где m - масса мяча, а V - его скорость. Если мяч испытает слабые внешние воздействия, его скорость станет немного меньше и значение E k тоже немного уменьшится. В этом идеальном ракетболе энергия может меняться непрерывным образом. Значение E k может увеличиваться или уменьшаться произвольным образом в зависимости лишь от силы воздействия на мяч.
Другая важная особенность классического ракетбола - это возможность остановить мяч так, чтобы он неподвижно лежал на полу. В этой ситуации его скорость равна нулю: V =0. А раз V =0, то и E k =0. При V =0 импульс тоже равен нулю, поскольку p = m ∙ V , так что импульс известен нам точно. Если мяч лежит на полу ( V =0), то его положение известно. Если обозначить это положение x (см. рис. 8.2), то значение x будет находиться в интервале от 0 до L . Величина x не может принимать никакие другие значения, поскольку мяч находится на площадке (в ящике) и не может оказаться снаружи из-за идеальных стенок. Мяч можно поместить в определённое положение x на полу площадки, и тогда его положение будет известно точно. Это свойство макроскопической игровой площадки, даже идеальной. Это классическая система, и в ней можно точно и одновременно знать импульс p и положение x .
Площадка для игры в ракетбол имеет длину 12 м , диаметр мяча составляет 5,6 см , а его вес - около 0,04 кг . Очевидно, что игра в ракетбол описывается классической механикой. С помощью света можно следить за отскоками мяча туда-обратно, не влияя на них.
Частица в ящике - квантовый случай
Что изменится, если теперь мы перейдём к рассмотрению квантового ракетбола? Площадка остаётся идеальной, но теперь её длина не 12 м , а 1 нм (10 м ). Кроме того, частица обладает массой электрона, равной 9,1∙10 кг , а не 0,04 кг . Таким образом, это задача о квантовой частице в ящике.
Сразу можно сказать, что наименьшая энергия квантовой частицы в ящике нанометрового размера не может быть нулевой. На классической ракетбольной площадке возможна скорость мяча V , равная нулю, а значит, нулевым может быть и импульс p = m ∙ V . Кроме того, положение мяча x имеет чётко определённое значение. Например, мяч может лежать неподвижно ( V =0) точно посередине площадки, что соответствует x = L /2. В таком случае для нашего классического ракетбольного мяча ∆ p =0 и ∆ x =0. Значение произведения ∆ x ∙∆ p =0 не соответствует принципу неопределённости Гейзенберга, что нормально, поскольку речь идёт о классической системе. Однако абсолютно малая частица в ящике нанометрового размера является квантовым объектом и должна подчиняться принципу неопределённости, утверждающему, что ∆ x ∙∆ p ≥ h /4π. Если V =0 и x = L /2, то мы знаем одновременно x и p , а значит, ∆ x ∙∆ p =0, как в классическом ракетболе. Для квантовой системы это невозможно. Таким образом, V не может быть равно нулю. Частица не может неподвижно пребывать в заданной точке. А если значение V ненулевое, то и значение E k не может быть равно нулю. Принцип неопределённости говорит, что наименьшая энергия нашего квантового ракетбольного мяча не может быть нулевой. Квантовый мяч никогда не пребывает в неподвижности.
Значения энергии квантовой частицы в ящике
Какой энергией может обладать квантовая частица в ящике нанометровых размеров? На этот вопрос можно ответить без сложных расчётов, но сначала нам нужно вновь вернуться к волнам. В главе 6 мы говорили о волновых функциях свободных частиц. Волновая функция свободной частицы с определённым импульсом p - это волна, которая простирается по всему пространству. Таким образом, электрон с идеально определённым импульсом - это делокализованная волна, охватывающая всё пространство. Вероятность обнаружить свободный электрон всюду одинакова. Такой электрон обладает чётко определённой кинетической энергией E k =½ m ∙ V , поскольку имеет чётко определённый импульс p = m ∙ V .
Электрон в нанометровой коробке подобен нашей свободной частице в том, что касается внутренней области коробки, где Q =0. Внутри коробки отсутствует потенциал, а значит, нет и действующих на частицу сил. В этом отношении она очень похожа на свободную частицу, на которую тоже не действуют никакие силы. Однако есть важное различие между частицей в коробке и свободной частицей - это стенки ящика. Электрон в ящике находится только внутри ящика. Идеальный характер ящика не позволяет его волновой функции распространиться на всё пространство. Частица находится внутри ящика и никогда не может оказаться снаружи. Волновая функция задаёт амплитуду вероятности обнаружить частицу в некоторой области пространства. Это борновская интерпретация волновой функции. Если наш электрон может быть обнаружен только внутри ящика и никогда снаружи, то вероятность его обнаружения в ящике должна быть конечной, а вовне - нулевой. Если вероятность найти частицу вне ящика равна нулю, то и волновая функция должна быть равна нулю во всех точках вне ящика.
Итак, мы пришли к выводу, что волновая функция частицы в ящике подобна волновой функции свободной частицы, но волновая функция должна быть равна нулю вне ящика. В своей интерпретации природы квантовомеханической волновой функции Борн наложил некоторые физические ограничения на форму, которую может принимать волновая функция. Одно из них состоит в том, что хорошая волновая функция должна быть непрерывной. Это условие означает, что волновая функция должна плавно меняться от места к месту. Бесконечно малое изменение положения не может приводить к неожиданному скачку вероятности. Это очень простая мысль. Если вероятность обнаружить частицу в некоторой очень малой области пространства составляет, например, 1 %, то смещение на невообразимо малую величину не может вдруг сделать вероятность обнаружения частицы равной 50 %. Это ясно по изображениям волновых пакетов на рис. 6.7. Вероятность плавно меняется от места к месту. Это позволяет нам кое-что добавить к описанию волновых функций частицы в ящике помимо того факта, что они являются волнами с конечными амплитудами внутри ящика и нулевой амплитудой вовне. Поскольку волновая функция должна быть непрерывной, непосредственно у стенки ящика с внутренней стороны она должна иметь нулевую амплитуду, чтобы совпадать с нулевой амплитудой волновой функции вне ящика.