
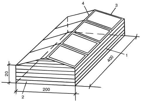
Рис. 3. Двускатный наземный парник: 1, 2 - доски; 3 - рамы; 4 - коньковый брус
Параметры парника представленного типа устанавливают в соответствии с назначением. Для выращивания рассады обычно используют сооружения, имеющие следующие размеры: 4 * 2,5–3 м. Для того чтобы собрать такой парник, необходимо заготовить две доски толщиной 30–40 мм, шириной 20–30 см и длиной 2,5–3 м; две доски толщиной 30–40 мм, шириной 20–30 см и длиной 4 м; 10–12 деревянных реек сечением 30 * 40 мм и длиной 1,3–1,5 м; коньковый брус из рейки сечением 40 * 40 мм и длиной 4 м. Основу конструкции парника с отражающим экраном (рис. 4) составляет односкатный углубленный парник. Главной деталью такого сооружения закрытого грунта составляет рамка, несущая зеркало из фанеры, ширина которого достигает 1 м. Ее фиксируют вдоль северной боковины парника.
Из досок требуется собрать короб будущего сооружения. При этом его стенки должны иметь одинаковую высоту. Затем на бортах полученного каркаса конструкции нужно с интервалом в 0,8–1 м укрепить стропила. К ним в дальнейшем прибивают коньковую рейку. Каждое полученное стропило будет служить в качестве опоры для двух смежных парниковых рам. В двускатном наземном парнике поверх стропил рамы кладут в два ряда.
Рамы в парнике предложенной конструкции можно положить непосредственно на стенки короба либо закрепить с помощью оконных петель. Для их фиксирования во время открывания используют упоры, изготовленные из древесины. Такие упоры устанавливают на доски, составляющие короб, или закрепляют посредством металлических скоб. В процессе эксплуатации сооружения при поднятии рамы привязывают к ним веревками. Последние можно заменить крюками или задвижками.
Парник, снабженный отражающим экраном

Рис. 4. Парник, снабженный отражающим экраном: 1, 2 - парубни; 3 - рама; 4 - отражающий экран; 5 - почвенная смесь; 6 - биологическое топливо
Отражающий экран, входящий в конструкцию парника, защищает сооружение от ветра. Следовательно, представляется возможность поддерживать внутри парника оптимальный температурный режим. К основанию зеркало прикрепляют посредством специального механизма, который обеспечивает подвижность экрана в ту или иную сторону, придавая таким образом определенное направление солнечным лучам. В результате внутрь сооружения поступает максимальное количество света и тепла, что позволяет создать требуемые условия для нормального развития растений. Для того чтобы выполнить двускатное укрытие (рис. 5), нужно приготовить следующие материалы: рейки сечением 30 * 40 мм; брусья сечением 40 * 60 мм; полиэтиленовое полотно толщиной до 0,3 мм. Для выращивания рассады овощных и цветочных культур используют сооружения представленного типа, имеющие стандартные размеры: ширину - 2,5 м, длину - 6 м, высоту - 2,1 м. Уклон сооружения должен составлять не менее 30°.
Для того чтобы продлить срок эксплуатации парника, детали следует выкрасить водоэмульсионной или масляной краской. Поверхность экрана в целях повышения отражающих свойств покрывают красящим составом белого цвета или известковым раствором.
Переносной наземный парник
Переносной наземный парник представляет собой простейшую конструкцию сооружения защищенного грунта. В этом качестве часто применяют ящики, сколоченные из досок толщиной 4–5 см и шириной до 20–25 см. Сверху основание накрывают 4–6 парниковыми рамами.
Подобные сооружения закрытого грунта имеют несколько достоинств. Среди главных их преимуществ следует назвать отсутствие необходимости предварительно готовить котлован. Деревянный ящик устанавливают на выбранной площадке непосредственно на грунт, поверхность которого предварительно разравнивают и покрывают слоем навоза.
Биотопливо, предназначенное для размещения в переносном наземном парнике, рекомендуется подготовить заранее. Для этого навоз слегка нагревают и затем укладывают на участке слоем, толщина которого не должна превышать 50–60 см. Далее на выбранной площадке вплотную друг к другу размещают несколько (не более 3–4) ящиков. Таким образом получают большой парник, рассчитанный на 20 рам.
После этого в каждый ящик насыпают почвенную смесь. Сооружения накрывают рамами и матами. Избежать скольжения рам и их сползания помогут деревянные планки небольшой ширины, прибитые со стороны южной боковины.
После завершения работ по сборке парников следует приступить к формированию тропинок. Для этого между каждыми установленными встык 3–4 парниками делают дорожки, ширина которых не должна превышать 40–50 см. Такие тропинки нужно покрыть слоем биотоплива. В течение сезона эксплуатации навоз дважды добавляют на дорожки. Поверхность его следует всякий раз выравнивать.
Еще одним достоинством переносного наземного парника является удобство и простота использования. Слой биотоплива, применяемого для утепления грунта парников, обладает особенностью с течением времени оседать. Это приводит к тому, что опускаются и ящики. Таким образом, огороднику не нужно вести постоянный контроль за растениями и следить за тем, не препятствуют ли их развитию парниковые рамы. В том случае, если всходам требуется большее пространство, ящики достаточно легко поднять на необходимую высоту.
Переносные наземные парники нередко применяют главным образом для выращивания рассады овощных и цветочных культур, а также ранних сортов овощей. Целесообразным считается их использование на площадках, где отмечается высокий уровень подземных вод. При этом установка парников каких-либо иных типов в таких условиях не представляется возможной. Следует заметить, что парники данного вида характеризуются некоторыми недостатками. Основным является выдуваемость ветром и снижение температуры грунта, что происходит вследствие возвышения сооружения на достаточную высоту от поверхности площадки. В связи с этим подобные парники лучше всего использовать в южных районах и устанавливать на участках, защищенных от ветра.
Большинство огородников и садоводов отказываются от устройства и применения переносных наземных парников вследствие значительного расхода биологического топлива, используемого при их эксплуатации. Было замечено, что для обслуживания сооружения закрытого грунта подобного типа необходимо на 40 % больше навоза, чем для парников иных видов.
Для того чтобы снизить уровень расхода топлива, рекомендуется ставить парниковые ящики на постель, немного углубленную в почву. При этом нужно выкопать котлован, а освободившийся грунт использовать для увеличения высоты стенок. Биологическое топливо необходимо уложить на дно котлована. После того как установится теплая погода, его нагревают и затем размещают подготовленные ранее парниковые ящики.
Парник-"вигвам"
Конструкция парника-"вигвама" состоит из каркаса и полиэтиленового покрытия. Для сборки каркаса можно использовать ветки деревьев диаметром до 50 см. Их укрепляют в грунте по окружности, сводя вместе верхние концы, и затем обтягивают мешком, сшитым из полиэтиленового полотна.
Для сооружения парника представленного типа необходимо взять пленку, имеющую размеры 1,5 * 1,4 м. Придать конструкции большую надежность поможет колышек, вбитый в землю в центральной части полученного "вигвама".
В верхней части полиэтиленовый мешок нужно собрать и закрепить шпагатом или бечевкой. С наружной стороны каркас укрепляют колышками, длина которых равна 50 см. Они нужны для фиксирования полотна.
Плоский парник
Для того чтобы соорудить плоский парник, необходимо приготовить 4 доски для каркаса, 4 деревянные рейки для рамы, полиэтиленовое полотно, пружину и дверные петли.
При возведении сооружения на участке, открытом для солнечных лучей, следует выровнять поверхность почвы. Для того чтобы собрать каркас парника, доски нужно закрепить способом в паз.
Готовый каркас устанавливают непосредственно на грунт, после чего накрывают собранной из реек и обтянутой полиэтиленовой пленкой рамой. Зафиксировать парниковую раму можно, используя пружины, один конец которых прикрепляют к каркасу, а другой - к раме.
После завершения сборочных работ парник заполняют биотопливом и почвенной смесью.
Парник, снабженный подъемным куполом
Стандартные параметры сооружения защищенного грунта, в конструкцию которого входит подъемный купол, составляют 3,5 * 6 м. Покрытие представляет собой раму П-образной формы. Для ее изготовления нужно подобрать трубы диаметром не менее 48 мм.
Подъем и опускание купола осуществляются за счет установленной трособлочной системы, дополненной контргрузами. Для ее сборки применяют тросы, диаметр которых равна 3,5 мм.
Входящий в конструкцию парника купол собирают из 7 дугообразных полос, сделанных из дюрали. Параметры дуг следующие: 0,4 * 5 * 400 см. Одним концом их с интервалом 1 м закрепляют на горизонтально установленной трубе, другим фиксируют к элементам деревянного каркаса, который сколачивают из реек, имеющих сечение 20 * 70 мм.
Для покрытия каркаса рекомендуется воспользоваться полиэтиленовым полотном шириной 1,5 м и длиной 6 м. Придать куполу парника необходимую жесткость можно, если изогнуть третью и пятую дуги в виде арки, а на дугах, установленных продольно, предусмотреть растяжки. Контргрузы собирают в направляющей трубе, имеющей диаметр 10 см.