Всего за 339 руб. Купить полную версию
Однако этим построение не ограничивается. Ведь наша цель – научиться строить или кроить идеально сидящую на фигуре "облипочку".
Следующий этап – определить ширину заднего и переднего полотнищ юбки.
Информация к размышлениям. Некоторые весьма уважаемые методики конструирования, ориентированные на условно-типовые фигуры, предлагают ширину передних и задних полотнищ юбки брать одинаковую. Однако у любой условно-типовой фигуры выпуклость живота меньше выпуклости ягодиц. Большая выпуклость оттягивает на себя больше ткани, значит, и боковой шов будет расположен с перекосом. Таким образом, налицо заведомо неточное построение.
Анализируем дальше.
Другие методики предлагают заднее полотнище юбки брать шире переднего на 1 см. Как мы заметили, большая выпуклость требует больше ткани. Вроде разумно. Но возникает вопрос: почему на 1 см, а не 0,9 см, например, или не 1,1 см? Ответ кроется в зависимости этих методик от условно-типовой фигуры, некоторого манекена, на который они строят. А этот манекенчик имеет определенную зависимость между выпуклостью живота и выпуклостью ягодиц. Манекенчик-то имеет, а Марья Ивановна нет! Поэтому для условно-типовых фигур увеличение ширины заднего полотнища относительно переднего на 1 см в основном бывает оправдано. А на конкретных фигурах с индивидуальными особенностями этот прием не работает. Потому что формы наших дам непредсказуемы. К примеру, выпуклость живота у конкретной фигуры может быть больше выпуклости ягодиц. Это можно наблюдать на фигурах будущих мам. Такое соотношение встречается и на мужских фигурах – "пивной" животик. Именно обладатели этих фигур нуждаются в изделиях индивидуального кроя. Поэтому рассчитывать ширину переднего и заднего полотнища юбки, а в дальнейшем и брюк надо на каждую фигуру индивидуально.
Вышеуказанные методики выходят из создавшейся ситуации просто – рекомендуют все неточности построения устранить на примерках. Мы отказались от примерок, поэтому ширину полотнищ рассчитаем.
Для этого воспользуемся имеющимися измерениями передне-задних диаметров талии и бедер – D и d.
Чертеж "Поперечные диаметры"

Поперечные диаметры
Рассматривая эллипсы горизонтальных сечений Марьи Ивановны по линии талии и бедер, мы можем увидеть в профиль несимметричность фигуры: спереди выступает живот, сзади ягодицы. Проведем по центрам эллипсов вертикальные линии. Через середину большого эллипса проведем ось симметрии, обозначим ее буквой О. Через центр малого эллипса тоже проведем ось симметрии и обозначим ее О1. Оси, проведенные из центров эллипсов, не совпадут друг с другом. На практике это приводит к перекосу бокового шва, выпуклость ягодиц оттянет ткань на себя.
Для нахождения ширин передней и задней деталей примем как аксиому: боковой шов в изделии должен проходить по вертикали, проведенной из центра малого эллипса, то есть по вертикали О1.
В вышеописанном случае, когда ширина передней детали равна ширине задней, боковой шов проходит по оси большого эллипса, то есть по оси О. Глядя на чертеж, нетрудно заметить, что в области талии положение бокового шва несимметрично. Исправляя ситуацию на примерке, закройщик делает это на глаз, а значит, успех операции уже зависит от квалификации закройщика или конструктора, а не обусловлен самой методикой построения.
Мы рассчитаем расстояние между осями эллипсов.
Даю формулу расчета: ОО1 = D : 2 – (d : 2 + ПХ).
В числах ОО1 = 13,1 – (9,5 + 2) = 1,6.
Итак, расстояние между вертикалями равно 1,6 см, тогда
ширина задней детали (ШЗД) равна ОБ : 4 + ОО1 = 26,5 + 1,6 = 28,1 см;
ширина передней детали (ШПД) равна ОБ : 4 – ОО1 = 26,5 – 1,6 = 24,9 см.
На первых порах вас может пугать большая разница между ширинами деталей.
Но напоминаю, что, во-первых, построение делается на конкретную фигуру Марьи Ивановны. Если у нее ЗХ имеет внушительные размеры, то уменьшить их мы не в силах, однако в состоянии их учесть. Во-вторых, наше построение – базовая основа, а не модель. Обычная прямая юбка тоже может иметь модельные особенности. Мы нанесем их позже.
Ширина переднего и заднего полотнищ юбки определена. Двигаемся дальше.
Важным этапом расчетов является распределение боковой вытачки. Что под этим подразумевается и что делать нельзя?
Часто закройщики раствор боковой вытачки делят пополам и убирают с переднего и заднего полотнищ по талии одинаковые величины. В результате дуга по линии талии спереди оказывается больше дуги по талии сзади. Итогом такой неосмотрительности опять будет перекос бокового шва.
Распределение боковой вытачки надо выполнить, сохраняя длины дуг по талии спереди и сзади одинаковыми.
Обхват талии нашей модели 80 см. Дуги полуобхватов талии спереди и сзади должны быть равны, то есть составят по 40 см.
Принято выполнять построения конструкций швейных изделий только на одну половину. Хотя при работе с фигурами, имеющими индивидуальные особенности, можно наблюдать значительные отличия левой и правой половин. Конкретная Марья Ивановна может оказаться немного кривобокой. В этом случае построения рассчитываются отдельно на левую и правую части фигуры.
Итак, дуга по талии составляет: 40 : 2 = 20 см.
Еще раз взгляните на поперечные диаметры и убедитесь, что дуги по талии на переднем и на заднем полотнищах юбки равны.
Ширина передней детали по талии плюс раствор передней вытачки – 20 + 2,3 = 22,3 см.
Тогда часть раствора боковой вытачки, которую мы должны убрать на переднем полотнище, равна ширине передней детали по бедрам минус ширина передней детали по талии с учетом раствора вытачки, или в цифрах 24,9 – 22,3 = 2,6 см.
Другими словами, при растворе боковой вытачки величиной 4,7 см из нее надо убрать 2,6 см с переднего полотнища. Соответственно на заднее полотнище остается: 4,7 – 2,6 = 2,1 см.
На каждую фигуру, мужскую или женскую, независимо от возраста, рассчитать это распределение надо индивидуально.
Возможно, поначалу расчеты покажутся вам слишком сложными или излишне точными, на усвоение нового материала придется потратить силы и время. Однако вскоре вы заметите, как отсутствие примерок и точный, надежный крой экономят ваши силы, нервы и время.
Ширина заднего полотнища по талии рассчитывается аналогично, дуга по талии плюс величина раствора вытачки, в данном случае уже задней, 20 + 6 = 26 см. Можно выполнить проверку: 28,1 – (20 + 6) = 2,1 см.
Как видите, все точно.
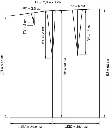
А теперь выполним построение. Проведем горизонтальную линию, являющуюся линией низа юбки. По центру поставим засечку и поднимем вверх перпендикуляр, на котором отложим длину юбки по боку. Например, 60 см.
Влево по горизонтали отложим ширину переднего полотнища юбки по линии бедер. По нашим расчетам, это значение равно 24,9 см. Вправо – ширину заднего полотнища по линии бедер – 28,1 см.
От полученных точек построим вверх перпендикуляры к линии низа, на которых соответственно откладываем длину по переду 59,5 см (по меркам ДП меньше ДБ на 0,5 см) и длину изделия сзади 60 см (ДЗ по меркам равно ДБ).
От талии по линии бокового шва опустимся вниз на величину БY = 23 см. Поставим в полученную точку ножку циркуля и (R = БY = 23 см) проведем влево и вправо дугу.
На переднем полотнище по дуге отложим величину рассчитанной боковой вытачки 2,6 см. Вправо на заднем полотнище отложим величину боковой вытачки сзади 2,1 см. Соединим полученные точки с точкой R, и боковая вытачка оформлена.

Чертеж юбки именно на Марью Ивановну!
Заднюю вытачку следует располагать напротив наиболее выпуклых точек фигуры. Так как у меня нет возможности предложить вам для осмотра рельеф ягодиц М.И., предлагаю расположить ее посередине детали.
Длина вытачек равна, соответственно, спереди ПY = 8 см и сзади ЗY = 18 см.
Если подходить к М.И. как к геометрической фигуре, следовало бы и переднюю вытачку расположить напротив наиболее выпуклой точки фигуры, то есть посередине живота. В некоторых случаях она там и располагается, например в моделях со складкой посередине переда, при этом не только не портя посадку изделия на фигуре, а даже способствуя этому. Но наша М.И. фигура не только геометрическая, а еще и человеческая. В нашем человеческом сообществе не принято делать вытачку посередине живота, как говорят, "не смотрится". Нас не поймут. Поэтому передвинем ее, расположив на детали переда в пропорциях золотого сечения. Действуем по принципу: если нельзя так, как надо (посередине), сделаем так, чтобы хоть красиво было.
Таким образом, мы построили юбку-"облипочку" на Марью Ивановну, просьба не путать с моделью или фасоном. Выбор конкретного фасона, то есть нанесение модельных особенностей, членение изделия рельефными линиями с учетом рельефа фигуры – это уже следующий этап.
На чертеже вы можете увидеть построение юбки по нашим расчетам. Изготавливая изделия на конкретных заказчиков, вы все равно добиваетесь хорошей посадки на фигуре, так не лучше ли все рассчитать и построить, чем тыкаться в свои собственные оплошности на примерках. Впрочем, решать вам.