Всего за 169 руб. Купить полную версию
![]()
Частота видимого света колоссальна: например, для желтого света с длиной волны в 600 mµ она равна полумиллиону миллиардов раз в секунду!
Отметим одно очень важное обстоятельство. Как мы говорили, скорость света обратно пропорциональна показателю преломления среды. С другой стороны, длина волны λ, как уже упоминалось при описании опытов Ньютона, тоже зависит от среды, в которой свет распространяется; ньютоновы кольца сжимаются, если воздух в зазоре между линзой и стеклом заменить водой. Длина волны, так же как и скорость, обратно пропорциональна показателю преломления среды. Следовательно, частное от деления скорости на длину волны света, т. е. частота ν, как видно из написанной формулы, не зависит от вещества. Стало быть, это очень важная количественная характеристика самого света, именно его свойства, отвечающего цветности.
Однако свет еще не полностью определен его скоростью и частотой. Из субъективных впечатлений мы знаем, что у света в очень широких пределах может меняться его яркость. Достаточно сопоставить мерцание светлячка и прямой свет Солнца, чтобы понять, каких огромных размеров могут достигать различия яркости.
Каков же физический смысл яркости света? На это в науке по-настоящему сумели ответить только после того, как выяснилось понятие энергии. Несомненно, что свет всегда несет с собою энергию, которая проявляется в действиях света, нагревании, в химических изменениях и т. д. Вообще узнать о наличии света мы можем только по его действиям, т. е. вследствие того, что он несет с собою энергию. Ощущение яркости и связано тесным образом с энергией световых лучей, яркость простого "монохроматического" (одноцветного) луча тем больше, чем больше переносимая светом энергия.
Впрочем, глаз – очень плохой судья в вопросе об энергии света. В ночных условиях даже сияние светлячка кажется ослепительным, в дневных – глаз выдерживает сияние прямого света Солнца. С другой стороны, если сравнивать разноцветные лучи, то, например, красный луч с большей энергией будет казаться менее ярким, чем зеленый с энергией значительно меньшей. Следовательно, понятия энергии и яркости света взаимно связаны, но в то же время глубоко различны. Ввиду такой неопределенности для измерения энергии света оптик прибегает в наше время к объективным физическим приемам измерения энергии.
Подведем некоторые итоги. Освободившись от произвола и сложности субъективных световых ощущений, мы можем теперь, на основании изложенных опытов и измерений, утверждать, что свет – это носитель энергии, распространяющийся в межзвездном пространстве со скоростью около 300 000 км/с и обладающий периодическими свойствами. Попробуем все, что подходит под это определение, независимо от того, вызывает ли оно зрительные впечатления или нет, считать светом. Впоследствии мы увидим, что в такое определение придется вносить добавления и оговорки. Временно, однако, остановимся на нем.
Действительно, начиная с первых лет XIX века физикам пришлось включать в область оптики все новые и новые широкие области "невидимых лучей", во множестве которых совершенно поблекла область видимого спектра. Ньютоновский солнечный спектр уходит обоими своими концами, красным и синим, в темноту. Кроется что-нибудь в этой тьме или нет? Глаз там практически ничего не видит.
В 1800 году Гершель произвел очень простой опыт. Он поместил в темноту за красным краем солнечного спектра термометр с зачерненным концом. Оказалось, что термометр очень заметно нагревается, т. е. в этой области есть лучи, не видимые глазом, но вызывающие нагревание. Эти лучи были названы инфракрасными; удалось измерить длины их волн, доказать, что они распространяются с обычной световой скоростью и, следовательно, во всех отношениях соответствуют физическому определению понятия света. Инфракрасные лучи простираются очень далеко. В настоящее время удалось обнаружить лучи с длиной волны примерно в 0,3 мм. Они идут, следовательно, начиная от видимой красной границы в 750 mµ до (по крайней мере) 300 000 mµ. Но и здесь нет предела спектру. Те электрические волны, которые излучаются радиостанциями, также распространяются со скоростью 300 000 км/с и обладают периодичностью; стало быть, и они должны рассматриваться как световые волны. Такие искусственные электрические волны могут быть получены с самыми различными длинами – от десятков километров до долей миллиметра.
Итак, от красной границы спектра можно непрерывно идти до практической бесконечности радиотелеграфных волн. Что делается с другой стороны, за фиолетовой границей? Здесь, по крайней мере от обычных источников света, термометр заметно не нагревается, но если поместить туда фотографическую пластинку, то она при проявлении потемнеет. Так обнаруживаются невидимые ультрафиолетовые лучи. Можно обнаружить их и другими способами. Под действием этих лучей многие тела начинают светиться видимым светом (люминесценция), становятся электропроводными или испускают электроны (фотоэлектричество). Область ультрафиолетовых лучей обычно считают от видимой фиолетовой границы (довольно, впрочем, неопределенной – около 400 mµ) далеко в область коротких волн, по крайней мере до 10 mµ. На этом, впрочем, спектр не кончается; далее следуют лучи, открытые в конце прошлого века Рентгеном и обладающие, как мы теперь знаем, всеми свойствами световых лучей. Они, так же как и ультрафиолетовые лучи, действуют на фотографическую пластинку, вызывают видимую люминесценцию и производят электрические действия. К лучам Рентгена (в соответствии с практическими методами получения) относят волны примерно от 10 до 0,1 mµ. Но и это еще не конец светового спектра. За лучами Рентгена следуют лучи с волнами еще более короткими, так называемые гамма-лучи, испускаемые радием и другими радиоактивными веществами. Нет оснований указать какую-либо границу гамма-лучей. Известны гамма-лучи с длиною волны короче 0,001 mµ.

Рис. 5
Поляризация света при отражении
Можно сказать, что в природе существуют световые лучи со всевозможными длинами волн, начиная от бесконечно больших (практически) до бесконечно малых (также практически). Ничтожный участок видимых лучей (от 400 до 700 mµ) тонет в этом многообразии.
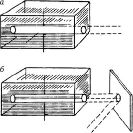
У света есть и другие замечательные свойства, о которых мы пока не говорили. Сделаем такой опыт (рис. 5 а). В стеклянный сосуд нальем слегка взмученную (например, каплей молока) воду и пустим в нее прямой солнечный луч. В такой взмученной воде след пучка света будет ясно виден вследствие рассеивания света частичками. На первый взгляд кажется само собой разумеющимся, что во все стороны свет должен рассеиваться одинаково, будем ли мы смотреть сверху на след пучка или сбоку. В случае прямого (обыкновенного) пучка солнечного света это действительно так.
Теперь сделаем второй опыт. Пустим прямой луч предварительно на стекло под углом примерно 54° (луч перпендикулярен плоскости чертежа), а потом в сосуд с взмученной водой (рис. 5 б). Внимательно осмотрев со всех сторон след светового пучка в сосуде, мы заметим поразительное явление: если смотреть сбоку, рассеяние света очень большое (сравнительно яркая светлая полоса), сверху же нет почти никакого рассеяния, следа пучка в воде не видно. Свет, отраженный от зеркала, получил новое, очень странное свойство: вверх и вниз он не действует, а действует только в стороны. В поперечном сечении пучка появляются преимущественные направления действия, возникает полярность. Подобно тому как в палочном магните максимум действия идет по линии, соединяющей полюсы магнита, а в направлении, отвесном к этой линии, действия почти нет, так и здесь наибольшее действие света сосредоточивается в горизонтальном направлении. Описываемое свойство света (но в более сложном случае так называемого двойного лучепреломления исландского шпата) было впервые названо Ньютоном, по аналогии с магнитом, поляризацией света. В обыкновенном пучке света присутствует смесь лучей, поляризованных во всевозможных направлениях; поэтому поляризация и не обнаруживается. При отражении от стекла преимущественно отражаются лучи с определенной поляризацией, поэтому последняя становится заметной. Свойством поляризации обладают не только видимые лучи, но вообще все лучи, которые мы называем световыми, начиная от радиолучей и до лучей гамма.
Глаз у большинства людей не отличает поляризованного света от неполяризованного. Примерно 25–30 % людей обладают этим свойством, хотя почти никогда об этом и не подозревают. При наблюдении поверхности, излучающей поляризованный свет, такие люди могут заметить в середине поля зрения полоску слабого желто-лимонного цвета, имеющую вид слегка изогнутого снопа колосьев. Если плоскость поляризации света поворачивается, то одновременно поворачивается и указанная полоска в глазу. При некоторых положениях Солнца на небе свечение неба, возникающее вследствие рассеяния солнечных лучей в атмосфере, оказывается сильно поляризованным, и тогда человек, обладающий названной способностью, видит на фоне неба слабую желтую снопообразную полоску.