Всего за 45 руб. Купить полную версию

Рис. 54. Выполнение углом сруба: а – "в обло"; б – "в лапу"; в – закрепление венцов шипами; 1 – гнездо; 2 – потайной шип; 3 – коренной шип
Рубку "в обло" осуществляют следующим образом (рис. 55). Сначала 2 бревна укладывают на противоположные стороны, а поперек них – 2 других, после чего на верхних делают разметку пазов, которые вырубают топором.

Рис. 55. Разметка рубки "в обло"
Чтобы определить величину паза ("чашки"), используют чертилку. Ее ножки раздвигают на половину диаметра нижнего бревна и отмечают на верхнем. После того как "чашка" выбрана, проверяют ее точность и корректируют, если это потребуется (рис. 56). Оставшиеся бревна размечают и укладывают таким же образом. На каждом венце, кроме окладного, помимо "чашки", делают пазы под шипы.

Рис. 56. Форма "чашки": а – правильная; б – неправильная
Для срубов "в лапу" подбирают бревна одинакового диаметра (рис. 57). Сначала их концы отесывают на 4 канта, отступив на 1–1,5 диаметра от конца, а потом размечают "лапы" на торцевых сторонах. Торцевую и вертикальные стороны делят на 8 частей, через полученные точки проводят линии строго параллельно сторонам. Для облегчения разметки ребер вводят буквенные обозначения – АБ, ВГ, ДЕ, ЖЗ. На каждом из них откладывают сверху и снизу соответственно:
– для ребра АБ – 1/8 части;
– для ребер ВГ и ДЕ – 2/8 части;
– для ребра ЖЗ – 3/8 части.

Рис. 57. Разметка соединения и рубка углов "в лапу"
Найденные точки соединяют и получают ребра "лапы", которые соответственно составляют:
– АБ – 6/8 части;
– ВГ и ДЕ – 4/8 части;
– ЖЗ – 2/8 части.
Для окончательного формирования "лапы" лишнюю древесину выбирают. Затем бревно используют как шаблон. Как и при рубке "в обло", делают пазы и скрепляют венцы потайным или коренным шипами. Каждый из них должен составлять треть ширины и длины "лапы" и устанавливаться вплотную к внутреннему углу (рис. 58). Поскольку соединение "в лапу" менее герметичное, угол снаружи теплоизолируют и забивают доской. В случае необходимости бревна сращивают (рис. 59). После того как сруб установлен, его накрывают рубероидом и оставляют на 1 год для осадки.

Рис. 58. Рубка "в лапу" и крепление углов коренным шипом

Рис. 59. Способы сращивания бревен: а – прямым шипом по длине; б – соединение бревен шипами
Оконные и дверные блоки не устанавливают вплотную к стенам. Сверху обязательно оставляют зазор высотой 4–5 см, который теплоизолируют, а снаружи прикрывают нащельниками.
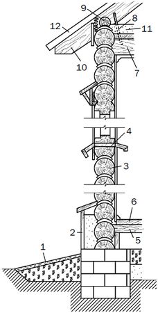
Под сруб подготавливают фундамент одним из описанных выше способов и гидроизолируют, после чего на него помещают подкладную доску толщиной 50–60 мм, обмазанную битумом, и слой изолирующего материала. На такое основание укладывают последовательно все венцы, перемежая их паклей. Причем сначала сруб предварительно собирают не на фундаменте. Рубленая стена в разрезе представлена на рис. 60.

Рис. 60. Конструкция рубленой стены: 1 – отмостка; 2 – цоколь; 3 – сруб; 4 – оконный проем; 5 – черный пол; 6 – чистый пол; 7 – балка перекрытия; 8 – скоба; 9 – мауэрлат; 10 – стропило; 11 – засыпка; 12 – кровля
Длинная стена будет стоять прочно и надежно, если на расстоянии примерно 6,5 м разместить внутренние рубленые стены, причем диаметр бревен должен составлять 22 см. При диаметре 25 см интервал между последними может достигать 8,5 м. Если оно больше, наружные стены укрепляют сжимами – парными брусьями сечением 120 х 140 мм (или 150 х 200 мм), установленными с шагом в 6,5 м (8,5 м), которые стягивают по высоте болтами диаметром 16–20 мм на расстоянии 1 м. От концов их удаляют на 25–40 см.
Внутренние и наружные стены соединяют "ласточкиным хвостом" (рис. 61).

Рис. 61. Выполнение соединения "ласточкин хвост": 1 – наружная стена; 2 – внутренняя стена
Для соединения балок чердачного и междуэтажного перекрытия используют врубку под названием "глухой сковородень" (рис. 62).

Рис. 62. Выполнение врубки балки перекрытия: 1 – балка перекрытия; 2 – верхний венец; 3 – соединение "глухой сковородень"
Рубленые стены нуждаются в утеплении, поэтому, после того как они осядут и просохнут, их конопатят. В качестве утеплителя используют волокнистый материал – паклю, мох или войлок, обработанные битумом. Их забивают в пазы специальными инструментами – конопатками (рис. 63).

Рис. 63. Разновидности конопаток: а – наборная; б – кривая; в – дорожник; г – разбивная
Пряди волокнистого материала вставляют в пазы и уплотняют, помогая конопаткой. Потом, соединив новую прядь со старой, заложенной при возведении сруба, их вбивают между бревнами, создавая валик. При выполнении конопачения нужно помнить, что:
– все венцы конопатят последовательно по периметру, чтобы избежать перекоса стен;
– чтобы не повредить дымовую трубу, засыпку и обмазку трубы удаляют, образуя зазор между перекрытием, трубой и кровлей, так как после завершения конопачения высота сруба увеличивается на 10–15 см;
– закончив наружные работы по конопачению, переходят к внутренним.
Стены бывают брусчатыми, для чего используют брусья (обработанные на 4 канта бревна) сечением 120–140 мм. В зависимости от минимума зимних температур ширина бруса наружных стен может достигать 150 мм (при -30 °C) и 180 мм (при более низкой температуре). Для внутренних стен и перегородок достаточно 100 мм.
Брусчатые стены, по сравнению с рублеными, более экономичны благодаря минимальным отходам древесины. Более того, работа с ними менее трудоемкая (приблизительно в 3 раза). Рубка бревен "в обло" или "в лапу" достаточно трудная, а соединение "вполдерева", которое используют для фиксации брусьев, может выполнить и начинающий плотник. Немаловажно и то, что их приобретают в готовом виде, чтобы избежать расхода древесины и больших трудозатрат при самостоятельной подготовке. Такой материал соединяют быстро, что существенно ускоряет работу. Так как брусчатые стены не столь подвержены осадке, как рубленые, их сразу укладывают на подготовленный фундамент.
Между ними также прокладывают теплоизоляцию. Брусчатые стены соединяют с помощью нагелей диаметром 30 мм и длиной 200–250 мм, под которые предварительно просверливают отверстия (их глубина должна быть больше длины нагеля на 20–40 мм). Чтобы соединить сразу несколько брусьев, углубления размещают одно под другим. Угловые соединения брусчатых стен можно выполнить разными способами (рис. 64). Данная технология соединения брусьев обеспечивает вертикальную устойчивость стены. Поскольку у таких стен угловые крепления являются слабым местом, их теплоизолируют так, как показано на рис. 65.

Рис. 64. Выполнение угловых соединений брусчатых стен: а – коренным шипом; б – врубка "вполдерева"