Всего за 45 руб. Купить полную версию

Рис. 43. Устройство забирки: а – из теса; б – из обрезной доски; 2 – вентиляционное отверстие; в – из теса; г – из горбыля; 1 – забирка; 2 – вентиляционное отверстие; 3 – пол
Для отведения от фундамента дождевой и снеговой воды по его периметру делают отмостку (рис. 44). Ее ширина обычно не превышает 1 м (минимум – 50 см), а уклон составляет примерно 10°. Работы по ее устройству выполняют в следующей последовательности:
– снимают растительный слой, аккуратно выбрав корни и обработав почву средством против сорняков;
– в образовавшуюся выемку глубиной 100–150 мм насыпают слой мягкой глины и уплотняют, планируя уклон;
– заполняют смесью песка и гравия, щебня или кирпичного боя;
– полученное основание утрамбовывают и заливают бетонным раствором;
– после отвердевания бетона по наружному периметру отмостки выкапывают канавку для отведения воды или кладут асбестоцементную трубу, предварительно распиленную вдоль пополам.

Рис. 44. Устройство отмостки: 1 – цементная стяжка или асфальтовое покрытие; 2 – гравий (щебень); 3 – песок; 4 – грунт; 5 – канава для стока воды; 6 – фундамент; 7 – жирная глина
Таблица 2. СТРОИТЕЛЬНЫЕ МАТЕРИАЛЫ, ИСПОЛЬЗУЕМЫЕ ДЛЯ ВОЗВЕДЕНИЯ ФУНДАМЕНТОВ И ЦОКОЛЕЙ 
Таблица 3. РАСТВОРЫ, ПРИМЕНЯЕМЫЕ ДЛЯ ВЫПОЛНЕНИЯ ФУНДАМЕНТА И ЦОКОЛЯ НИЖЕ УРОВНЯ ГИДРОИЗОЛЯЦИИ 
Стены
После того как фундамент наберет прочность, приступают к возведению стен, которые должны быть надежными и долговечными, выполнять функции тепло– и звукоизоляции, а также удовлетворять требованиям архитектурной выразительности.
Толщину стен определяют рядом таких факторов, как конструктивные особенности, используемый материал и местные природно-климатические условия. Для строительства садового домика подбирают не просто прочный, но и дешевый стройматериал. Значительная экономия возможна при использовании камня, леса, глины и пр. Возведение стен требует определенных навыков аккуратного ведения строительства с соблюдением технологии, но многое зависит и от характеристик отдельных ее элементов.
Стены бывают:
– кирпичными (обыкновенный глиняный красный, силикатный и пустотелый кирпич);
– монолитными, построенными из легких бетонов;
– мелкоблочными (саманные и легкобетонные блоки);
– рублеными;
– брусчатыми;
– каркасными.
Каменные (кирпичные, монолитные и из мелкоштучных блоков) стены в плане долговечности, прочности, пожаробезопасности, звуко– и теплоизоляции (хотя они долго набирают тепло, но длительное время его и сохраняют) находятся вне конкуренции. Однако кладка – занятие достаточно трудоемкое.
Наружные кирпичные стены садовых домиков возводят толщиной в 1 1/2 или 2 кирпича, внутренние несущие – в 1 1/2 кирпича, а ненесущие – в 1/2 кирпича (для большей устойчивости их армируют). Кладку ведут с перевязкой швов. Стены под штукатурку кладут впустошовку.
Облегченная кладка, в отличие от сплошной, является более эффективной. Существуют две ее разновидности – стены с горизонтальными диафрагмами и колодцевая кладка. При этом экономия кирпича составляет от 20 до 40 %, причем теплоизоляционные свойства не ухудшаются, а возрастают.
Кладку с горизонтальными диафрагмами выполняют следующим образом. Сначала выкладывают наружные и внутренние версты толщиной в 1/2 кирпича. Причем через каждые 5 рядов сооружают сплошной горизонтальный тычковый ряд (горизонтальные диафрагмы), который обеспечивает связку (рис. 45). Их иногда заменяют арматурными прутьями диаметром 4–6 мм, которые размещают через каждые 25–50 см, заглубляя в кладку на 80-100 мм. Чтобы предотвратить коррозию арматуры, ее погружают в раствор.

Рис. 45. Выполнение кладки с горизонтальными диафрагмами: а – из кирпича; б, в – из раствора, усиленного стальной арматурой; 1 – засыпка (легкий бетон); 2 – арматурный пруток; 3 – раствор
Промежуток между верстами заполняют керамзитом, легкими бетонами или саманом, укладывая слоями толщиной 15 см и уплотняя, чтобы уменьшить осадку. Выровняв заполнитель по верхнему краю кладки, выполняют перевязку из кирпича или стальной арматуры, после чего выкладывают следующие 5 рядов и повторяют описанные выше действия.
Еще большую экономию дает колодцевая кладка (рис. 46). Как и в предыдущем случае, выкладывают наружную и внутреннюю версты толщиной в 1/2 кирпича, но вместо горизонтальных диафрагм между ними выполняют поперечную кладку с шагом в 50-100 см и толщиной в 1/2 кирпича. Образовавшееся пространство заполняют утеплителем. В целом конструкция стены, выполненной с применением одного из этих способов, представлена на рис. 47.

Рис. 46. Выполнение колодцевой кладки: 1 – утеплитель; 2 – тычковая кирпичная диафрагма

Рис. 47. Кирпичная стена с горизонтальными диафрагмами
Для возведения сплошных наружных и внутренних стен толщиной в 1 кирпич и облегченных стен используют раствор М25.
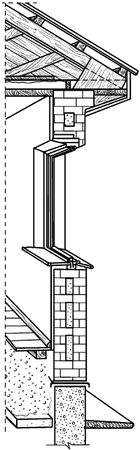
Стены садового домика также могут быть монолитными или мелкоблочными. Обладая теми же положительными качествами, что и кирпич (прочность, долговечность), такой бетон отличается легкостью, меньшей теплопроводностью и обходится почти в 2 раза дешевле (рис. 48). Кроме того, масса стен снижается на 58 %, а трудоемкость при их возведении – на 43 %. Материалом для них являются шлако-, керамзито– и опилкобетон. Чтобы придать более презентабельный вид, их штукатурят, облицовывают кирпичом или используют другие виды наружной отделки.

Рис. 48. Конструкция монолитной легкобетонной стены: 1 – отмостка; 2 – слой гидроизоляции; 3 – стена; 4 – слив; 5 – перемычка; 6 – рубероид; 7 – скрутка
От устройства опалубки зависят внешний вид и качество монолитной стены (рис. 49). Ее делают по всему периметру или на всю длину стены. Бетон заливают слоями толщиной 15–25 см, после чего для уплотнения его штыкуют и утрамбовывают. Через 3 дня опалубку снимают, а бетонную стену прикрывают мешковиной или рубероидом.

Рис. 49. Устройство передвижной опалубки для изготовления монолитной стены: а – из горизонтальных щитов с деревянными перемычками-стяжками; б – из вертикальных щитов с металлическими стяжками; 1 – струбцина; 2 – наружный щит; 3 – внутренний щит; 4 – верхняя стяжка; 5 – нижняя стяжка; 6 – металлическая стяжка; 7 – легкий бетон; 8 – вертикальный брус; 9 – клинья
Легкий бетон изготавливают из цемента М300 и доменного шлака (керамзита, пемзы), взятых в соотношении 1:10 (для наружных и внутренних стен) или 1:12 (для перегородок). Последний предварительно просеивают, чтобы отделить крупную фракцию (размер зерна составляет 6-40 мм) от мелкой (меньше 6 мм). Это необходимо для того, чтобы точно отмерить необходимое количество заполнителя, причем крупных частиц должно быть в 1,5 раза больше. Смешав заполнитель и цемент, их затворяют водой (250–350 л на 1 м3 шлака), тщательно перемешивают и заливают стены. Шлакобетон в течение 1 часа сохраняет подвижность и за это время он должен быть использован. Для повышения пластичности раствора в него вводят известь-пушонку (1–2 части).
Если садовый домик предполагается использовать в зимнее время, то в местностях с максимально низкой температурой (-30 °C) толщина стены должна составлять 55–60 см, при зимней температуре -10 °C достаточно 35–40 см. Хорошо зарекомендовали себя стены из опилкобетона. Они выгодно отличаются от кирпичных тем, что обходятся в 2–3 раза дешевле. А по сравнению со шлакобетоном их стоимость ниже примерно на 40 %. Выполняя дверные и оконные проемы, оставляют зазоры примерно в 2 см, это необходимо для осадки стены. Их располагают над оконными и дверными коробками, которые покрывают одним или двумя слоями рубероида. Для предотвращения трещинообразования, поскольку стены из легкого бетона склонны к осадке, под оконными проемами, над ними и ниже балок перекрытия в стены закладывают по 3 арматурных прута диаметром 4–8 мм. Оконные и дверные блоки в процессе заливки стены не вставляют, а используют временные коробки.