Всего за 134.9 руб. Купить полную версию

Рис. 86. Устройство для измерения роста плодов
Вот что можно сделать, чтобы оградить плодовые деревья от вредителей. Старую покрышку от легкового автомобиля режут пополам по кругу, получают 2 кольца. Режут их поперек в одном месте. Кладут под дерево так, чтобы внешний борт был выше почвы на 1 см, внутренний – на уровне почвы. В кольца наливают простую воду: вода – непреодолимое препятствие для всех ползающих насекомых, в том числе и черных муравьев. Отпадает необходимость в ловчих поясах. Кроме того, получается отличная поилка для пчел, ос, мелких птиц. Если же в кольца добавлять растворы хвойного концентрата или полыни либо репейника, то это отпугивает и летающих насекомых. Надобность в применении ядов отпадает.
Для компоста годятся только сорняки без семян – иначе они потом попадут на грядки вместе с удобрением, пойдут в рост. Поэтому поздно выполотые сорняки сжигают.
Отбросы надо укладывать в компостную кучу так, чтобы ее края возвышались над центром. Тогда дождевая вода будет стекать не наружу, а внутрь штабеля.
Грызуны пугливы, их можно отпугивать шумом. Воспользуйтесь миниатюрным ветряком (рис. 87) против грызу нов, кротов, а заодно и лакомых до ягод птиц. Соорудить его под силу каждому. Крыльчатку с 6 лопастями вырезают ножницами из крышки жестяной консервной банки. Лопасти слегка развертывают (угол 10–12°). Корпус-лопатка делается из сухой дощечки 30 × 200 мм и толщи ной 10 мм. Неплохо его покрасить. Ось крыльчатки – обычный гвоздь. Гвоздь, прикрепляющий ветрячок к шесту, входит в отверстие свободно, он и есть та ось, вокруг которой ветрячок вращается в горизонтальной плоскости.

Рис. 87. Конструкция ветряка
Подует ветер, закрутится крыльчатка, ее колебания передадутся через шест в землю, распугают мышей и кротов. А если на лопатку нацепить гирлянду из полдюжины крышек от молочных бутылок на тонкой проволочке, то и среди пернатых начнется тревога.
Каждому садоводу неприятно видеть, как испачкались землей со зревшие ягоды земляники во время поливов и сильного дождя. Чтобы та кого не случилось, в начале цветения междурядья, а также почву под растениями земляники нужно посыпать 4-, 5-сантиметровым слоем свежих опилок и сразу же полить раствором аммиачной селитры или мочевины (2 спичечных коробка удобрения на 10 л воды).
Во влажное лето или при обильных поливах созревающую землянику повреждают слизни. Днем они прячутся в укромных местах. Воспользуйтесь этим: разложите в междурядьях кусочки досок, фанеры. Слизни на день прячутся там. Остается переворачивать доски и уничтожать вредителей. Слизней хорошо ловят лягушки.
Иногда, когда костер не хочет разгораться, дрова обливают керосином или, что еще опаснее, бензином. Но стоит высыпать на уголь или дрова горсть обычной поваренной соли, и пламя начнет разгораться.
Марганцовокислый калий – незаменимое средство в арсенале садовода. Слабый раствор (2–3 г на 12 л воды) является дезинфицирующим средством и стимулятором роста, уничтожает серую гниль на малине и землянике, помогает при обмораживании тканей. Кроме того, марганец и калий, входящие в состав марганцовки, являются важными элементами питания растений.
Чтобы малина не забралась на участок к соседу, не потеснила другие растения, сделайте для нее "границу". Выкопайте вокруг малинника канавку глубиной 30–35 см и ее вертикальную стенку обложите листами старого кровельного железа (его желательно покрасить), шифера или рубероида в 2 слоя. Верхние края листов подровняйте так, чтобы они аккуратно возвышались на почвой на 2–3 см, а канавку надо засыпать и утоптать.
Лианы (лимонник, актинидии, виноград и др.) без опоры превращаются в ползучие кустарники и почти полностью перестают плодоносить. Без опор невозможно правильно сформировать крону лиан.
Большинство любителей выращивают лианы на приствольных кругах уже растущих деревьев. Однако на приствольном круге растущего дерева растение будет сильно угнетено, если вообще не погибнет. Поэтому сажать лианы нужно за пределами распространения корней деревьев (рис. 88). На 2-3-й год (а с помощью садовода и раньше) лиана сама дотянется своими цепкими усиками до ствола дерева-опоры.
Если дерево засохло, лианы можно сажать вблизи ствола, а когда корни дерева сгниют, лианы укрепляют 3 оттяжками, привязанными к асбоцементным столбикам (рис. 89).

Рис. 88. Место посадки лиан около живого дерева

Рис. 89. Место посадки лиан около мертвого дерева
Опорой для лиан могут служить деревянные столбы (толщиной 8-12 см, высотой до 5–6 м). Столбы, чтобы они не сгнили, обильно красят и устанавливают в асбоцементном кожухе. Количество столбов, расстояние между ними зависят от площади, отведенной под лианы.
На высоте около 3 м вертикальные опоры переплетаются горизонтальными жердями (толщиной 5–8 см).
Можно использовать опору типа беседки (рис. 90). В такой опоре удобно подвешивать марлевый полог для сбора плодов актинидии. Для мужских экземпляров лиан (опылителей) целесообразно устраивать более высокие опоры, это улучшает условия опыления женских растений, расположенных ниже.

Рис. 90. Опора для лиан "беседка"
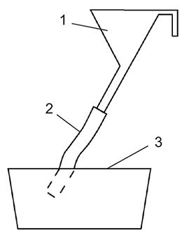
Известно, что сбор ягод – дело трудоемкое, особенно таких плодов, как шиповник, облепиха и т. п. Сбор можно значительно ускорить, если использовать приспособление (рис. 91), которое состоит из пластмассовой воронки диаметром 200 мм (1) и гибкого шланга от пылесоса (2).
На воронку надевают гибкий шланг и помещают в центр куста. Нижний конец шланга направляют в тару. Сорванные ягоды бросают в воронку, расположенную вблизи рук, дальнейшее происходит под действием силы тяжести.
Если облепиха перезрела, нежные ягоды при падении повреждаются. Потери уменьшит лоток из марли, удерживаемый на поясе 2 тесемками – одна из них завязана на спине, а другая закинута на шею (рис. 92). Марлю прикрепляют к кольцу дна диаметром 80–90 см из толстой мягкой алюминиевой или медной проволоки. Там, где кольцо прилегает к талии, его изгибают.

Рис. 91. Приспособление для сбора ягод: 1 – воронка; 2 – гибкий шланг; 3 – тара

Рис. 92. Устройство для сбора нежных, легко повреждаемых ягод
Из старых лопат сделайте себе удобные садовые инструменты. К примеру, из влечь из глинистой почвы крупный сорняк вместе с корнем довольно трудно. А если вы об режете лопату по краям, оставив сбоку выступ для упора ног, и ударами молотка изогнете ее плоскость, дело значительно упростится. Инструмент втыкают в землю рядом со стеблем и удаляют сорняк без лишних усилий.
Другой, похожий инструмент годится не только в войне с сорняками, но и заменяет бур при очаговой подкормке деревьев. Его вонзают в землю под углом 45°, раскачивая, поворачивают на 1/4 оборота – и лунка готова.
Если же сделать полотно лопаты еще уже, хорошо будет рыхлить землю под разросшимися низкими кустами и стелющимися плодовыми деревьями. Рыхление производится без оборота пласта.
Чтобы не таскать с собой громоздкую пилу для обрезки сучьев, сделайте себе маленькую, умещающуюся в кармане фартука. Ее конструкция такая же, как и у перочинного ножа. Ручка деревянная. Подобный инструмент легко смастерить из достаточно большого складного ножа, заменив его лезвие узким полотном. В этом случае, однако, пила получается чересчур короткой и потому не всегда удобной в работе.
Бордюр из деревянных чурок "ближе к природе"; он и выглядит необычно, и в строительстве достаточно прост. Чурки длиной около 0,5 м пилят из тонких, 8-11 см в диаметре, бревен.
Косой срез необходим и для красоты, и для стока дождевой воды. Перед тем как установить чурки на место, их антисептируют, а то, что окажется в земле, еще обертывают несколькими слоями полиэтиленовой пленки или рубероидом.
Вот какой самодельный "мини-культиватор" для рыхления (рис. 93), а также для срезки травы можно сделать из куска стали толщи ной 2,2 мм. Трубку для черенка изготовляют из трубы диаметром 22 мм. Лезвие и трубку можно склепать или сварить.