
Рис. 36 г – е. Ракета Пирамида
1. Сложить базовую форму "двойной треугольник" и согнуть углы к середине вниз с обеих сторон (рис. 37 а).
2. Углы подогнуть вниз внутрь фигуры и расправить ее (рис. 37 б), сложить пирамиду (рис. 37 в).

Рис. 37 а – в. Пирамида
...
В традиционном японском быте поделки в технике оригами служили и сугубо практическим целям, например из бумаги складывали обычные для древних японцев кошельки тато.
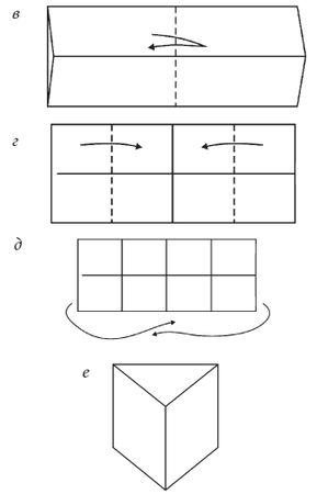
Призма трехгранная
1. На квадратном листе наметить середину (рис. 38 а).
2. Согнуть верхнюю и нижнюю стороны к середине (рис. 38 б).

Рис. 38 а, б. Призма трехгранная
3. Проложить середину по вертикали (рис. 38 в).
4. Наметить линии, сложив боковые стороны фигуры к середине (рис. 38 г).
5. Заправить боковые стороны одну в другую (рис. 38 д) и сложить трехгранную призму (рис. 38 е).

Рис. 38 в – е. Призма трехгранная Параллелепипед
1. На квадратном листе наметить середину (рис. 39 а).
2. Сложить к ней верхнюю и нижнюю стороны (рис. 39 б).
3. Наметить 4 вертикальные складки, чтобы фигура была разделена на 5 равных частей (рис. 39 в).
4. Заправить боковые стороны одну в другую (рис. 84 г) и сложить параллелепипед (рис. 39 д).

Рис. 39 а, б. Параллелепипед

Рис. 39 в – д. Параллелепипед Бусы
Бусины-оригами выполняют из половинок, которые соединяют вместе. Бусины можно делать любых размеров.
Вам потребуются два квадратных листа бумаги. Они могут быть разных размеров. Длина готовой бусины должна равняться длине стороны квадрата. Если квадрат имеет размеры 10 × 10 см, то бусина должна быть длиной 10 см.
1. Чтобы сделать половину бусины, надо сложить базовую заготовку:
1) положить бумагу на стол лицевой стороной вверх. Согнуть правый нижний угол к верхнему левому углу. Примять сгиб и развернуть бумагу; отогнуть левый угол снизу к правому верхнему, продавить сгиб и развернуть бумагу. Перевернуть лист и сложить пополам по боковым краям, развернуть его;
2) сложить лист пополам по верхнему и нижнему краям. Взять его двумя руками за нижний край по обе стороны от косых сгибов;
3) сдвинуть пальцы так, чтобы все косые сгибы совпали друг с другом посередине. У вас получатся четыре выступающих треугольника;
4) треугольник спереди отогнуть вправо, а сзади – влево. Расправить бумагу (рис. 40 а).
2. Положить сложенную заготовку раскрытыми краями вверх. Согнуть верхний левый уголок так, чтобы он стал перпендикулярным плоскости стола. Вставить палец или карандаш внутрь треугольника, отогнутого по п. 2, и распрямить его. Удалить палец или карандаш (рис. 40 б).
3. Сложить пальцем отогнутый конус и распрямить его. Верхняя линия сгиба должна соответствовать отогнутым краям под ней (рис. 40 в).
4. Перевернуть заготовку на другую сторону и повторить действия из пп. 2–3. Теперь обе стороны заготовки должны выглядеть похоже (рис. 40 г).

Рис. 40 а – г. Бусы
5. Согнуть левый маленький треугольник так, чтобы он находился поверх правого. Наружные края обоих треугольников обязаны совпадать (рис. 40 д). 6. Приподнять левый большой треугольник, как описано в п. 2, и повторить действия из пп. 2–3. Аккуратно расправить заготовку фигурки, чтобы она лежала на столе плоско (рис. 40 е).

Рис. 40 д – з. Бусы
7. Перевернуть на другую сторону заготовку и повторить действия двух предыдущих пунктов. Аккуратно расправить все ее сгибы для половины бусины.
8. Так же оформить другую половину бусины.
9. Готовые половинки вставить друг в друга, "наживив" (рис. 40 ж).
10. Продвинуть заостренные концы одной половины под плоские концы другой. Делать это следует постепенно (рис. 40 з).
Как нанизывать бусы
1. Отрезать кусок тонкой проволоки длиннее бусины и загнуть с одного конца, как петельку. Это будет ваша иголка.
2. Продеть в петельку нитку и завязать ее узлом на конце. Надеть на нитку маленькую пластмассовую бусину, чтобы большая не падала с нитки. Иголку нужно протягивать как можно более аккуратно, чтобы не повредить бумагу.
3. Обрезать кончики всех бусин-оригами так, чтобы сквозь получившиеся отверстия протянуть нить.
4. Нанизать бусины на нитку и у пластмассовой бусинки завязать узелком. Соединить края нити.
Звезда
Вам понадобится квадратный лист бумаги со сторонами по 15 см.
1. Согнуть лист пополам слева направо. Согнуть верхний слой верхнего правого уголка влево по пунктирной линии, обозначенной на рисунке, так, чтобы правый уголок касался центральной линии сгиба. Сгиб примять (рис. 41 а).
2. Разрезать оба слоя бумаги по линии, образованной левым краем уголка, отогнутого в п. 1. Потом сложить звезду, используя лишь нижний вырезанный треугольник. Развернуть лист, разгладить его на плоскости (рис. 41 б).
3. Положить треугольник изнанкой вверх. Отогнуть кверху по диагональной пунктирной линии на рисунке нижний правый уголок. Развернуть его обратно (рис. 41 в).
4. Отогнуть нижний левый уголок к верхнему уголку, развернуть. Перевернуть бумагу. Согнуть все три уголка к середине, обозначенной на рисунке. Развернуть их (рис. 41 г).
...
Существует древняя японская легенда про мастера, который создавал оригами всю жизнь. Мудрые монахи сказали ему, что в его искусстве – его богатство и делать оригами он должен всегда. Вот он так и поступал, даже когда пришла война и остальные люди очерствели и озлобились. Когда же разъяренная толпа ворвалась в его мастерскую, чтобы все сжечь, мастер предложил им выбрать на память по фигурке и тут же сложил бумажного журавля. Птица ожила и полетела. Люди снова поверили в себя и смогли бороться с захватчиками.
5. Перевернуть бумагу. Согнуть и развернуть все три уголка к противоположным от них сторонам треугольника так, чтобы кончик каждого уголка совпадал с серединой противоположной стороны (рис. 41 д).
6. Отогнуть верхний уголок вниз по линии, продавленной в п. 5. Теперь отогнуть нижнюю часть этого уголка вверх по линии, продавленной в п. 4 (рис. 41 е).
7. Повторить действия п. 6 с правым и левым уголками треугольной заготовки. Верхнюю часть левого выступа заправить под верхний выступ (рис. 41 ж).

Рис. 41 а – в. Звезда

Рис. 41 г – е. Звезда

Рис. 41 ж. Звезда Праздничный орнамент
1. Сделать базовую форму "блинчик". Сложить фигурку пополам (рис. 42 а).
2. Согнуть верхний угол верхнего слоя к середине нижней стороны фигурки (рис. 42 б).
3. Загнуть правую сторону фигурки назад. Выполнить восемь таких модулей (рис. 42 в).
4. Вставить один модуль в другой (рис. 42 г).
5. Присоединить остальные. Орнамент готов (рис. 42 д).
6. Для второго орнамента выполнить действие п. 1, согнуть спереди и сзади верхние углы к середине нижней стороны фигурки (рис. 42 е).
7. Загнуть правую сторону фигурки назад (рис. 42 ж).
8. Выполнить 8 таких модулей (рис. 42 з).
9. Вставить их один в другой так, чтобы углы не торчали. Соединить таким же образом все остальные. Орнамент готов (рис. 42 и).

Рис. 42 а – г. Праздничный орнамент

Рис. 42 д – з. Праздничный орнамент