Двери
Двери внутри дома должны быть изящными, полностью подходить к интерьеру кабинета, а иногда даже выделяться роскошью и индивидуальностью отделки. Межкомнатные двери, ведущие непосредственно в кабинет, могут отличаться от других дверей дома или, наоборот, быть идентичными (для создания единообразия). В любом случае этот элемент интерьера позволяет реализовать фантазии и возможности, благодаря чему и создается индивидуальный стиль интерьера каждого дома.
Подходящую дверь можно приобрести в магазине строительных материалов или оформить самостоятельно.
Дверной блок состоит из коробки и дверного полотна, которое должно плотно, но без труда входить в коробку.
Для того чтобы построить дверную коробку, необходимо подобрать 4 бруска, 2 из которых будут равны высоте дверного проема, а 2 оставшихся – ширине проема. Брусья для коробки выбирают большие – до 20 см шириной и до 6 см толщиной. Эти блоки нужно сбить в прямоугольник. Чтобы дверь плотно закрывалась и открывалась только в одну сторону, необходимо на 1–1, 5 см снять древесину с внутренней стороны прямоугольника. Затем полотно двери устанавливают именно с учетом расположения этой фаски.
Сделать полотно двери достаточно просто. Прежде всего нужно выбрать основу будущего полотна, которую потом можно обклеить пластиком или самоклеящейся пленкой. Особо ценится массивное полотно из цельной древесины. Из более доступных материалов можно использовать толстую древесно-стружечную плиту, которую выпиливают на несколько сантиметров меньше необходимых размеров. Это делается для того, чтобы с торцевых сторон можно было прибить или посадить на клей планки, скрывающие некрасивую основу. Используя такие планки, можно достаточно хорошо имитировать толстую дверь из цельного массива древесины. Затем плиту нужно оклеить фанерой.
В зависимости от того, как потом будет отделываться сторона двери, можно использовать ламинированную или обычную фанеру. Ламинированная фанера обладает очень гладкой поверхностью, поэтому подходит как основа под самоклеящуюся пленку или покрывается несколькими слоями древесного лака.
Неламинированная фанера стоит дешевле. Она требует дополнительной обработки перед непосредственным покрытием лаком. Но на нее очень хорошо клеится шпон.
После того как полотно двери готово, но еще не покрыто лаком, все соединения нужно тщательно проверить. Рекомендуется еще раз пройтись рубанком и отшлифовать шкуркой, сгладив все неровности.
Раздвижная дверь на роликах
Такая дверь бывает более удобна, чем распашная, а в ряде случаев просто необходима в целях экономии пространства, если кабинет занимает небольшую площадь.
При изготовлении раздвижной двери нужно постараться максимально облегчить конструкцию. Для этого можно уменьшить сечение брусков, а также сократить количество горизонтальных брусков. Нижний и верхний бруски должны быть более широкими (по вертикали), так как на них будет закреплена конструкция с роликами.
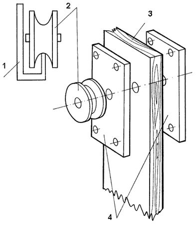
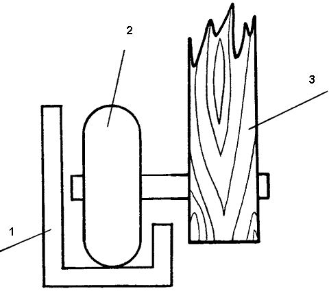
Ролики могут быть самого разного диаметра и толщины. Они могут иметь посередине гребень или паз. Движутся ролики по жестко закрепленной направляющей – круглому металлическому прутку или п-образному профилю. На рисунках 8 и 9 изображена конструкция с использованием профиля. Ролики крепятся к дверному полотну сквозь металлические накладки. Профиль должен быть в 2 раза длиннее ширины двери, чтобы оставалось место на ее откат.

Рис. 8. Схема крепления верхних роликов раздвижной двери:
1 – профиль; 2 – ролик; 3 – дверное полотно; 4 – металлические накладки

Рис. 9. Схема крепления нижних роликов раздвижной двери:
1 – профиль; 2 – ролик; 3 – дверное полотно
Необходимо периодически смазывать ролики и очищать профили от пыли и забившейся в них грязи.
Декоративная отделка стекольных проемов
Во многих новых квартирах установлены застекленные двери. Причем в большинстве случаев используется самое обычное прозрачное стекло, что не всегда удобно – эффект аквариума лишает кабинет уюта. Чтобы исправить положение и при этом не испортить эстетический вид комнаты, можно сделать декоративную отделку стекла.
Матовое покрытие
Для начала необходимо очистить стекло от грязи и жира, затем обработать всю его поверхность с одной стороны крупнозернистой наждачной бумагой. Когда стекло будет равномерно отшлифовано, надо сменить бумагу на мелкозернистую и продолжать обработку до тех пор, пока поверхность стекла не станет полностью непрозрачной. Важным критерием остается аккуратность выполненной работы – матовость должна покрывать стекло с равномерной плотностью.
Перед тем как приступить к выполнению этой работы, следует закрыть нос и рот влажной марлевой повязкой, а глаза – защитными очками. После работы необходимо тщательно вымыть руки.
Опаловое стекло
С помощью этого метода можно не только сделать стекло непрозрачным, но и нанести на него красивый узор. Помимо дверных проемов, опаловые стекла как нельзя лучше будут смотреться вставленными в балконные рамы, что особенно удобно для тех, кто живет на первых этажах.
Для придания стеклу опалового эффекта готовят следующий состав: 3 части сернокислого цинка, 3 части сернокислого магния и 3 части декстрина растворяют в 20 частях воды. Этим составом покрывают предварительно вымытое и протертое ацетоном стекло (с внутренней стороны). При высыхании смесь солей кристаллизуется в виде узора, состоящего из мелких иголок, – стекло становится непрозрачным.
Витражи
Стекла в дверях (а также в окнах) можно украсить красивой мозаикой из цветного стекла. Для этого потребуется лист стекла (основа), осколки цветного стекла и конторский силикатный клей (помимо клея, можно также использовать эпоксидные и полиэфирные смолы). Однако прежде всего создают эскиз витража в натуральную величину. Его приклеивают к обратной стороне основного листа лицевой стороной к стеклу. Вместо этого можно нанести контуры будущего витража прямо на стекло масляной краской.
Перед началом работ основное стекло протирают нашатырным спиртом, после чего на него наносят клей и сразу же выкладывают узор из цветного стекла, которое предварительно разбивают на кусочки нужного размера.
Когда клей подсохнет, выложенную мозаику снова покрывают слоем клея. Таким образом все неровности и шероховатости сглаживают, делая поверхность витража слегка волнистой и блестящей.
Помимо стеклянной мозаики, витраж можно сделать, просто раскрасив стекло в различные цвета. Для этого используют специальный трафарет-маску. В качестве красок применяют масляные, разведенные в мебельном нитролаке или клее БФ-2, разбавленном ацетоном. Можно изготовить краски из тканевых красителей и желатина, при этом лак или клей наносят после того, как нанесенные на витраж краски подсохнут.
Обработка стекла под хрусталь
При желании можно обработать дверное стекло, сделав его похожим на хрусталь. Для этого понадобятся клей, желатин и квасцы. Приготовленным из этих элементов раствором покрывают стекло и оставляют на 30 мин. Затем наносят второй слой раствора и стекло ставят на просушку при комнатной температуре. На следующий день его следует поместить в сушильный шкаф, нагретый до температуры 40 °C. Нанесенный на стекло клей начнет сжиматься и с треском отделяться от стекла, при этом оставляя на нем замысловатые узоры, делая стекло похожим на хрусталь.
Подобную гравировку можно провести локально, для чего места, которые должны остаться чистыми, предварительно покрывают воском или парафином. Таким образом можно соз-дать собственный узор.
Ремонт дверей
Один из распространенных дефектов старых дверей (или плохо укрепленных новых) – расшатанная коробка. В этом случае ее необходимо укрепить.
Прежде всего нужно установить коробку так, чтобы соответствующие ее части выровнялись по вертикали и по горизонтали. Это делают с помощью клиньев, которые забивают между стеной и коробкой, временно закрепляя последнюю в проеме. Затем с каждой боковой стороны коробку крепят в трех местах: в одном – на уровне 1 м от пола, в остальных – на расстоянии 30–40 см от верха и низа коробки. Для этого в стене просверливают отверстия диаметром не менее 5 см и в них забивают деревянные пробки, после чего устанавливают коробку и прибивают к пробкам толстые гвозди. При этом шляпки гвоздей должны быть утоплены в древесину на 2–3 мм.
Дверная коробка должна плотно располагаться в проеме. Если же между ней и торцами стены остается пространство, коробка будет висеть только на гвоздях, отчего быстро расшатается. Поэтому пространство нужно заполнить. Для этого в щели вбивают рейки, заранее подогнанные по толщине, после чего оставшиеся изъяны замазывают раствором. Можно также заполнить пространство быстрозастывающим раствором – гипсовым или гипсоцементным. Когда раствор высохнет, закрепляют наличники.
Если дверь скрипит, надо поднять ее немного вверх с помощью ручки молотка, топора или металлического лома, а петли смазать машинным маслом или свиным жиром. Можно в щель приподнятой петли положить маленький кусочек графита от карандаша. Графит разотрется в порошок и будет долго служить в качестве отличной смазки, к тому же свои качества он сохраняет даже в самый сильный мороз.
После этого дверь следует несколько раз открыть и за-крыть, пока смазка не распределится по осям петель. Затем дверь опускают и устанавливают в нормальное положение.