
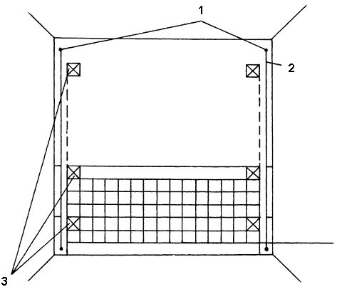
Рис. 4. Облицовка стен плиткой по маякам:
1 – гвозди; 2 – шнур отвеса; 3 – маячные плитки
Для того чтобы положить плитку на бетонную стену, вместо гвоздей для провешивания используют гипсовые марки (лепешки), устанавливая их так же, как и гвозди. Гипсовые марки прижимают к стене с помощью мастерка или терки до требуемой высоты по шнуру и отвесу.
Перед облицовкой поверхность стен необходимо смочить слегка водой, чтобы раствор быстрее схватился. Раствор или мастику шпателем наносят на поверхность. При этом шпатель следует прикладывать к поверхности под углом 45°. Раствором нужно покрывать не всю поверхность, а только ту ее часть, на которую можно положить плитку за 10 мин. Плитки кладут рядами, в направлении сверху вниз. Швы между ними делают шириной около 3 мм. Каждую плитку выравнивают легкими постукиваниями, пока она не встанет так, как нужно. На открытые участки стены прикрепляют цельные плитки, а у пола, за мебелью и т. д. – обрезанные. У дверных и оконных проемов плитки кладут таким образом, чтобы на противоположных сторонах они были симметричны друг другу.
Раствор схватывается с плиткой, как правило, в течение 3 сут. После схватывания раствора каждую плитку протирают влажной ветошью, не трогая при этом швы.
Чтобы швы выглядели декоративными, можно использовать деревянную шпильку с закругленной головкой, которой проводят по швам плиток. После этого вновь нужно протереть плитки влажной ветошью. Кроме этого, швы можно заполнять водостойкими замазками, приготовленными из белого цемента (1 часть), смешанного с мелкозернистым песком (1 часть) или олифой и мелом, взятыми в соотношении 1: 4.
Границы плиток со стенами, а также углами должны быть аккуратными. Для этого необходимо отметить их эластичной силиконовой мастикой, заранее защитив от нее края плиток клейкой лентой. Затем нужно разгладить мастику и подождать, пока она затвердеет, и только после этого можно удалить клейкую ленту.
Иногда приходится резать плитку. Для этого нужны стеклянные резаки по металлу и шаблон. К целой плитке прикладывают шаблон и с лицевой ее стороны делают по нему надрез. После этого плитку следует разломить руками или губками резака.
Чтобы проделать отверстие в плитке, необходимо выбрать сверло нужного диаметра и вставить его в дрель. Сверлить плитку следует осторожно и аккуратно, так как от резких движений она может треснуть.
Окрашивание стен
Окрашивание стен – один из видов цветового оформления помещения. Его достоинством является то, что при этом способе возможности декорирования стен практически не ограничены. Существует много вариантов окрашивания стен краской. Так, можно подбирать краску по принципу контра-ста, то есть для окрашивания стен использовать два или несколько цветов, или окрашивать лишь отдельные элементы помещения, например плинтусы, наличники, окна, отопительные приборы и т. д.
Перед тем как выполнять малярные работы, прежде всего необходимо подготовить поверхность. Она должна быть ровной, гладкой и без дефектов.
Шпаклевка и подмазка
Деревянную поверхность тщательно очищают от засмолов и сучков на глубину не менее 0, 3 см, все трещины слегка разводят и заполняют их шпаклевкой по дереву, которую можно без особых проблем приготовить самостоятельно.
Шпаклевка по дереву для клеевого окрашивания
Прежде чем начать малярные работы, сначала необходимо приготовить шпаклевку. Для этого понадобятся: 10 %-ный клеевой раствор (1 часть), олифа (0, 25 части) и просеянный через мелкое сито мел (2, 5 части). Клеевой раствор ставят на медленный огонь и доводят до температуры плавления. Затем добавляют в него олифу и мел. По своей консистенции шпаклевка должна напоминать рыхлое тесто. Чтобы шпаклевка была более эластичной и лучше разглаживалась, к уже перечисленным компонентам добавляют 0, 015 части хозяйственного мыла. Предварительно мыло нужно измельчить и засыпать в горячий клеевой раствор, все тщательно перемешать и добавить в полученную смесь мел и олифу.
Шпаклевка по дереву для масляного окрашивания
Чтобы приготовить такую шпаклевку, понадобится натуральная олифа (1 часть), скипидар (0, 25 части), сиккатив (0, 5 части), хозяйственное мыло (0, 02 части), 10 %-ный клеевой раствор (0, 2 части) и мел в количестве, необходимом для получения смеси рабочей вязкости.
Клеевой раствор нужно разогреть на медленном огне, смешать его с наструганным мылом и тщательно перемешать. После этого в полученную смесь добавляют олифу, сиккатив, растворитель и вновь все перемешивают. В последнюю очередь добавляют мел.
Кроме шпаклевки, также можно применять и подмазку.
Подмазка для поверхности под клеевую окраску
На 1 часть просеянного через мелкое сито гипса берут 2–2, 5 части также просеянного через мелкое сито мела и 3–5 %-ного клеевого раствора в количестве, нужном для получения смеси рабочей вязкости. Мел смешивают с гипсом и добавляют в клеевой раствор. Полученную смесь тщательно перемешивают.
Подмазка для поверхности под масляную окраску
Для приготовления этой подмазки предварительно разогревают 100 г 10 %-ного раствора столярного клея. Затем в него вливают 1 кг олифы и после перемешивания добавляют мел в количестве, необходимом для получения подмазки рабочей вязкости. Смесь перемешивают до однородного состояния.
Перед тем как покрыть краской гипсовую или оштукатуренную стену, ее необходимо отшлифовать пемзой или наждачной бумагой. Если на поверхности стены имеются щели и трещины, их нужно расширить, смочить водой и заполнить подмазкой. Неровности и другие дефекты можно сгладить шпаклевкой. После шлифования поверхность огрунтовывают.
Грунтовка под клеевое и известковое окрашивание
На 3 части жирного известкового теста берут 0, 2 части хозяйственного мыла и 0, 1 части олифы. Мыло предварительно нужно измельчить и залить небольшим количеством кипящей воды, при этом оно должно полностью раствориться. После этого в горячий мыльный раствор небольшими порциями вливают олифу и тщательно все перемешивают. Затем туда добавляют известковое тесто, размешивают до получения однородной массы и процеживают. После этого полученную смесь разводят водой, чтобы получилось 10 л состава.
Купоросная грунтовка под клеевое окрашивание
Для приготовления 10 л этой грунтовки понадобятся следующие компоненты: 150 г медного купороса, 250 г хозяйственного мыла, 200 г любого животного клея, 30 г олифы, 2 кг измельченного и просеянного через мелкое сито мела. В кипяченую воду (3 л) засыпают медный купорос. В 2 л воды проваривают клей. Наструганное мыло растворяют в 2 л воды. Мыльный раствор смешивают с клеевым раствором и небольшими порциями вливают в него олифу. Смесь необходимо тщательно перемешать.
Затем тонкой струйкой в нее вливают раствор медного купороса. После полного охлаждения состава в него добавляют мел и воду, чтобы получилось 10 л грунтовки, которую затем процеживают.
На каждый квадратный метр оштукатуренной стены следует использовать примерно 300 г грунтовки, на каждый квадратный метр кирпичной стены – 450 г.
Перед окрашиванием оштукатуренных, гипсовых и деревянных стен масляной краской их пропитывают чистой олифой, предварительно подогретой (чтобы она лучше впитывалась в поверхность).
Для внутренних и наружных стен применяют известковые красители.
Меловые и клеевые используют только для внутренних оштукатуренных поверхностей. Окрашивать стены нужно в направлении сверху вниз.
Известковый краситель можно наносить на влажные стены. А второй слой красителя помещают только после полного высыхания первого.
Колеры
Колеры (клеевые красители) можно приготовить по следующим рецептам.
Для приготовления колера белого цвета понадобится: 1 кг просеянного через мелкое сито мела, 3 л воды, 40 г ультрамарина, 70 г столярного или плиточного клея. В 1, 5 л воды нужно растворить мел. Затем готовят раствор ультрамарина из расчета 40 г вещества на 1, 5 л воды. Полученный раствор следует процедить. Растворы перемешивают и добавляют клей.
На качество колера влияет количество клея: если его мало, колер отмеливается, а если его много, колер после высыхания растрескивается. Для проверки качества колера можно покрыть им участок поверхности и дать ему высохнуть. После этого окрашенный колером участок нужно потереть рукой: хороший колер не должен сильно отмеливаться. Если это все же происходит, значит, в нем мало клея; если на окрашенном участке остались блестящие полосы, значит, в колере содержится большое количество клея. Чтобы уменьшить содержание клея в колере, в него необходимо добавить немного воды.
Качество колера также зависит от его вязкости. Деревянную палку помещают в краситель и сразу же достают. Хороший колер должен покрывать палку сплошным слоем и стекать с нее непрерывной тонкой струйкой. Перед применением колер необходимо процедить.
Кроме колера белого цвета, можно приготовить и цветной колер. Для этого к белому колеру добавляют пасту необходимого цвета.
Масляные краски
Масляными красками можно покрывать внутренние и наружные стены. Они наносятся тонкими слоями обычно в 2–3 приема.
Покрывать этой краской следует только сухие стены. Новые слои наносятся на предыдущий только после того, как он высохнет.
Готовые к использованию масляные краски тщательно перемешивают. В том случае, если приходится работать с густотертыми (пастообразными) красками, их разбавляют олифой и перед применением также тщательно перемешивают.
В том случае, если нужно соединить несколько красок, каждую краску следует предварительно перемешать и процедить.