Всего за 104.9 руб. Купить полную версию
ВНИМАНИЕ
При работе с деревом следует использовать только оцинкованные гвозди, защищенные от коррозии. Если же гвозди подвержены ржавчине, то древесина в местах соприкосновения с коррозирующим металлом будет гнить.
Если опорные столбы выполнены из кирпича, то лаги лучше монтировать в процессе выкладывания столбов. Если же столбы уже готовы, то в нужных местах просверливаются отверстия, в которые вбиваются деревянные пробки - закладные (в качестве закладных обычно используются куски того же бруса, из которого изготовлены лаги). К закладным затем крепятся лаги.
Столбы и лаги установлены, теперь осталось просто прибить штакетник к лагам оцинкованными гвоздями. При этом нижний край штакетника не должен доходить до грунта примерно на 10 см - чтобы исключить впитывание влаги с грунта и гниение древесины.
Нежелателен контакт нижнего края деревянного забора не только с грунтом, но и с растениями. Прополку в непосредственной близости от ограды делать затруднительно, к тому же сложно пользоваться садовыми инструментами. Гораздо проще обработать землю под оградой и вдоль нее отработанным машинным маслом, чтобы исключить рост растений.
При установке "прозрачного" забора штакетник закрепляется таким образом, чтобы между досками оставалось выбранное расстояние. Если же ваша цель - сплошной забор, то между досками необходимо оставлять небольшой зазор, так как иначе забор может деформироваться после первого дождика.
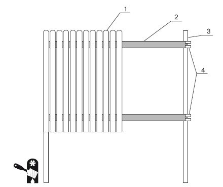
Для того чтобы увеличить срок службы забора, желательно использовать штакетник с закруглением в верхней части или обрезанный под углом - для лучшего стока воды. Можно также защищать штакетник от влаги с помощью деревянного уголка или доски (рис. 2.12–2.16).

Рис. 2.12. Забор из штакетника с закруглением и обрезом по дуге:
1 - доска; 2 - лаги из бруса; 3 - опорный столб; 4 - уголки для крепления лаг

Рис. 2.13. Забор из штакетника с обрезом по дуге

Рис. 2.14. Забор из штакетника с уголком:
1 - доска; 2 - опорный столб; 3 - уголки для крепления лаг; 4 - уголок деревянный

Рис. 2.15. Забор из штакетника с закруглением:
1 - доска; 2 - лаги из бруса; 3 - опорный столб; 4 - уголки для крепления лаг

Рис. 2.16. Штакетник с закруглением и с заострением верхней части
Деревянный забор из штакетника может быть и двусторонним - доски крепятся к лагам не с одной стороны, а с двух (и со стороны улицы, и с внутренней стороны забора). Двусторонний забор из штакетника может быть и "прозрачным", и сплошным (рис. 2.17). Для того чтобы такой забор был "прозрачным", доски крепятся к лагам так, чтобы между ними и досками противоположной стороны оставалось 20–30 см.

Рис. 2.17. "Прозрачный" двусторонний забор из штакетника
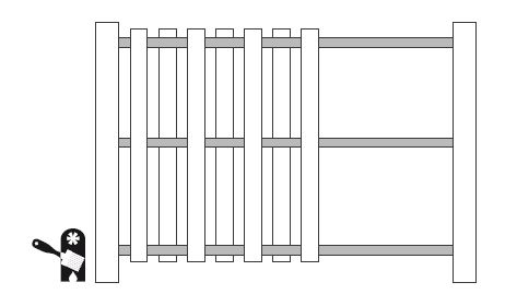
Возможно также крепление штакетника таким образом, чтобы доски с одной и второй стороны наполовину перекрывали одна другую - получается весьма прочное, устойчивое ограждение. Более декоративно выглядит сплошной двусторонний забор из штакетника, если расстояние между досками на каждой стороне составляет 20–30 см (рис. 2.18, 2.19).
Кроме вертикального крепления досок возможно и горизонтальное. Такой забор выглядит достаточно оригинально и придает участку индивидуальность. Для горизонтального крепления требуются доски большой длины - на всю длину пролета. Возможно несколько вариантов: крепление досок под углом (рис. 2.20), крепление досок встык друг к другу, крепление досок с переплетом (рис. 2.21). Крепление досок может быть как с одной стороны ограды, так и с двух - в случае параллельного расположения досок при двустороннем креплении ограда выглядит более декоративно (рис. 2.22).

Рис. 2.18. Глухой забор из штакетника: а - доски с разных сторон при креплении наполовину перекрывают друг друга; б - расстояние между досками на каждой стороне забора составляет 20–30 см

Рис. 2.19. Глухой забор из штакетника с двусторонним расположением досок
Крепление досок под углом продлевает срок службы ограды, так как способствует стоку воды.

Рис. 2.20. Горизонтальное расположение досок под углом

Рис. 2.21. Горизонтальное крепление досок с переплетом
Ограда с горизонтальным расположением досок обеспечивает лучшую ветрозащиту, чем ограда с вертикальным расположением, и особенно актуальна, если участок расположен в ветреном месте, не защищается соседними постройками или деревьями (что называется - в чистом поле).

Рис. 2.22. Двусторонний забор с горизонтальным расположением досок, параллельных друг другу
Возможно комбинирование двустороннего вертикального расположения досок и горизонтального - очень декоративный вариант ограды. Горизонтальные доски могут располагаться любым образом, в том числе и переплетом (рис. 2.23).

Рис. 2.23. Комбинированное расположение досок ограды
Расположение элементов обрешетки может быть не только горизонтальным или вертикальным. Возможно любое расположение, к примеру под углом. Если вы хотите создать оригинальную ограду, можно выбрать диагональное расположение штакетника. Для этого нужно будет изготовить раму, к которой он и будет крепиться. Рама затем закрепляется на лагах.
Рама может быть как строго прямоугольной, так и со срезанными углами - подобная форма способствует лучшему стоку воды и удлиняет срок службы ограды.
Можно выбрать веерное расположение штакетника - это позволит использовать минимальное количество материала и получить оригинальную ограду. Штакетник в этом случае крепится непосредственно к лагам.
Забор из штакетника или досок можно украсить декоративными элементами, выполненными из реек (рис. 2.24).

Рис. 2.24. Декоративный элемент деревянной ограды
Частокол
Наиболее бюджетный вид деревянной ограды - частокол. Фактически это просто деревянные колья, вбитые в землю (рис. 2.25).