
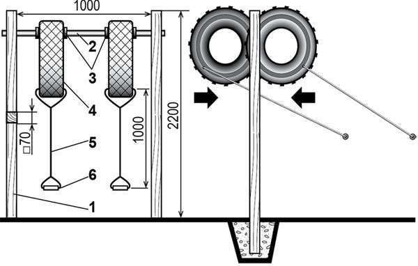
Рис. 83. Универсальный снаряд для силовых упражнений "Колокольня": 1 – стойка (деревянный брус 700×700, 2 шт.); 2 – поперечина (водопроводная труба); 3 – ограничители (резиновые шайбы); 4 – покрышка от грузового автомобиля, 2 шт.); 5 – трос или шнур (2 шт.); 6 – ручки (отрезки шланга)
При тяге за рукояти каждый трос приводит асимметрично подвешенные покрышки из состояния равновесия в движение. Амплитуда движений пропорциональна величине приложенных усилий. Для поддержания ритмичных колебаний одновременно двух грузов требуется своевременно приложить усилия (их следует прилагать лишь тогда, когда движение направлено в сторону занимающегося, а не от него). При несовпадении направлений и усилий амплитуда качаний уменьшается за счет гашения накопленной энергии
Соответственно, для успешного продолжения упражнений в поддержании ритмичных качаний обоих грузов требуются постоянное перераспределение внимания и своевременное приложение усилий. Такие упражнения оказываются интересными для большинства занимающихся, поскольку способствуют совершенствованию физических качеств и развивают чувство ритм.
Более трудные упражнения на этом снаряде возможны при опоре на обе рукоятки ногами и хвате руками за боковины покрышек. При этом из-за неустойчивости малейшие движения выводят их из состояния равновесия, для возвращения в которое от занимающихся требуется максимальное напряжение мышц всего тела. В результате расходуется очень много энергии (что, кстати, способствует довольно быстрому похудению).
Овладевают упражнениями на этом снаряде не сразу, а по мере приобретения определенной ловкости и силы, а также приложения достаточных волевых усилий. Занятия на снаряде вызывают, как правило, исключительно положительные эмоции, способствующие желанию продолжить физические нагрузки.
Отодвинув покрышки к стойкам и закрепив их тросами, можно превратить снаряд в обычную перекладину – турник, основную часть упражнений на котором проделывают в положении виса: гравитационные силы тянут тело вниз, нагрузка приходится совсем на другие группы мышц. Поэтому упражнения на перекладине рекомендуется выполнять на каждом занятии. Однако следует помнить, что рискованные упражнения не следует делать без страховки и размещения под снарядом эластичных матов.
Тренажер "Насос"
На рис. 84 предложено устройство, которое условно можно назвать "Насос". Оно действительно похоже на старинный пожарный насос для подачи воды из колодца. Тренирующийся берется за ручку длинного рычага и налегает всем весом, поднимая расположенный на противоположном конце солидный груз из нескольких покрышек (их количество и вес может варьироваться). Причем, если подход к снаряду с одной стороны тренирует жим вниз, с другой – предполагает работу на подъем груза.

Рис. 84. Снаряд-противовес "Насос": 1 – ручки; 2–рычаг (водопроводная труба); 3 – стойки (водопроводная труба, 2 шт.); 4 – ось-шарнир (металлический стержень); 5 – штырь-ограничитель (переставляемый)
Этот относительно несложный снаряд содержит две стойки, между которыми на оси установлена прочная труба длиной 2,5–3 м. На торцах этого рычага имеются рукоятки, а на одном из плеч размещены покрышки. Они подвешены с возможностью их перемещения по трубе и фиксации с помощью переставляемых стопорных штырей и ряда отверстий вдоль трубы.
Благодаря возможности перемещения груза по плечу рычага доступна индивидуальная дозировка нагрузки упражнений. Например, для снижения нагрузки можно пододвинуть покрышки поближе к оси, а для повышения ее – отодвинуть их к рукоятке. Чтобы поднять груз, необходимо давить вниз на рукоятку, имеющуюся на незагруженной части рычага, или тянуть вверх за рукоятку, расположенную на загруженной его части.
После овладения упражнениями с максимальными отягощениями целесообразно создавать локальное воздействие нагрузки – например, только на мышцы рук. Для этого можно стать поближе к рукоятке и выполнять давления или тяги без сгибаний и наклонов туловища. При сидении или лежании под рукоятками также можно поднимать груз, нагружая остальные части тела.
Тренажер "Кузнечик"
Видоизменив предыдущую схему, можно получить не просто силовой, но и игровой снаряд, на котором тренирующийся сможет совершать, словно кузнечик, большие скачки. Такой тренажер (рис. 85) нравится и детям и взрослым. Он как бы объединяет в себе сразу две конструкции: турник и качели.

Рис. 85. Тренажер "Кузнечик": 1 – рама; 2 – груз противовес; 3 – стойка; 4 – ось
Основа снаряда – О-образная вертикальная рама из трубы. Нижнюю треть ее занимает блок из трех покрышек, верхняя часть которых скреплена трубчатой осью, а низ – поперечиной рамы. Ось тренажера входит в две стойки из двутаврового профиля, вкопанные в землю.
Если за верхнюю перекладину рамы потянуть на себя и вниз, блок покрышек поднимется и станет противовесом, способным как катапульта поднять тренирующегося и перенести на другую сторону, а затем обратно.
"Мягкая" штанга
На рис. 86 показан тренажер-штанга. Она включает в себя две петлеобразных параллельно вкопанных стойки из труб, образующие собой направляющие для грифа – поперечной трубы с отслужившими свой срок покрышками. Последние подвешены на ней с помощью отверстий в боковинах. Закрепляться такие диски на грифе могут, например, с помощью водопроводных муфт, используемых для соединения труб – достаточно нарезать на концах трубы-грифа несколько витков трубной резьбы.

Рис. 86. "Мягкая" штанга: 1 – гриф (водопроводная труба ¾ дюйма); 2 – дугообразная направляющая стойка (водопроводная труба ¾ дюйма); 3 – шины от легкового автомобиля
Если с такой штангой будут заниматься взрослые спортсмены, ее диски можно дополнительно утяжелить, насыпав в покрышки песок. А для коллективных тренировок малышей нужно просто увеличить расстояние между стойками. Тогда штангу могут поднимать сразу несколько ребят, организуя своеобразные командные соревнования.
Благодаря перемещению трубы в направляющих и свободной подвеске покрышек управление грузом оказывается доступным и безопасным для всех занимающихся. При этом возможно поднятие большего веса за счет добавления боковых покрышек, как и в упражнениях с традиционной штангой. После взятия веса падение покрышек не вызывает такого сильного шума. Кроме того, направляющие препятствуют уводу трубы вместе с покрышками, ограничивая перемещение штанги строго по вертикали. Этим самым амплитуда перемещения груза тренажера отличается от упражнений с традиционной штангой, которую можно перемещать вверх лишь по S-образной траектории, минуя согнутые колени. Упражнения на снаряде безопасны, груз можно перемещать на большую высоту, использовать доступный вес, регулируя его размерами или количеством навешиваемых покрышек.
Груз можно посылать сразу вверх рывком руками и толчком ног или сначала взять на грудь, а затем толкнуть его вверх. Упражнения с максимальным весом груза выполняются после достаточной разминки, при этом делают не более 4–6 подходов за одно занятие, а в каждом подходе груз поднимают не более одного раза. Все последующие подходы к тренажеру следует выполнять после дополнительного отдыха, когда почувствуете способность поднять груз так же быстро, как и в предшествующем подходе.
Для локального же воздействия на отдельные мышцы тела можно из положения лежа на спине на скамейке поднимать груз лишь руками. А оставив на трубе минимальное число покрышек и приняв положение ноги врозь с прижатыми к животу локтями, можно поднимать груз исключительно за счет усилий мышц предплечий.
Кольцевые "гантели" и "гири"
Довольно простой силовой снаряд, выполняющий функции гантелей, изображен на рис. 87, а. Он содержит параллельные стойки с упорами по бокам, удерживающими большую покрышку от грузовика, свободно насаженную с помощью отверстий в ее боковинах на стойки. Упражнения на таком снаряде оказываются еще более безопасными и доступными благодаря боковым упорам. При этом груз можно перемещать вверх и опускать вниз усилиями всего тела или руками, туловищем и ногами в положении лежа на скамейке. Вследствие медленного перемещения покрышки по стойкам (из-за большого трения резиновых отверстий) на этом снаряде целесообразно совершенствовать силовую выносливость, выполняя по нескольку подходов в конце занятий с продолжением упражнений до сильного утомления, причем отдых между подходами может быть и неполным.