Всего за 189 руб. Купить полную версию

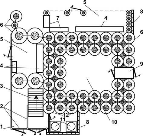
Рис. 12. План основания дома: 1 – гараж для мотоцикла или велосипеда; 2 –каркас стены технического этажа; 3 – лестничный марш; 4 – верстак; 5 – мастерская; 6 – покрышки; 7 – стеллаж; 8 – кирпичная стена; 9 – входной шлюз; 10 – хранилище; 11 – люки канализации; 12 – колодцы с канализационными трубами
Для той части фундамента, внутри которой оборудовано хранилище, стены имеют высоту более 2 м (10 слоев покрышек). Покрышки укладывают в два ряда, оставляя проем для входного шлюза.
Внутри колонн, образованных покрышками, размещаются канализационные трубы, обеспечивающие сток в приямки (рис. 13). Последние представляют собой колодцы, образованные покрышками от трактора "Беларусь" и наполовину заполненные песком. Сверху они накрыты бетонными плитами с чугунными канализационными люками.

Рис. 13. Устройство канализации
Делать канализационные стоки необходимо до возведения всего фундамента. В противном случае таким подкопом можно ослабить фундамент, что приведет к его неравномерной осадке.
Покрышки в рядах и слоях связаны счетверенной капроновой тесьмой и заполнены песком. Эту же связь можно сделать и гвоздями или скобами, главное – обеспечить надежную фиксацию смежных элементов фундамента. Для того чтобы закрыть щели между покрышками, перед заполнением промежутков песком можно использовать резину из старых автомобильных камер.
После того как основание выложено и покрышки заполнены песком, песок следует уплотнить: пролить водой, утрамбовать и досыпать песок в образовавшуюся полость. Эту операцию, возможно, придется повторить несколько раз, пока уровень уплотненного песка не достигнет верхнего края верхней покрышки.
Сделанные таким образом стены технического этажа перекрыты железобетонными плитами. Поверх бетонного перекрытия укладывают гидроизоляцию. Для этого можно настелить слой рубероида на горячий битум или использовать современные специализированные материалы.
Для входа на второй этаж используется чугунная лестница шириной 170 см. Две полутораметровые железобетонные плиты сдвинуты друг относительно друга на два с небольшим метра, благодаря чему перед лестницей образуется площадка. На том же уровне расположены гараж для мотоцикла, канализационные колодцы, помещения летнего туалета и душа-сауны. С другой стороны сделана открытая веранда для размещения пчелиных ульев.
Для опоры террасных плит перекрытия используются покрышки диаметром 1,5 м, которые сложены в 4 столба (два с каждой стороны по 8 покрышек в столбе). Пространство под плитами использовано под мастерскую и рядом с лестницей на террасу – под гараж для мотоцикла. На рис. 14 дан план перекрытий первого этажа.

Рис. 14. План перекрытия технического этажа: 1 – рельсы; 2 – железобетонные плиты перекрытия; 3 – летний душ; 4 – туалет; 5 – раздвижные двери; 6 –лестничный марш
Эксплуатация такого трехэтажного дома на резиновой основе показала, что в течение первого сезона осадка составила 1–1,5 покрышки. Затем осадка прекратилась. После утепления перекрытия и создания утепленного шлюза на входе в овощехранилище температура в последнем не опускалась ниже 0 °С.
Еще одним любопытным эффектом оказалась аккумуляция тепла внешним рядом покрышек. Тепло, накапливаемое ими за день, излучается и явственно ощущается в полутора метрах от них к утру следующего дня. Эта особенность необычного фундамента позволяет расположить по периметру здания теплицы или открытые грядки, которые будут давать богатые урожаи.
В качестве надежного основания можно использовать не только покрышки. Старые колесные диски грузовых автомобилей отлично исполняют роль столбчатых фундаментов для легких каркасных построек – садовых домиков, хозблоков и т. п. Достаточно после установки в узловых местах будущего сооружения и нивелировки залить диск бетоном или засыпать камнями, сделав поверху стяжку раствором. Диски допустимо ставить в несколько ярусов, в зависимости от грунта, солидности постройки и климатических условий. Разумеется, такие опоры годятся только для непросадочных грунтов.
Подвал
Такая конструкция подойдет всем, кому нужен погреб-подвал, но кто не может поставить его либо из-за отсутствия свободной территории, либо потому, что традиционный погреб из кирпича, блоков, бруса по материальным причинам соорудить не в состоянии. Дощатый же погреб делать вообще не стоит – он прослужит совсем недолго. Но если не полениться и поискать старые покрышки от тракторов К-700, МТЗ-80, Т-150 и т. п., то из них совсем не сложно сделать неплохой, достаточно вместительный, а главное, долговечный подвал для ваших заготовок на зиму.
Для начала выкопайте круглую яму нужной глубины. Затем у всех покрышек, кроме одной, обрежьте по кругу одну боковину, как показано на рис. 15. Вторую боковину не трогайте – это будущая полка. Укладывать шины в яму начинайте с самых тяжелых и жестких (для приведенного выше списка такими будут колеса от трактора К-700). Ориентируйте эту покрышку оставшейся боковиной вниз, затем на нее установите по очереди другие баллоны, пока не возведете стенки погреба на нужную высоту. Как уже говорилось, у одного баллона боковину срезать не нужно – он и будет венчать все сооружение. Последним – самым верхним – ляжет баллон наименьшего размера (от Т-150), который будет играть роль люка. Изнутри его следует утеплить мешками с соломой, а сверху соорудить деревянную крышку.

Рис. 15. Погреб-подвал из тракторных покрышек
Не забудьте устроить в подвале вентиляцию, если это необходимо. Для этого прорежьте в боковинах покрышки люка отверстие и вставьте туда трубу диаметром 50 мм. Наружный конец трубы обязательно прикройте грибком, который будет свободно пропускать свежий воздух, но не даст дождю залить ваши припасы. Дно цементировать не стоит – лучше положить деревянную решетку, на которую будет нижним концом опираться лестница. Впрочем, если погреб неглубокий, а масса вашего тела не очень велика, то без лестницы можно вполне обойтись.
В результате у нас получился достаточно вместительный погреб. Только на одну полку из покрышки от МТЗ-80 в таком подвале входит двадцать четыре трехлитровые банки! В таких подвалах не бывает крыс и мышей – видно, резина им не по вкусу. Соорудить же его можно буквально за считаные часы. Но у этого подвала есть один минус: для людей солидных форм он не подходит. Спуститься, а главное – вылезти обратно им будет сложно.