
Рис. 40. Водоподающая установка с винтом Архимеда: 1 – труба или шест, 2 – шланг; 3 – конусообразный наконечник; 4 – шкив; 5 – короткие опоры; 6 – упоры; 7 – открытый бак с краном; 8 – кронштейн; 9 – растяжка; 10 – электродрель; 11 – шкив; 12 – клиноременная передача; 13 – металлические опоры; 14 – продольные трубы; 15 – поперечная труба; 16 – одножильный провод или бельевая веревка.
Если на участке отсутствует электричество, в качестве привода винта можно применить ветряной двигатель.
Для оборудования системы капельного полива от водоподающей установки на грядках ставят металлические опоры, а на них крепят продольные трубы с отверстиями, просверленными по длине на расстоянии друг от друга, равном расстоянию между растениями. Трубы соединяют с поперечной трубой, имеющей входной и выходные штуцеры (по числу продольных труб). К продольным трубам возле каждого отверстия привязывают отрезок одножильного провода или обыкновенной бельевой веревки. При этом нижний конец провода не должен касаться земли. Входной патрубок системы с помощью шланга соединяют с баком. В открытые концы труб вставляют заглушки.
При включении привода винт начинает вращаться, набирает в шланг воду и, перекатывая ее по виткам, выливает в бак. Оттуда вода самотеком поступает в горизонтальные трубы и сквозь их отверстия по проводам – к корням растений.
Эта установка годится и для струйного полива низкорослых культур. В данном случае отверстия в продольных трубах необходимо сверлить не в один ряд, а в два под углом друг к другу, чтобы струйки были направлены в стороны. При использовании этого способа полива не надо будет ставить многочисленные колья для поддержки растений: их можно подвязывать к проводам или веревкам, по которым вода поступает к корням.
Гидробур и другие приспособления
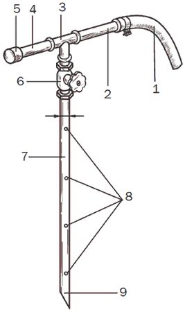
Чтобы подавать воду в глубинные слои почвы под определенным давлением, используют гидробур (рис. 41) – трубу со срезанным на "ус" концом. К трубе подводят шланг для подачи воды. Гидробур вводят в почву на требуемую глубину и включают воду.
Чтобы струей из шланга не размывало почву, особенно сразу после посева семян, садоводы обычно используют лейку, но и она не совсем удобна, так как вода из ее воронки течет неравномерно. Некоторые садоводы заменяют воронку на запаянную короткую трубку с пробитыми в ней мелкими отверстиями. Другой вариант представляет собой обыкновенное ведро. Поверх его чуть выступающего носика наложена и закреплена изогнутая расширяющаяся пластинка, похожая на обувной рожок. К внешнему краю пластинки припаяна поперечная пластинка, о которую ударяется поток воды и рассеивается веером.
Для полива овощей можно использовать одноколесную тачку. При этом кузов снимают, а на каркасе устанавливают большой бак, в бока которого впаяны с обеих сторон трубки такой длины, чтобы каждая перекрывала грядку по ее ширине. В нижней части трубок пробивают ряд небольших отверстий. Передвижную дождевальную установку провозят по центру междурядья и поливают сразу две грядки по сторонам от тачки с баком.

Рис. 41. Гидробур для глубинного полива почвы: 1 – шланг с хомутом; 2 – патрубок; 3 – тройник; 4 – патрубок-рукоятка; 5 – заглушка; 6 – вентиль; 7 – труба гидробура; 8 – отверстия диаметром 4 мм; 9 – наконечник.
Для орошения деревьев и ягодных кустарников можно сделать приспособления из эластичного поливочного шланга. В стенках шланга высверливают или прожигают отверстия диаметром 4–6 мм на расстоянии 15 см друг от друга. Шланг сворачивают вокруг дерева или кустарника кольцом радиусом 50 см, надев оба конца на тройник, подсоединенный к общему поливочному водопроводу. Достаточно лишь с помощью вентиля крана отрегулировать напор воды. Для полива небольших кустарников тройник можно не использовать. При этом один конец кольца из шланга затыкают деревянной пробкой, а другой надевают на водопроводную трубу. Вода при таком поливе равномерно распределяется вокруг растений, не заливая корневых шеек.
С такой же целью можно приспособить старую велосипедную шину, по окружности нижней части которой просверливают 8 отверстий диаметром 8 мм каждое. Внутрь шины вставляют разрезанный железный обруч от бочки. В верхней части шины прорезают еще одно отверстие, через которое вводят трубку или шланг от поливочного водопровода. Устройство следует закопать вокруг дерева на глубину 15-20 см, засыпать грунтом и производить полив с небольшим напором.
Следующее приспособление подойдет для полива овощных культур. Основой является бак на небольшой подставке – высотой 30-50 см. С помощью резиновой трубки и вентиля бак соединяется с цилиндром-коллектором, от которого отходят 4 патрубка. Через гибкие шланги они переходят в полиэтиленовые или дюралевые трубы диаметром 15-20 мм. Трубы, концы которых плотно закрыты заглушками, укладывают на земле вдоль ряда посадок на расстоянии 5–6 см от растений. По всей длине труб на расстоянии 40-60 см одно от другого просверливают отверстия диаметром 2–3 мм, сквозь которые нагретая в водонапорном баке вода медленно поступает к овощным культурам. Такую установку можно использовать и для корневых подкормок растений. При этом удобрения сначала растворяют в отдельной емкости, потом выливают в водонапорный бак.
Все перечисленные выше самодельные устройства для полива имеют один общий недостаток: вода расходуется непрерывно, что грозит размыванием почвы, гнилью растений и напрасной тратой драгоценной влаги. Поэтому в последнее время очень популярна капельная система орошения растений.
Эксплуатация и ремонт системы водоснабжения
Устройство трубопроводной арматуры
Для поливных систем используют обыкновенные черные стальные трубы, которые благодаря значительной длине требуют меньше проводной арматуры, легко режутся, поддаются гибке, сварке и нарезке резьбы. В поливных системах с давлением не более 1 кгс/см2 целесообразно использовать резиновые шланги и пластмассовые трубы, соединенные между собой пластмассовыми или стальными тройниками и втулками. Герметичность соединениям придают с помощью водостойкого клея, ленты ФУМ, резинового либо эпоксидного клея или холодной сварки. Кроме того, места соединения обжимают металлическими хомутами.
Стальные трубы спаивать сваркой, но неразъемные соединения затрудняют ремонт, а места сварки наиболее подвержены коррозии. Кроме того, сварочные швы на внутренней поверхности трубопровода заметно усиливают гидравлическое сопротивление, что весьма нежелательно, особенно если вода в системе продвигается самотеком.
При выполнении сварочных работ необходимо соблюдать элементарные правила техники безопасности: иметь под рукой 2 ведра воды, мокрую ткань, рукавицы и лист асбеста для предохранения строительных конструкций от возгорания. Наибольшее распространение в поливочном водопроводе получил способ разъемных соединений труб на резьбе с помощью муфт, а также безрезьбовых соединений с помощью фланцев и хомутов.
Муфтовые соединения надежны и просты, они позволяют выполнять все подготовительные и монтажные операции с помощью обыкновенных инструментов и материалов, без участия специалиста высокой квалификации.
Для изменения направления потока воды и для различных отводок труб используют фасонную трубопроводную арматуру (фитинги) в виде угольников, крестовин, тройников, переходников. Если обе соединяемые трубы не подвергаются вращению, применяют соединение муфтой на сгоне с одной или двумя контргайками (рис. 42).