
Рисунок 107 (продолжение). Печь "Шведка" с камином (общий вид): 1 – чистка

Рисунок 108. Печь "Шведка" с камином (в разрезах): 1 – горячий газоход; 2 – металлические стержни; 3 – каминная решетка; 4 – напуск задней наклонной стенки; 5 – задвижка печи; 6 – задвижка камина; 7 – металлический уголок; 8 – окно чистки;

Рисунок 108 (окончание). Печь "Шведка" с камином (в разрезах): 1 – горячий газоход; 2 – металлические стержни; 3 – каминная решетка; 4 – напуск задней наклонной стенки; 5 – задвижка печи; 6 – задвижка камина; 7 – металлический уголок; 8 – окно чистки;

Рисунок 109. Кладка печи "Шведка" с камином

Рисунок 109 (продолжение). Кладка печи "Шведка" с камино

Рисунок 109 (продолжение). Кладка печи "Шведка" с камино

Рисунок 109 (продолжение). Кладка печи "Шведка" с камином Материал
Огнеупорный кирпич. . . . . 150 шт.
Колосниковая решетка-корзина. . . . 1
Дымовая задвижка 320×210 мм. . . . 1
Огнеупорная глина. . . . . . . 200 кг
Уголок 50×50×5 мм. . . . . . . . 3 м

Рисунок 110. Камин с колосниковой решеткой-корзиной: 1 – площадка; 2 – колосниковая решетка; 3 – уголок; 4 – карниз; 5 – труба; 6 – задвижка; 7 – канал; 8 – порог; Камин, облицованный деревянными рейками
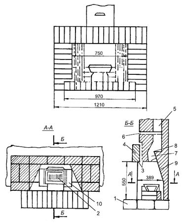
Камин, облицованный деревянными рейками, имеет отдельный дымоход и фундамент (рис. 111). На фундамент укладывают гидроизоляцию, по которой выполняют стяжку из раствора, состоящего из одной части цемента и трех частей песка. Кладку начинают с кирпичных стенок зольника, которые укладывают на высоту 400 мм. Толщина стенок – не менее 120 мм. Затем на зольник укладывают два стальных тавра и уголок. Длина металлоконструкций равна ширине топливника плюс 100 мм. Если перекрытие зольника, служащее одновременно подом топочной камеры, выполняют уширенным,
длину металлоконструкций увеличивают. Расстояние между таврами зависит от размеров кирпича. В центр пода устанавливают колосниковую решетку. Затем приступают к кладке топливника (на высоту 550 мм от пода). Укладывают перекрытие из швеллера № 12 длиной 1200 мм, развернув его полками вверх, и выкладывают дымовую камеру. Заднюю наклонную стенку облицовывают огнеупорным кирпичом, опорой для которого служат стальные скобы. Топливник со стороны передней части газового тракта облицовывают листовой сталью толщиной 3–5 мм. Установленный на швеллере дымовой фартук из листового металла служит опорой передней скошенной стенки камина и соединяет топливник с дымовой трубой (4), образуя промежуточную дымовую камеру. Над камерой устанавливают задвижку размером 200×200 мм.
Рамка задвижки выполняется из уголка 35×35 мм, она является упором для асбестоцементной дымовой трубы. Дымовую трубу снаружи обкладывают кирпичом, для упора передней стенки укладывают швеллер (3).
После окончания кладки фасад облицовывают деревянной рейкой, пропитанной огнезащитным составом.
Печь-камин
Печь-камин в холодное время хорошо обогреет садовый дом.
Важно, чтобы печь, совмещенная с камином, была по возможности компактной и экономичной. Площадь печи-камина – 0,5 м² (750×750 мм).
Для его устройства требуется 200 шт. красного и 35 шт. огнеупорного кирпича (можно заменить хорошо обожженным красным кирпичом).
Конструкция печи-камина простая. Она состоит из кирпичного основания и дымосборника из металлического листа.
Дрова будут гореть лучше, если на топливник камина установить решетчатую подставку.
Фундамент . Печь-камин устанавливают на фундаменте из бутового камня на песчаной подушке. Глубина заложения – 80–100 см, слой песчаной подушки на дне – 20–30 см.

Рисунок 111. Камин, облицованный деревянными рейками: 1 – задвижка; 2 – уголок 45×45 мм; 3 – швеллер; 4 – дымовая труба; 5, 7 – канал и основание канала; 6 – хайло; 8 – тавр; 9 – отдушины

Рисунок 112. Печь-камин (общий вид)
Сверху фундамента для предохранения кирпичной кладки от сырости укладывают гидроизоляцию из двух слоев рубероида.
Дымосборник камина подключают к отопительному щитку печи в районе третьего дымооборота. Для герметизации стыка используют шнуровой асбест, стеклоткань или глину с добавками мелкого асбеста. Под топливник камина выкладывают площадку из кирпича, установленного на ребро.
Кладка . 1-й – 2-й ряды отопительного щитка укладывают из целого кирпича.
3-й ряд – устанавливают поддувальную дверцу, которая опирается на 2-й ряд кладки.

Рисунок 113. Печь-камин (в разрезах): 1 – задвижка печи; 2 – задвижка камина; 3 – чистка; 4 – дымосборник; 5 – чугунная
5-й ряд – устанавливают колосниковую решетку с зазором не менее 1 см от стенок.
6-й – 7-й ряд – устанавливают топочную дверцу, укрепленную армирующей проволокой.
8-й ряд перекрывает топочное отверстие. Здесь устанавливают чугунную плиту, для чего кирпичи в 9-м ряду подрубают на 2–3 см, чтобы создать опору для нее.
14-й ряд – варочную камеру перекрывают кирпичом плашмя с использованием металлических уголков и полосового железа.
15-й – 16-й ряд – дымосборник камина присоединяют к отопительному щитку печи через задвижку камина.

Рисунок 114. Кладка печи-камина

Рисунок 114 (продолжение). Кладка печи-камина

Рисунок 114 (продолжение). Кладка печи-камина
24-й ряд – в дымоходе устанавливают задвижку печи.
Труба и дымоход у печи и камина общие. Сечение дымохода – 14×14 см. Через потолочное перекрытие трубу проводят с соблюдением правил пожарной безопасности, устраивая кирпичную разделку с расстоянием 38 см.
Печь-камин с плитой и духовкой
Материал
Шамотный кирпич. . . . . . . . 80 шт.
Огнеупорная глина с шамотом. . . .80 кг
Тавр 45×45×4 мм. . . . . . . . . .2,4 м
Уголок 45×45×4 мм. . . . . . . . 1,2 м
Швеллер № 12. . . . . . . . . . .3,6 м
Скобы из полосы 25×3 мм. . . . . 10 шт.
Листовая сталь 3–5 мм. . . . . . . .2 м²
Рейка деревянная шириной 50–70 мм. 30 м
Огнезащитный состав. . . . . . . . 6 л
Топливник и дымосборник. Наиболее ответственная часть камина – переход от топливника к дымосборнику. От правильной формы дымового уступа и соотношения ширины, высоты и глубины топливника во многом зависят его эксплуатационные качества. Значение имеют также размеры дымосборника, высота трубы и ее внутреннее сечение, место расположения самого камина по отношению к дверным и оконным проемам. Внутренние поверхности стен топливника, дымосборника и дымового канала трубы следует делать гладкими, без острых углов и выступов. Для лучшей тяги и отражения лучистого тепла в помещение, боковые стены топливника делают скошенными под углом 45–60°, задняя стенка (примерно с 1/3-1/2 своей высоты) – наклонная. 
Рисунок 115. Печь-камин с плитой и духовкой (общий вид)