Всего за 84.9 руб. Купить полную версию
Инструменты для электромонтажа
Для монтажа в первую очередь понадобятся отвертки. Имеется два основных вида отверток: с прямым шлицем и крестообразные. Отвертки любого типа различаются по ширине и толщине рабочей области. Наиболее распространенный размер шлица - 4 мм шириной и 0,5 мм толщиной.
Плоскогубцы, кусачки, пассатижи - инструменты для изгибания, скручивания, разрезания проволоки, фиксации мелких металлических деталей и выполнения других операций. Часто все эти функции реализуются в одном инструменте.
Основные измерительные приборы - тестер (мультиметр) и рулетка.
Инструменты для выполнения стекольных работ
Помимо уже известных инструментов, для простых стекольных работ понадобятся стеклорезы, которые предназначены для резки стекла. Алмазный стеклорез представляет собой металлический молоточек с небольшими прорезями для ломки стекла. Стеклорезы из твердого сплава состоят из ручки и головки с прорезями, в которые вставлены три ролика.
Плоскогубцы (клещи) необходимы для ломки прорезанного стеклорезом стекла, линейка применяется для обрезки стекла строго по прямой линии. Молоток используется для закрепления стекол при вставке их в рамы, а стамеска нужна для подготовки рамы под стекло, наложения замазки и других работ.
Глава 4. Устройство фундамента
При возведении гаража, как и любого другого строения, требуется предварительно заложить фундамент. Качественно изготовленный фундамент обеспечивает долговечность и надежность всей постройки.
Грунт, на котором возводится фундамент, должен быть достаточно прочен, плохо сжимаем. Нежелательно также, чтобы грунт оползал, вспучивался или имел склонность к проседанию. Конечно, не каждый грунт будет удовлетворять этим условиям. Ил, торфяник или другой непригодный грунт нужно заменить искусственной подушкой из крупного песка. Песок следует уложить в траншею слоем 20–30 см, затем утрамбовать и полить водой. Сама же глубина траншеи под фундамент выбирается с учетом промерзания грунта в зимний период. Это связано с тем, что многие виды грунтов, прежде всего глинистые, лессовые, супесевые, вспучиваются при промерзании, а затем неравномерно оседают. Данный процесс становится причиной трещин в фундаменте и стенах. Поэтому фундамент должен быть заложен ниже глубины промерзания грунта. Без учета этого обстоятельства фундамент на хороших грунтах, не склонных к вспучиванию, закладывают на глубине не менее 50 см. Разметку фундамента проводят с помощью колышков и разбивочного шнура (рис. 4.1).
Трещины в фундаменте и стенах гаража могут также возникнуть в результате вымывания грунта под подошвой фундамента атмосферными осадками и талыми водами. Поэтому, выбирая конструкцию фундамента, необходимо предусмотреть отвод воды от стен гаража, а также устроить наружную отмостку (например небольшой бетонированный уклон от стены по всему периметру сооружения, который не позволит талой и дождевой воде скапливаться у стен гаража).
Надежность фундамента определяется конструкцией гаража, применяемыми строительными материалами и правильно устроенной гидроизоляцией.

Рис. 4.1. План фундамента гаража: 1 - колышек; 2 - разбивочный шнур; 3 - фундамент
Гаражи чаще всего строят на ленточных фундаментах. Такие фундаменты возводятся под зданиями с тяжелыми стенами (из камня, кирпича, силикатных блоков и пр.).
Итак, если вы определили, что для гаража будет достаточно заложить фундамент на глубину 50 см, то при необходимости устройства подушки из слоя песка глубина траншеи должна составлять 70–80 см. Фундамент должен быть немного шире, чем стена гаража, обычно для стены толщиной 30 см достаточно устроить фундамент шириной 40 см.
Дно траншеи перед началом работ зачищают. На дно засыпают песок двумя слоями по 15–20 см, каждый из которых по отдельности утрамбовывают и поливают водой, чтобы песок спрессовывался. На приготовленную песчаную (песчано-гравийную) подушку укладывают параллельно друг другу несколько прутьев арматуры.
Прутья укладывают таким образом, чтобы их концы перекрывали друг друга не менее чем на 20 см. После укладки прутья скрепляют проволокой. Для предотвращения коррозии арматуры прутья следует расположить на расстоянии 5 см от слоя песка, поэтому перед заливкой бетоном их подвешивают на нужной высоте, положив по краям траншеи перекладины.
Залив траншеи бетоном, в фундамент вставляют металлические прутья длиной около 40 см, погружая их на половину длины. В дальнейшем они понадобятся для связки фундамента со стенами гаража. Прутья устанавливают по углам строения и между ними на расстоянии 1–1,5 м друг от друга.
В жаркую погоду поверхность застывающего бетона накрывают рубероидом или присыпают опилками, мхом либо травой и смачивают водой, чтобы он высыхал постепенно и не трескался. Как правило, гаражи строят без цоколя.
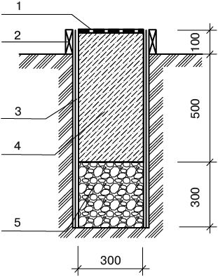
Общий вид фундамента представлен на рис. 4.2.

Рис. 4.2. Общий вид устройства фундамента: 1 - гидроизоляция (два слоя рубероида); 2 - дощатая опалубка; 3 - полиэтиленовая пленка; 4 - бетонное (шлакобетонное) основание (бетон класса В15–В20); 5 - песчано-гравийная подушка
Перед закладкой фундамента следует убедиться, что площадка ровная. Если же она имеет уклон, то необходимо провести планировку, то есть снять лишнюю землю с возвышений.
Сложенный фундамент нужно защитить от воздействия воды соответствующими средствами гидроизоляции.
По виду основного материала различаются бутовые фундаменты, кирпичные, монолитные, бетонные, бутобетонные и железобетонные.
На выбор типа гаражного фундамента влияют не только характеристики грунтов, но и уровень приповерхностных вод. Если уровень грунтовых вод выше нижней отметки фундамента, то монолитный бетон и глиняный кирпич необходимо исключить из списка возможных строительных материалов.
Если принято решение заглубить фундамент ниже уровня грунтовых вод, то устраивают гидроизоляцию кирпичного фундамента как в его подошве, так и вертикально по внутренней и наружной граням, а затем выводят ее на поверхность.
При любых условиях не следует устраивать фундамент гаража из силикатного кирпича, поскольку в грунте он будет быстро разрушаться. Такой кирпич (и блоки) пригоден только для возведения стен.
Необходимо возводить фундамент как можно скорее после создания траншеи. Кроме того, следует сразу засыпать грунтом воздушные пазухи между стенкой котлована и стеной возводимого фундамента.
Атмосферные осадки не должны попадать в котлован. Дождевую воду необходимо удалять, а разжиженный грунт уплотнять путем втрамбовывания щебня, крупного песка или шлака.
Ленточные фундаменты
Кладку ленточных фундаментов ведут под залив враспор со стенками траншеи. Первый ряд (25–30 см) крупных бутовых камней укладывают непосредственно на утрамбованный грунт насухо (рис. 4.3). Затем тщательно заполняют пустоты мелким камнем и щебнем, уплотняют каменный слой трамбовкой (бревном) или кувалдой. На последнем этапе все оставшиеся пустоты заливают жидким строительным раствором.

Рис. 4.3. Сборный ленточный фундамент из фундаментных блоков и бутовый ленточный фундамент: 1 - горизонтальная гидроизоляция; 2 - отмостка; 3 - фундаментные блоки; 4 - фундаментная плита; 5 - бутовая кладка
Сборные ленточные фундаменты составляют из стандартных железобетонных фундаментных блоков, предварительно изготовленных на строительном предприятии и доставленных к месту возведения гаража. Поскольку железобетонные блоки обладают большой массой, для их установки необходимо пользоваться автомобильным краном.
Кирпичные ленточные фундаменты возводят в сухих грунтах. Кладку стен фундамента ведут так же, как и кладку несущих кирпичных стен (рис. 4.4). Для возведения фундамента можно применять только глиняный кирпич.
Правильно устроенная гидроизоляция особенно важна при устройстве кирпичного фундамента. Цоколь и уширение основания фундамента чаще всего выполняют из монолитного бетона. Цоколь необходим лишь в условиях слабых грунтов.

Рис. 4.4. Кирпичный ленточный фундамент и монолитный бетонный фундамент: 1 - горизонтальная гидроизоляция; 2 - отмостка; 3 - кирпичная кладка; 4 - монолитная фундаментная плита; 5 - монолитный железобетон