Всего за 84.9 руб. Купить полную версию

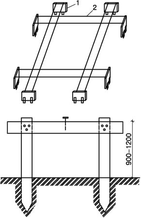
Рис. 2.7. Схема установки обноски: 1 - обноска; 2 - шнур
Для дальнейшей разметки указанные в проекте расстояния между осями стен гаража нужно перенести на обноску, забив гвозди в нужных местах. Между гвоздями, которые определяют грани фундаментов, необходимо натянуть шнуры. С помощью отвеса на поверхности земли намечают точки пересечения этих шнуров и в них вбивают колья, между которыми также натягивают шнур. При выполнении этой операции понадобятся рулетка и угломерный инструмент.
Измерьте диагонали прямоугольника, который размечен вбитыми в землю кольями. Если они равны, то разбивка осей выполнена правильно и стены будущей постройки будут примыкать одна к другой под прямым углом. Теперь можно начинать выемку грунта в котловане под погреб и траншеях под фундамент.
Профиль траншеи можно сохранять прямоугольным, если ее глубина не будет превышать 1 м. В противном случае следует устроить небольшой откос или уклон. Для предупреждения осыпания грунта между стенами на время выемки грунта можно установить деревянные щиты с распорками.
Грунт, извлеченный из траншеи, нужно сохранять внутри плана гаража, если не предусмотрен погреб. Завершив строительство фундамента, извлеченный грунт следует равномерно распределить между внутренними стенами фундамента, разровнять и утрамбовать.
Теперь на строительную площадку можно доставить необходимое количество строительных материалов, если, конечно, это не было сделано заранее.
Глава 3. Строительные материалы, изделия и инструменты
Прежде чем возводить гараж, необходимо запастись основными конструкционными материалами. Материалы для отделки и кровли можно, конечно, приобрести и во время возведения стен, но во многих случаях, особенно при строительстве в отдаленных сельских поселениях, оказывается выгоднее купить и доставить к месту строительства одновременно все необходимое.
Конструкционные каменные материалы
Кирпич различных видов, камень, силикатные блоки - самые распространенные материалы для возведения гаража. Они понадобятся как для кладки фундаментов, стен, так и для заполнения бетона и цементных растворов.
Бутовый камень представляет собой крупные фрагменты разнообразных горных пород (известняка, доломита, песчаника и др.).
Гравий - природный или искусственный материал, окатанные зерна размером 0,5–7,0 см с гладкой поверхностью.
Щебень - гладкие камни с максимальным диаметром 0,5–8,0 см. В отличие от гравия, зерна щебня имеют различную форму. Использование щебня кубовидной формы позволяет добиться наиболее плотной утрамбовки. Поверхность щебня шероховатая, он прочно сцепляется с цементно-песчаным раствором и бетоном.
Щебень фракции 3–8 мм ("еврощебень") и 5–20 мм чаще всего встречается в железобетонных и бетонных изделиях. Более крупный щебень обычно применяют при устройстве дорог.
Строительный песок используется для приготовления бетона и цементных растворов, перед применением его нужно промывать и просеивать.
К искусственным материалам следует отнести керамические и силикатные кирпичи, блоки и камни.
У хорошего кирпича должен быть ровный красный цвет и чистый звук. Кирпич должен выдерживать удар молотка весом 1 кг или падение с высоты до 1,5 м. Если звук кирпича глухой, а цвет бледный, то кирпич обожжен недостаточно. Такой материал имеет пониженную прочность, хорошо поглощает влагу. Напротив, если кирпич пережжен, то он имеет темный бурый цвет и почти непроницаем для воды. Такой кирпич можно использовать лишь при кладке фундамента.
Силикатные блоки, кирпичи и камни производят из кварцевого песка, извести и воды. Эти материалы можно использовать для кладки стен, столбов и перегородок. Для закладки фундамента и возведения стен при высокой влажности они не подойдут.
Вяжущие вещества
К сухим вяжущим веществам относят сыпучие материалы, способные затвердевать после добавления воды в результате физико-химических процессов. Такие вещества есть в составе бетонов, силикатного кирпича, асбоцементных и других искусственных материалов, в кладочных и штукатурных строительных растворах.
Цемент - самое распространенное вяжущее вещество для приготовления строительных растворов и бетона. Цемент различается по маркам в зависимости от прочности: 300, 400, 500, 550, 600. Лучше пользоваться цементом последних трех марок. Растворы на его основе быстрее твердеют и более прочны после высыхания.
Если марка цемента неизвестна, то его качество можно проверить опытным путем. Сожмите цемент в кулаке - если материал сразу вытечет между пальцев, то это качественный цемент. Наличие зерен - признак пониженного качества цемента, бетон или кладка на его основе будут менее прочными.
Строительная известь также может потребоваться для приготовления растворов. Известь выпускается различных видов и марок. Воздушная известь подходит для побелки, гидравлическая - для изготовления кладочных растворов. Негашеная известь при контакте с водой сильно нагревается, поэтому для замеса растворов нужно применять гашеную известь.
Качество извести проверяют на растворе из одной части извести и трех частей песка. Сложите столбик из восьми глиняных полнотелых кирпичей. По прошествии четырех дней столбик осторожно приподнимите за верхний кирпич. Если при этом столбик останется целым, значит, известь хорошего качества, подойдет для штукатурки и для кладки стен.
Строительный гипс (алебастр) добавляют в известковый раствор для ускорения схватывания и увеличения прочности.
Органические вяжущие материалы. Вяжущие вещества органического происхождения - деготь темно-коричневого или черного цвета и различные виды битума. Эти материалы применяют в чистом виде или в виде смесей с растворителем и минеральным наполнителем (мастики) для гидроизоляционных работ. Битумные и дегтевые материалы водонепроницаемы, водостойки, эластичны, обладают стойкостью к атмосферным осадкам.
Органические вяжущие вещества размягчают нагревом, а после охлаждения они вновь становятся более вязкими и твердыми. Вместо того чтобы пользоваться пожароопасным и трудоемким процессом термического размягчения битума, в последние годы принято работать с готовыми растворами битума в виде мастик. После нанесения мастики шпателем или кистью на гидроизолируемую поверхность растворитель испаряется, а на поверхности защищаемого материала остается твердый влагонепроницаемый слой битума.
Изоляционные и кровельные материалы
Для защиты гаража от воздействия атмосферных осадков существует множество изоляционных материалов.
Мастичные материалы понадобятся для приклеивания рулонных кровельных материалов, а также для гидроизоляции.
Рулонные материалы - пергамин, рубероид, толь. Их разделяют по виду основы. К материалам на картонной основе относятся толь и рубероид, к материалам на стеклооснове - стеклорубероид, на основе фольги - фольгоизол, на основе асбестовой бумаги - гидроизол.
Рулонные материалы склеиваются или приклеиваются к основе с помощью вяжущих веществ, которые могут быть битумными, дегтевыми, полимерными или смешанными.
Для устройства гаражной кровли вполне можно использовать асбестоцементные листы (шифер) различной формы и цвета. Они хранятся под навесом в горизонтальных стопах на специальных поддонах или деревянных прокладках.
Для покрытия крыши гаража практически не применяется листовая сталь, однако предусмотрите ее покупку, если планируете самостоятельно изготовить коньковые элементы, желоба, трубы для отвода дождевой воды. В то же время в строительных магазинах можно приобрести и готовые металлические конструкции для водоотвода.
Теплоизоляционные материалы
В отличие от жилых помещений, в гараже можно обойтись таким дешевым и доступным теплоизоляционным материалом, как минеральная вата. Минеральная вата состоит из волокон, для удобства ее обычно применяют не в чистом виде, а в составе изделий - матов, плит на синтетическом или природном (битумном) связующем.
Лакокрасочные материалы
Лакокрасочные материалы - масляные, водоэмульсионные и эмалевые краски, лаки, олифа, растворители.
Масляные краски - густая смесь минеральных пигментов с олифой. Время высыхания масляных красок - 24 ч.
Водоэмульсионные краски в качестве основного растворителя содержат воду, поэтому почти не имеют запаха. Они подходят для окраски почти любых влажных и сухих поверхностей.
Эмалевые краски, в отличие от масляных, содержат органические смолы, способствующие скорейшему высыханию, и отличаются более гладким и прочным покрытием.
Олифа предназначена для разведения масляных красок и приготовления замазок и шпатлевок.
Растворители - органические жидкие вещества и их смеси (уайт-спирит, бензин, скипидар) для разбавления масляных красок и приготовления холодных битумных мастик.
Масляные краски, растворители, олифа должны храниться в плотно закрытой таре, так как при наличии воздуха они густеют, образуя сверху пленку, которая непригодна к работе.