
Рис. 12.5. Схема включения приборов из разных мест
При устройстве скрытой проводки электрические приборы можно присоединить так же, как и при открытой проводке.
Независимо от типа проводки все соединения и ответвления должны быть в соединительных и ответвительных коробках.
Потолочные плафоны закрепляют с помощью специальных крючков, зафиксированных в отверстиях перекрытий, чтобы питающие провода не испытывали механической нагрузки. Собственно плафоны изолированы от этих крючков.
Повреждения патронов для ламп накаливания - самая распространенная и неприятная неисправность системы электроснабжения гаража. Эти повреждения происходят прежде всего по причине плохого контакта или зажима провода либо плохого зажима лампы (неправильного положения контактного лепестка). Чтобы снять поврежденный патрон с трубки плафона, его следует разбирать на месте. Для этого нужно ослабить винт в корпусе патрона или контргайку в резьбовой трубке, иначе патрон можно сломать.
Автоматические пробки - обязательный элемент любой современной электрической цепи. При возникновении какой-либо неисправности автоматическое устройство отключит сеть. Устранив неисправность, нажмите кнопку, чтобы снова подать ток.
Охранное оборудование
Чтобы свести к минимуму риск угона автомобиля, следует тщательно выбирать замок. Он должен быть нестандартным. Важно, чтобы конструкция замка имела накидную щеколду, которая препятствует взлому с помощью лома.
Эффективное средство защиты от взлома - электронная сигнализация, особенно в сочетании с устройствами для психологического воздействия.
Простейшую систему сигнализации можно изготовить самостоятельно, хотя необходимость этого в наши дни весьма спорна из-за изобилия систем отечественного и иностранного производства, предлагаемых в розничной сети.
На гаражных воротах нужно закрепить микровыключатели. Затем их следует присоединить к электронной схеме, включаемой тумблером, который установлен снаружи в потайном месте. При попытке взлома микровыключатели замыкаются и включают мультивибратор. Он прерывисто включает реле, которое, в свою очередь, через реле автомобильного сигнала прерывисто включает автомобильный сигнал и лампу. Лампу лучше зафиксировать где-нибудь на крыше гаража, например на коньке, защитив металлической сеткой и красным пластиковым колпаком.
Чтобы микровыключатели (рис. 12.6) не выдавали ложный сигнал при рассыхании или набухании деревянной двери, в местах соприкосновения створки ворот и головки микровыключателя можно положить куски резины.

Рис. 12.6. Установка микровыключателя: 1 - головка микровыключателя; 2 - створка ворот
На тот случай, если злоумышленник отключит электросеть, можно дополнить автомобильным аккумулятором выпрямитель, питающий схему.
Глава 13. Устройство вентиляции
Отсутствие в гараже вентиляционной системы может заметно повлиять на техническое состояние и срок службы автомобиля из-за избытка влаги, характерного для невентилируемого помещения.
Помимо влаги, в гараже присутствуют газы, связанные с работой автомобиля. Взаимодействуя с влагой, многие из этих газов превращаются в кислоты, разрушающие металлические части автомобиля. Наконец, в невентилируемом помещении не только некомфортно, но и небезопасно находиться длительное время, не говоря уже о невозможности выполнять какие-либо работы.
Итак, вентиляционная система - обязательный элемент проекта любого гаража.
Вентиляционная система, устроенная своими руками, позволит создать комфортную и безопасную атмосферу для работы, защитить гаражное помещение от скапливания разнообразных токсичных соединений, от распространения плесени и всевозможных микроорганизмов. Проектировать вентиляционную систему нужно с учетом требований, предъявляемых к гаражным помещениям.
Среди этих требований важнейшим является контроль температуры воздуха, которая в холодное время года не должна опускаться ниже 5 °C, и интенсивности воздушного обмена, который по нормам для гаража на один автомобиль составляет 180 м/ч.
Гаражная система воздухообмена может быть естественной, искусственной или комбинированной.
Естественная вентиляция
Естественная вентиляция гаражных помещений - наиболее экономичный вариант (рис. 13.1, 13.2). Для устройства такой системы необходимо с наветренной стороны на стене гаража создать отверстие, требуемое для притока свежего воздуха. Отверстие нужно разместить ближе к углу гаража, приблизительно в 20 см над землей, и закрыть его решеткой.

Рис. 13.1. Естественная вентиляция гаража, поперечный разрез гаража со смотровой ямой: 1 - направление воздуха; 2 - обрешетка; 3 - яма

Рис. 13.2. Естественная вентиляция гаража, продольное сечение гаража без смотровой ямы: 1 - направление воздуха; 2 - вентиляционные отверстия в двери гаража; 3 - вентиляционный короб
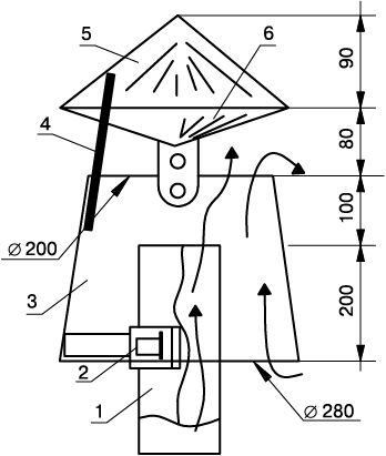
С противоположной стороны гаража в потолке монтируется воздуховод, который предназначен для удаления из гаражного помещения загрязненного воздуха. Внутри гаража воздуховод крепится на расстоянии 20 см ниже потолка, а снаружи, над крышей, примерно на 50 см выше. Сверху воздуховод следует накрыть колпаком (рис. 13.3).

Рис. 13.3. Колпак вытяжной трубы: 1 - труба; 2 - хомут крепления; 3 - конусная насадка; 4 - лапка крепления колпака; 5 - колпак; 6 - колпак с двойным конусом
Несмотря на кажущуюся простоту, такая система будет функционировать лишь при соблюдении важных правил. Во-первых, нужно соблюсти разницу между высотами, на которых располагается оголовок вытяжной трубы и приточное отверстие, - она должна составлять не менее 3 м. Во-вторых, нужно правильно подобрать диаметр вентиляционных труб для отвода воздуха. В качестве расчетного норматива принято считать 15 мм трубы на один квадратный метр площади гаража. Значит, если площадь гаража 10 м, нужно воспользоваться трубой диаметром 15 см.
Система естественной вентиляции обычно практикуется в неотапливаемых гаражах.
Если в гараже есть подвал, то для его вентиляции следует спроектировать независимую систему. Чтобы воздух свободно проникал в подвал, нужно предусмотреть небольшой наклон воздуховода. Нижняя часть воздуховода должна быть размещена примерно на 20 см выше пола подвала, а верхняя его часть должна выступать из гаражной стены на 20 см, лучше с наветренной стороны.
Недостаток системы естественной вентиляции - зависимость от погодных факторов (температура воздуха, направление и сила ветра), что приводит к неодинаковой эффективности системы в разное время года и суток. Очевидно, что летом эффективность будет существенно ниже, поэтому все приточные и вытяжные отверстия должны быть открыты.
Комбинированная вентиляция
Комбинированная система вентиляции гаража представляет собой сочетание механической вытяжной системы и системы естественной приточной вентиляции. От уже рассмотренного варианта ее отличает наличие вытяжного вентилятора небольшой мощности (до 100 Вт).
Приточные решетки размещают в нижней части торцевой стены. Вытяжной вентилятор может монтироваться в стену (так называемый осевой вентилятор) или устанавливаться на крыше гаража (на утепленном участке воздуховода, проходящем через кровлю).
Комбинированный метод вентиляции также имеет недостатки. Главный из них заключается в том, что в зимнее время очень сильно выхолаживается помещение. Кроме того, необходимо предусмотреть периодическое включение и выключение вентилятора. Поэтому следует установить дополнительный электрический прибор - электронный таймер (рис. 13.4). Впрочем, в последние годы стоимость таких приборов невелика. Таймеры программируются на включение и выключение в течение суток, до 10 раз в течение недели, что очень удобно.

Рис. 13.4. Электронный таймер
Вентилятор монтируется на кронштейнах к стене или потолку. Лучше приобрести центробежные вентиляторы, которые имеют большее давление по сравнению с осевыми.
Недостаток комбинированной системы, помимо необходимости установки реле или таймера, заключается в отсутствии предварительного подогрева воздуха в зимний период. При низкой температуре наружного воздуха это может привести к местному переохлаждению гаража. Кроме того, эта система в своем классическом виде не предусматривает фильтрацию воздуха от пыли.
Положительные стороны - простота устройства, высокая эффективность вентиляции гаража (по сравнению с системой естественной вентиляции), небольшой расход электроэнергии, небольшие материальные затраты.