Ворота деревянного гаража
Поскольку гаражная конструкция из дерева или бруса не относится к разряду капитальных строений, от металлических ворот для гаража лучше отказаться. Предпочтительнее использовать секционные или роллетные ворота. Масса ворот такой конструкции меньше, а по стойкости к взлому она ненамного уступает традиционному металлу. Если в отсутствие хозяев в гараже не хранится ничего ценного, можно воспользоваться и обычными деревянными воротами распашного типа.
Внутренняя отделка и оборудование деревянного гаража выполняются аналогично отделке гаража из кирпича, силикатных блоков или любого другого материала.
Глава 10. Устройство погреба и смотровой ямы
Чтобы погреб или смотровая яма в гараже не доставили много неприятностей, их можно устраивать только в том случае, если уровень грунтовых вод на гаражном участке ниже 2,5 м.
Удобнее всего совместить стены погреба с ленточным фундаментом, а потолок - с цокольным перекрытием. Стены погреба можно сделать из бетона любого вида или, если на участке под строительство гаража сухой грунт, из глиняного кирпича, тщательно обожженного и полнотелого. В этом случае стены лучше оштукатурить.
При возведении бетонных стен погреба не обойтись без опалубки. Ее изготавливают из досок, как и при укладке фундамента. Поскольку бетон укладывают слоями толщиной 30 см, секции опалубки имеют высоту 35–40 см.
Укладывая каждый последующий слой бетона, возводят соответствующую секцию опалубки, крепя ее к предыдущей гвоздями и рейками.
В процессе укладки бетона его трамбуют, а опалубку обстукивают.
Перекрытие над погребом, как правило, делается из железобетона. Стены погреба, потолок и люк нужно утеплить. Люк желательно загерметизировать.
Чтобы в погребе не было сыро, необходимо произвести его гидроизоляцию. Если во время выкапывания погреба были обнаружены источники воды, их следует заделать жирной глиной на глубину 50 см. Чтобы собирать воду на дне котлована, нужно вырыть специальные приямки или устроить дренаж.
Гидроизоляцию можно устраивать одновременно с возведением кирпичной стены погреба, набивая в промежуток между стенкой и котлованом слой глины толщиной 15–20 см. Облицовку кирпичом ведут до уровня балок пола, а сверху оборудуют железобетонное перекрытие с люком.
Если грунт сухой, а уровень грунтовых вод лежит ниже пола погреба, то для гидроизоляции погреба достаточно обмазать его стены горячим битумом или холодной битумной мастикой. Если же грунт сильно увлажнен, то необходимо поверх слоя мастики оклеить стену рубероидом или другим листовым гидроизоляционным материалом, а вокруг стен устроить замок из плотной желтой глины.
Если грунтовые воды лежат выше пола погреба, то придется произвести гидроизоляцию из многослойных рубероидных ковров.
Полы в погребе настилаются, как правило, по грунту. В сухих подвалах с этой целью нужно вынуть грунт на глубину 10 см, засыпать вместо него песок, утрамбовать его, а затем забетонировать пол, уложив слой бетона толщиной около 10 см.
Пол в погребе можно также сделать из глины. Глина укладывается в два слоя: 25 и 15 см. Слои разделяются толевой гидроизоляцией. На основание из бетона или железобетона можно уложить дощатый пол, плитку и т. п.
В погребе обязательно нужно предусмотреть систему вентиляции, устроив в стенах цоколя или нижнего уровня стен гаража вентиляционные окна или установив специальные вентиляционные устройства.
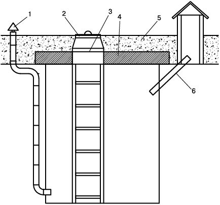
Естественную вентиляцию погреба можно устроить, предусмотрев сооружение двух вертикальных каналов для тока воздуха, приточного (у пола) и вытяжного (под потолком) (рис. 10.1).
Необходимо, чтобы верхний конец приточной трубы размещался у поверхности земли, а выход вытяжного канала - над крышей гаража. Минимальный размер каналов - 14 × 14 см.
Поддержание постоянной температуры в погребе можно обеспечить укладкой по перекрытию погреба слоя полимерной пленки или рубероида, засыпав его сверху слоем земли толщиной 30–50 см.

Рис. 10.1. Погреб с вытяжными каналами: 1 - приточная труба; 2 - вытяжная труба; 3 - железобетонная плита; 4 - грунт; 5 - люк-лаз; 6 - крышка
В верхней части стен погреба можно устроить несколько ниш для хранения продуктов.
Перед закладкой осеннего урожая овощей в погреб его необходимо просушить. Простой способ сушки - сжигание в погребе 10–12 таблеток сухого горючего.
Не рекомендуется оборудовать в гараже смотровую яму. Это связано с тем, что испарения из ямы вследствие перепада температур будут образовывать коррозионно-активный конденсат, который в короткие сроки может повредить металлические части днища автомобиля. Но если яма необходима, можно устроить ее в стороне от места стоянки автомобиля. В крайнем случае оборудованная под местом стоянки автомобиля смотровая яма должна закрываться крышкой. Для удобства пользования крышка может состоять из нескольких частей.
Глава 11. Отделочные работы
Все отделочные работы, с которыми можно столкнуться при постройке гаража, можно отнести к внутренним и наружным. Внутренние - штукатурные и малярные работы, наружные - штукатурные и облицовочные.
Штукатурные работы
Штукатурка - это ровный слой строительного раствора, нанесенного в один или несколько приемов на поверхность стены. По назначению различают обычную и специальную штукатурку, по виду связующего - цементную, известковую, цементно-гипсовую, цементно-известковую.
Штукатурка защищает стены от неблагоприятного влияния окружающей среды (осадки) или внешних повреждений (возгорание). Штукатурка играет роль теплоизолирующего слоя. За ней необходим уход, а после длительной эксплуатации потребуется и ремонт.
Оштукатуривание начинается с подготовки поверхности. Стену очищают от грязи, пятен и наплывов раствора. Непосредственно перед оштукатуриванием стену следует промыть водой. На стене, сложенной из кирпича, топором насекают швы глубиной не менее 1 см или обрабатывают стальными щетками для получения шероховатой структуры. Если площадь стены велика, то для ее обработки применяют пневмомолоток со скарпелем или троянкой. Затем поверхность стены обметают стальной щеткой.
Стены и другие конструкции, предназначенные для оштукатуривания, можно очистить от сажи и копоти 3 %-ным раствором соляной кислоты, а затем ополоснуть чистой водой. От масляных следов стену защищают, обмазывая глиной (иногда несколько раз). Перед штукатурными работами можно также обработать стены паром или песком под давлением.
При необходимости поверхность под штукатурку армируют сеткой. Сетку крепят гвоздями или скобами каждые 15 см к деревянным рейкам. Рейки крепят гвоздями к оштукатуриваемому основанию или привязывают к стальным стержням, которые формируют каркас из ячеек со стороной 15 см. Сетку закрепляют мягкой проволокой толщиной от 0,8 мм. Чтобы защитить ее от коррозии, можно использовать сурик или лак.
Поскольку штукатурка плохо держится на деревянных поверхностях, их обивают дранкой или специальными щитами. Для усиления теплоизоляции перед обивкой поверхности защищают теплоизоляционным материалом.
Чтобы определить толщину штукатурного слоя, нужно выполнить процедуру провешивания стен и потолков. Для этого в верхней части стены на расстоянии 30 см от каждого угла (по горизонтали) вбивают по гвоздю так, чтобы шляпки гвоздей выступали на толщину штукатурки. Со шляпок этих гвоздей опускают отвес на расстояние 30 см (по горизонтали) от пола, где забивают два гвоздя. Протянув шнур по диагоналям и горизонталям, определяют толщину штукатурки (рис. 11.1).
По линии шнуров забивают промежуточные гвозди, уровнем выравнивают шляпки гвоздей в одной плоскости. Вокруг гвоздей из штукатурного раствора формируют "марки" диаметром 8–9 см на 3–5 мм выше шляпок. Когда штукатурный раствор схватится, его срезают до уровня шляпок гвоздей. Порядок установки марок или обустройства маяков зависит от материала поверхности. Если поверхность под штукатурку выполнена из бетона, в который нельзя вбить гвоздь, то используют полые алебастровые марки в виде усеченной пирамиды с основанием 5 × 5 см. Для создания маяков можно также применять инвентарные деревянные правила сечением 3 × 4 или 4 × 4 см, прикрепляя их к основанию раствором.

Рис. 11.1. Схема провешивания стен отвесом: 1–12 - гвозди; 13 - маяк; 14 - правило; 15 - марки
Нанесение штукатурки. По технологии следует штукатурить сверху вниз. На практике чаще штукатурят снизу вверх. Первоначально наносят обрызг и грунт, ориентируясь на маяки. Нужно учитывать, что этот подготовительный слой по своей прочности не может быть ниже, чем накрывочный (рис. 11.2).
Толщина обрызга по дереву должна быть не ниже 9 мм, по бетонным, кирпичным и каменным поверхностям - 5 мм. Грунт - не тоньше 7 мм при растворе, содержащем известь, и 5 мм - при цементном. Перед оштукатуриванием поверхность нужно увлажнить для лучшего сцепления обрызга.
После выравнивания подготовительный слой уплотняют и "волной" наносят горизонтальные борозды. Глубина этих борозд должна составлять 4 мм, а расстояние между ними - 2,5 см. Затем 2–3 раза в день на протяжении недели первый слой увлажняют и выдерживают от 7 до 12 дней.