Глава 8. Устройство крыши
Существует много конструктивных вариантов гаражной крыши, но прежде всего нужно определиться, односкатной или двускатной будет крыша (четырехскатные, шатровые и т. п. крыши встречаются в гаражных постройках крайне редко). И двускатная, и односкатная крыши для гаража в равной степени приемлемы и удовлетворяют всем требованиям, предъявляемым к гаражам.
Односкатная крыша чаще всего выбирается при ограничении по площади участка под гараж, а также при желании сэкономить финансовые средства и время, которых при устройстве двускатной крыши требуется больше. Однако, если предполагается построить гараж в виде отдельно стоящего здания, а не пристройки, лучше пойти на дополнительные издержки и устроить двускатную крышу.
Несущая конструкция (система стропил и др.) односкатной крыши опирается на две противоположные стены различной высоты. Двускатная крыша (иначе ее называют "щипцовой") составлена из двух расположенных на одном уровне плоскостей, которые опираются на стены. Треугольные части торцевых стен называются фронтонами или "щипцами".
Чердачное перекрытие, как правило, состоит из балок, наката (потолочная плоскость) и засыпки. Дерево, применяемое для изготовления балок чердачного перекрытия, должно быть сухим. Чем меньше влаги содержится в древесине, тем она прочнее и тем меньшие деформации будут наблюдаться под нагрузкой. Чаще всего для балок выбирают сосну, ель или лиственницу.
Чтобы предотвратить прогибание балок, необходимо укладывать их между собой не далее 1 м. Известно, что высота самой прочной на изгиб балки - 7 м, ширина - 0,5 м.
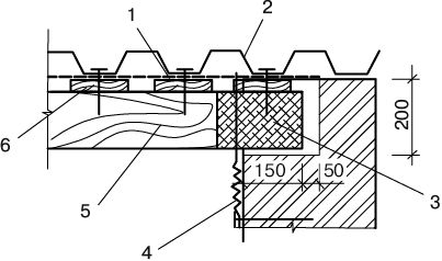
Если под рукой нет бруса, то для устройства балки его можно заменить двумя досками с общим сечением, эквивалентным брусу. В таком случае доски следует соединить гвоздями, располагая их в шахматном порядке. Вместо бруса также можно применить простые широкие доски, установив их на ребро. Общая схема устройства узла кровли представлена на рис. 8.1.

Рис. 8.1. Узел устройства гаражной кровли: 1 - рубероид; 2 - профнастил; 3 - обернутый толем конец балки; 4 - скрутка (крепить к гвоздю); 5 - балка; 6 - обрешетка
Балки при устройстве гаражного чердачного перекрытия можно соединить со стенами, просто положив их края на стены или поместив в специально подготовленные гнезда. Эти гнезда в кирпичных стенах должны быть немного шире балок, чтобы концы балок не загнивали. Еще лучше выровнять нижнюю часть гнезда бетоном и защитить поверхность от влаги, положив 2–3 слоя рубероида или другого гидроизоляционного материала.
Если стены гаража возведены из кирпича, то гнезда для балок обычно устраивают глубиной 25 см, а концы балок, помещенные в эти гнезда, должны быть не менее 15 см.
Стропила - основу любой крыши - обычно делают из дерева хвойных пород. Предварительно материал нужно просушить и обработать антисептиком, а при желании - и специальными противопожарными и гидроизоляционными составами.
Система стропил односкатной крыши называется наклонной системой. В отличие от двускатной крыши, в этом случае необходимо рассчитывать перепад высоты противоположных стен. Этот расчет можно выполнить по формуле:
[величина перепада стен] = [ширина гаража] × [тангенс угла наклона крыши].
Если, например, ширина гаража составляет 5 м и необходимо обеспечить уклон ската 25° (это зависит от местности и кровельного материала), то величина перепада стен будет равна 5 × tg 25° = 2,33 м. Таким образом, одна стена гаража должна быть выше другой на 2,33 м.
Непосредственно перед укладкой концы балок необходимо обтесать, обработать антисептиком, просушить, просмолить и обернуть двумя слоями толя. Торцы балок обрабатывают аналогичным образом, но не смолят и не защищают толем.
После укладки концов балок в гнезда боковую и верхнюю стороны балки нужно замазать раствором со щебенкой. Необходимо также предусмотреть зазор не менее 5 см между стеной и крайними балками. Его следует заделать рейкой, а между рейкой и балкой поместить полоску толя или рубероида.
На балки укладывают накат. Перед укладкой к балкам следует прикрепить гвоздями так называемые черепные бруски сечением 4 × 4 см. Доски наката должны плотно прилегать одна к другой. Обязательно также контролировать их расположение - они должны находиться на одном уровне с нижней стороной балки. Если потолок не предполагают штукатурить, то доски наката строгают.
Для экономии досок конструкция наката иногда предусматривает устройство засыпки. В этом случае накат предварительно нужно обработать смазкой, состоящей из смеси песка и глины. После высыхания в промежутки между досками помещают стружку, опилки, сухие листья и т. п., посыпая сверху слоем песка или шлака толщиной не менее 5 см. Поверх балок также желательно устроить разреженный дощатый настил для предотвращения смещения засыпки.
Утепление чердачного перекрытия проще всего выполнить из огнестойких плиточных материалов.
Итак, и двускатная, и односкатная крыши состоят из деревянных наклонных поддерживающих балок (стропил), на которые кладут обрешетку (настил, доски шириной 4–5 см), и наружного покрытия, или кровли.
В односкатных крышах наклонные стропила фиксируются с помощью двух внешних опор, расстояние между которыми может достигать 4,5 м. Если же требуется большее расстояние, то под стропила нужно установить подкосы (рис. 8.2).
Нижние концы висячих стропил опираются на стены, в то время как верхние сходятся между собой в коньке. Их соединяют здесь вполдерева или прорезным шипом. Висячие стропила могут быть простой и сложной конструкции. Простая конструкция - это пара стропил, которые упираются в горизонтальный брус, или затяжку (рис. 8.3).
При изготовлении стропил нужно использовать древесину без сучков, не ниже первого сорта. Толщина доски выбирается в зависимости от расстояния между стропилами, длины стропильной ноги, веса кровли и т. д.
Предназначенные для стропильных ног бревна должны быть немного длиннее шаблона, чтобы можно было исправить неудачное соединение. Для соединения сначала делают вырубки на нижних концах стропил, затем соединяют их с затяжкой или мауэрлатом (балками, уложенными по всему периметру наружных стен). После этого врубают верхнюю часть, удаляют излишек древесины и снова разбирают конструкцию. Толщина направляющих балок-мауэрлатов составляет обычно 100 × 100 либо 120 × 120 мм.

Рис. 8.2. Устройство стропил: а - наклонные стропила; б - наклонные стропила с подкосами

Рис. 8.3. Простые висячие стропила с затяжкой
Стропила на мауэрлате крепят шиповым соединением. С этой целью первоначально устанавливают две крайние пары стропильных ног, после чего по коньку крайних пар натягивают шнур (или прибивают доску). После установки промежуточных стропил их выравнивают, а затем тщательно прикрепляют к стене.
Чтобы скрепить стропила со стеной, на них набрасывают проволочный хомут (диаметр проволоки - 4–6 мм) и соединяют его с костылями, заделанными в стены.
Для того чтобы на стены гаража не попадала дождевая вода, необходимо предусмотреть устройство карниза. Ширина карниза должна быть минимум 50 см. Предусматривая карниз, нужно удлинить стропильные ноги на величину карнизного свеса. Для этого вполне подойдут деревянные обрезки, к которым и крепят доски карниза. К стене карниз следует крепить предельно плотно, не допуская перекосов и щелей.
На рис. 8.4 изображены распространенные типы карнизов.
Основа кровли - обрешетка (деревянный настил, сплошной или вразрядку). При сплошной обрешетке доски укладывают на стропила горизонтально к коньку. Можно также горизонтально к коньку уложить бруски (каждые 50–100 см) и уже на них настелить вдоль доски. Доска для устройства обрешетки должна быть не ниже второго сорта, шириной 4–5 см.
Угол наклона односкатной крыши зависит от местного климата и типа кровельного материала. Величина этого угла не должна быть меньше 5 и больше 60°. В средних широтах односкатная крыша обычно делается под углом 25–30°.
Тот или иной кровельный материал также требует своего наклона. Для рубероида это минимум 5°, для металлической кровли - 18–30°, для шифера - 20–35°, для черепицы и металлочерепицы - не более 20–30°.

Рис. 8.4. Виды деревянных карнизов: а - карниз по затяжке; б - карниз из стропильных ног; в - карниз по прибитым деревянным обрезкам