Всего за 59.9 руб. Купить полную версию

(Рис. 1) Опирание наслонных стропил в каменных зданиях.
Мауэрлат может располагаться по всей длине здания или подкладываться только под стропильную ногу. В том случае, если стропильные ноги в сечении имеют небольшую ширину, они могут со временем провиснуть. Чтобы избежать этого, необходимо применять специальную решетку, состоящую из стойки, подкосов и ригеля.
В местах примыкания к кирпичной кладке мауэрлат с двух сторон опиливается. Все места соприкасания мауэрлата с кладкой следует антисептировать, а между кладкой и мауэрлатом прокладывать изоляционную бумагу или толь. Мауэрлат обычно выполняется из бревен диаметром в 18–20 см. При редкой расстановке стропильных ног (более 1,5–2,0 м) взамен сплошных мауэрлатов укладывают отдельные коротыши длиной в 60–80 см только в местах опирания стропильных ног.
Чтобы мауэрлаты и концы стропильных ног были доступны для осмотра, нижняя поверхность мауэрлата должна отстоять от верха чердачного перекрытия не менее, чем на 35–50 см. В пролете между наружными стенами стропильные ноги опираются на один или несколько продольных прогонов, которые являются основными продольными элементами наслонных стропил.
Мауэрлаты для защиты от увлажнения изолируют от контакта со стенами прокладкой из двух слоев толя или рубероида.
Если толщина, досок, применяемых для стропил, обычно равна 40–50 мм, а брусьев – 60-140 мм, то мауэрлаты выполняют из брусьев сечением от 100х100 мм до 180–200 мм, отесанных на два канта. Лежни имеют такие же сечения при установке их на сплошные стены. При установке их на столбы размер сечения лежней принимается по расчету. Сечения всех элементов крыши (стропил, обрешетки, кобылок и т. д.) уточняется расчетом на прочность и при необходимости – на жесткость. Для экономии древесины вместо сплошных мауэрлатов можно использовать и отдельные бруски.
Когда стены толстые и свес большой, а балки укладывают по внутреннему краю стены, возможен прогиб в кровле. Чтобы этого не случилось, мауэрлат следует положить с отступом от внутреннего края стены. Место прогиба выравнивают, прибивая к концам стропильных ног "кобылку" – доску на ребро.
Нижние концы стропильных ног опираются на мауэрлаты из окантованных бревен диаметром 18–20 см, которые укладывают по внутреннему обрезу стены. Мауэрлаты связывают в углах врубками вполдерева и скрепляют скобами. Одинарное или двойное сопряжение стропильной ноги с затяжкой делают в зуб и скрепляют скобами.
Мауэрлат может располагаться по всей длине здания или подкладываться только под стропильную ногу. В том случае, если стропильные ноги в сечении имеют небольшую ширину, они могут со временем провиснуть. Чтобы избежать этого, необходимо применять специальную решетку, состоящую из стойки, подкосов и ригеля.
(Рис. 2, а) показана стропильная нога с подкосом, опертым на мауэрлат, положенный на обрез стены на уровне верха чердачного перекрытия.
При наличии одной промежуточной опоры стропильные ноги опирают на мауэрлаты наружных стен и на продольный прогон, опертый на стойки, устанавливаемые на промежуточные опоры.

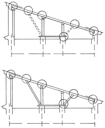
(Рис. 2, б, в) Показаны стропила с одним рядом стоек и подкосами жесткости только против стоек.

(Рис. 2, г) стропила с одним рядом стоек и с подкосами у каждой стропильной ноги.
Конструкция наслонных стропил при двух промежуточных опорах показана на рисунке. В схеме, показанной на фигуре, на промежуточную опору передается одностороннее давление от подкосов, поэтому в местах расположения стоек ставятся распорки.

(Рис. 3, а, б) Конструктивные схемы односкатных наслонных стропил в поперечном разрезе. а – стропила с двумя рядами стоек и подкосами жесткости, б – стропила с двумя рядами стоек и подкосами против каждой ноги.
В мауэрлатах и прогонах в местах опирания на них стропильных ног вытесывают горизонтальные площадки.
Во избежание сноса крыши ветром нижние части стропильных ног через одну должны быть прикреплены скруткой из 2–3 проволок (d – 2–3 мм) к костылю, заделанному в стену на 200–300 мм ниже мауэрлата. Стропильные ноги прикрепляются к мауэрлатам также при помощи скоб; в районах с сильными ветрами мауэрлаты в свою очередь прикрепляются проволокой или скобами к кладке. Опирание на продольный прогон бревенчатой стропильной ноги показано на рисунке 4, а дощатой и из пластин – на фигурах 7 и 8. Стойка соединяется с прогоном шипом.
Стыки стропильных ног следует назначать так, чтобы использовать полную длину бревна или доски; стык может быть расположен на стойке или на консоли.
Бревенчатые стропильные ноги связываются в стыке болтами (d = 12–16 мм), а дощатые – гвоздями диаметром в 5,0–5,5 мм.
При загнивании концов стропил, опирающихся на мауэрлат, поступают следующим образом.
На чердачное перекрытие кладут бревно, опирающееся на 2–3 балки. В него упирают подкосы из досок, прибитые к стропильной ноге гвоздями, расстояние от которых до загнившего места должно быть не менее 200 мм.

(Рис. 4) Укрепление стропильной ноги при загнивании ее конца: 1 – мауэрлат; 2 – стропильная нога; 3 – накладки и подкосы из досок; 4 – гвозди длиной 120–150 мм, 5 – бревно, опирающееся на 2–3 балки.

(Рис. 5) Укрепление стропильной ноги вблизи загнившей части мауэрлата: 1 – мауэрлат; 2 – подкосы; 3 – стропильная нога; 4 – сгнившая часть мауэрлата. Для ремонта мауэрлата, загнившего на незначительной длине, стропильную ногу скобами крепят к подкосам, упирающимся в мауэрлат и прикрепленным скобами к неповрежденному его участку.

(Рис. 6) Опирание стропильной ноги при загнивании мауэрлата на значительной длине: 1 – мауэрлат; 2 – стропильная нога; 3 – сгнившая часть мауэрлата; 4 – накладки и подкосы из досок; 5 – брус длиной 0,8–1,0 м, опирающийся на штыри; 6 – металлические штыри (длина 400–500 м, диаметр 20 мм), забиваемые в кладку.
При загнивании значительной части мауэрлата к стропильной ноге прибивают накладки из досок. Упирают их в новый дополнительный мауэрлат, установленный ниже сгнившего и закрепленный штырями в кладку стены.

(Рис. 7) Усиление стропильной ноги в средней части накладками: 1 – накладки и подкосы из досок; 2 – сгнившая часть стропильной ноги.
Для усиления загнивших посредине стропильных ног к ним прибивают 2 накладки из досок толщиной 50–60 мм. Гвозди забивают по концам накладок в неповрежденную часть стропильной ноги.
Глава II
Стропила
Стропила являются основным несущим элементом крыши, воспринимающим нагрузки от веса кровли с обрешеткой, от веса снега на кровле, а также ветровые нагрузки. Для удержания крыши на стенах, стропила крепят к последнему, а лучше к предпоследнему венцу при помощи скоб.
По конструкции стропила подразделяются на две основные группы; наслонные и висячие. Основным различием наслонных и висячих стропил является наличие у последних нижней затяжки, воспринимающей усилие распора от стропильных ног (см. рис. 1). Крыши с наслонными стропилами устраивают в домах, имеющих опорные стены. Пролет между опорами может достигать 4,5 м. При пролете от 5 до 6 м под стропила ставят подкосы. Наслонные стропила имеют не менее двух неподвижных точек опоры стропильных ног у концов (в коньке и на продольной стене) и не дают распора на стены.
Висячие стропила имеют неподвижные точки опоры стропильных ног в нижних концах и на продольной стене. Они дают распор, который воспринимает затяжка.
На рисунках показаны наслонные (8) и висячие (9) стропила.

(Рис. 8) Наслонные стропила: 1 – стропильная нога; 2 – ригель; 3 – чердачное перекрытие.

(Рис. 9) Висячие стропила: 1 – мауэрлат; 2 – стропильная нога; 3 – затяжка; 4 – бабка; 5 – подкос.
Наслонные стропила концами опираются на стены здания, а средней частью – на промежуточные опоры. Висячие же стропила опираются только концами на стены здания. Наслонные стропила устраивают в том случае, если расстояние между опорами не превышает 6,5 м. Наличие дополнительной опоры позволяет увеличить ширину, перекрываемую наслонными стропилами до 12 м, а двух опор – до 15 м. В деревянных брусчатых или же рубленых зданиях стропильные ноги опираются на верхние венцы (10), в каркасных – на верхнюю обвязку (11).