Всего за 29 руб. Купить полную версию
"Спасательная шлюпка"
1. На квадратном листе сделайте горизонтальный перегиб и согните края с двух сторон.
2. Согните заготовку пополам (масштаб увеличен) по пунктирной линии на себя.
3. Согните по пунктирным линиям углы заготовки (масштаб увеличен), чтобы придать ей форму шлюпки.


4. Одну загнутую часть разверните обратно.
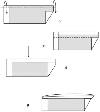
5. Заднюю часть одного борта загните внутрь, а вторую вывернуть наружу.
6. Отогните верхние края по пунктирной линии вниз.
7. Отогните края еще раз, чтобы пересечь косой загиб.

8. Возьмите пальцами за края, немного расширьте дно шлюпки.
9. "Шлюпка" готова.
Уровень сложности: фигура простая, но доставит удовольствие и родителю, и ребенку.
Способ применения: одна из фигурок плавательных средств, которые можно запускать в "плавание" в близлежащем водоеме. Чем плотнее бумага, которая используется для изготовления шлюпки, тем дольше она будет оставаться на плаву.
"Сверхзвуковой самолет"
Для данной фигуры вам понадобится плотная бумага, если хотите сделать самолет ярким, то еще и краски.
1. Согните квадратный лист по диагонали.
2. Верхний слой сложите по пунктирной линии направо.
3. Согните верхний край по пунктирной линии, как показано на рисунке.



4. Еще раз согните по пунктирной линии.
5. Согнутую часть отогните.
6. Произведите такие же действия с другой стороны и поверните фигуру "хвостом" вниз.
7. Согните самолет вдоль по пунктирной линии на себя.
8. Согните кончики крыльев получившегося самолета.
9. "Самолет" готов.
Уровень сложности: эта фигурка не очень сложная, ее может сделать ребенок.
Способ применения: готовая фигурка выглядит очень красиво. Как и другие фигурки, этот самолет можно красиво раскрасить или даже изобразить на нем принадлежность к армии одной из стран мира.
"Самолет"
Тоненькой нитью
След самолета рассек
Небосвод на две части.
В безмолвном величии
След быстро растает.
Как моя жизнь…
Эти фигурки знакомы каждому человеку с детства.
1. Согните левый верхний угол прямоугольного листа к нижнему краю.
2. Согните левый нижний угол по пунктирной линии наверх.
3. Согните угол по пунктирной линии так, чтобы он немного выступал за линию ранее согнутых углов.


4. Сложите фигуру пополам по пунктирной линии на себя.
5. Отогните крылья сверху по пунктирным линиям с обеих сторон.
6. Отогните края крыльев вверх, и получится "самолет".
Уровень сложности: эта фигурка не очень сложная, ее может сделать ребенок.
Способ применения: фигуру можно использовать в соревновании на дальность полета.
"Планер"
Фигурка, отличающаяся от других самолетов по форме. Это более широкое летательное средство, которое летает только за счет восходящих воздушных потоков. Такая фигура поможет вашему ребенку лучше понять законы гравитации.
1. На прямоугольном листе сделайте один продольный и два пересекающихся перегиба.
2. Согните один угол листа, а затем второй.
3. Согните угол по пунктирной линии, чтобы он зашел за линию листа.
4. Отогните небольшой край в обратную сторону по пунктирной линии. Переверните заготовку.


5. Согните фигуру пополам по пунктирной линии от себя.
6. Отогните с обеих сторон крылья по пунктирной линии.
7. Распрямите крылья.
8. "Планер" готов.

Уровень сложности: это не самая сложная фигура, но она потребует усидчивости и аккуратности. Способ применения: вы сможете совместно с ребенком понаблюдать за планированием фигурки в воздухе.
"Грибочек"
Грибы символизируют плодородие. В Китае их считают символом долголетия, счастья и воскрешения. Возможно, потому что они долго хранятся в сушеном виде, к тому же грибы являются пищей даосских бессмертных.
Оригами состоит из двух отдельных деталей. Вам потребуется бумага зеленого цвета размером 8 × 8 и коричневого цвета 4 x 4. Начнем собирать ножку:
1. Перегните зеленый квадрат по диагонали. Нижний угол согните вверх.
2. Согните изделие пополам "горой", т. е. от себя.
3. Проведите линию и отогните указанные части с каждой стороны.
4. Потяните уголок направо, удерживая заготовку другой рукой в районе черного кружка.


5. Раскройте получившийся карман.
6. Выполните сгибы "горой" и "долиной", ориентируясь по схеме.
7. Согните изделие "долиной".
8. Осталось вогнуть внутрь уголок, и ножка гриба готова.
9. Для шляпки перегните квадрат коричневого цвета по диагонали. Затем согните изделие "долиной" по намеченной линии.

10. Сделайте сгиб "горой", поверните изделие на 180°.
11. Вогните внутрь уголок и соберите изделие.
Если вы работали с белой бумагой, то сначала раскрасьте "грибок", а затем соберите.
Уровень сложности: фигурка несложная, можно приступать и начинающим.
Способ применения: можно сделать совместно с ребенком поделку в садик или в школу.
Цветы
О, сколько их на полях!
Но каждый цветёт по-своему -
В этом высший подвиг цветка!Мацуо Басё
Цветы всегда считались символом молодой жизни, красоты и любви, о чем рассказывается в легендах.
Цветок также воплощает жизненную силу и радость жизни, конец зимы и победу над смертью. Символично воспринимаются и цвета различных оттенков. Так, белый - это невинность, чистота, но также и смерть; красный - жизненность и кровь; голубой - тайна, внутренняя увлеченность и преданность; желтый - Солнце, тепло, золото.
"Нарцисс"
Этот цветок связывают со сном, смертью в юности и возрождением. Его еще называют цветком весны и "травой забвения", так как он обладает наркотическими свойствами. И все же по легенде нарцисс - это образ самовлюбленного, забывающего окружающий мир человека ("нарциссизм", болезненное тщеславие). В Китае нарцисс называют "водяной бессмертный", и если он зацветет под Новый год - это обещает счастье в наступающем году. На языке цветов нарцисс - символ обманчивых надежд, желания и эгоизма. Это цветок робких влюбленных.
Вам понадобится: квадрат размером 15 × 15 см из тонкой бумаги. Цвет бумаги для бутона выбирайте белого или желтого цвета. Для стебля возьмите квадрат 10 × 10 см зеленого цвета.
1. Для чашечки из большего квадрата сложите базовую форму "лягушка" и поверните ее так, чтобы закрытый угол был внизу. Затем во всех четырех плоскостях поднимите уголки.
2. Перелистните изделие как книжку.
3. Согните нижние боковые стороны от закрытого угла по намеченным линиям к середине.
