Всего за 29 руб. Купить полную версию

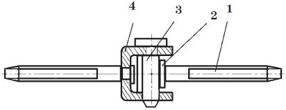
Рис. 30. Ввертные дверные петли: 1 – стержень петли; 2 – гайка; 3 – центральный болт; 4 – скоба поворотного стержня
Поскольку наружные двери более тяжелые, чем внутренние, для их установки используются три петли (для внутренних обычно достаточно двух петель). При выборе последних необходимо учитывать следующее:
– для каких дверей (наружных или внутренних) они предназначены;
– интенсивность открывания и закрывания двери;
– толщина обвязки двери;
– размеры фальцев;
– вес дверного полотна (см. приведенную ниже таблицу) и его комплектующих;
– направление открывания двери.
СООТВЕТСТВИЕ КОЛИЧЕСТВА ПЕТЕЛЬ ВЕСУ ДВЕРНОГО ПОЛОТНА

Для установки карточных петель на полотне и в дверной коробке выбираются углубления. Их толщина и размеры должны соответствовать размеру и толщине карты. Последняя устанавливается заподлицо с фальцем коробки и кромкой дверного полотна. Не следует прирезать петли на участках с дефектами, поскольку в этом случае крепление будет ненадежным.
Карточные петли закрепляются с помощью шурупов, под которые предварительно просверливаются отверстия. Головку шурупа нужно утопить, чтобы не царапалось полотно и не было сложностей с закрыванием двери.
Сначала следует установить петли на дверную коробку, затем приложить к ней дверное полотно и сделать разметку. Если планируется монтаж на три петли, то среднюю следует располагать точно посередине между двумя крайними.
При монтаже дверного полотна могут возникнуть некоторые проблемы. Например, часто дверное полотно неплотно входит в фальц или немного отходит. В первом случае выполняется дозакрутка шурупов (или их замена) или раззенковка отверстий. Второй дефект обусловлен наличием неровностей на контактирующих кромках фальца и створки.
Чтобы определить, где именно находится дефект, между ними нужно поместить лист бумаги и закрыть дверь. Если фуговка кромки дверного полотна и фальца дверной коробки произведена правильно, то лист должен равномерно прижаться по периметру двери. В местах дефектов он окажется зажатым. В этом случае необходимо повторно обработать фальц и кромку, предварительно сняв дверь.
Двери из ПВХ-профиля
Двери, выполненные из ПВХ-профиля, не менее популярны, чем деревянные. Они изготавливаются с применением энергосберегающих технологий, а процесс их производства не отличается трудоемкостью. Кроме того, требования к изготовлению дверных конструкций из ПВХ значительно ниже, чем к деревянным.
Важно также учитывать, что в России, к сожалению, мало деревообрабатывающих предприятий, работающих на уровне мировых стандартов. В связи с этим нередко имеет место нарушение технологии производства, что не самым лучшим образом сказывается на качестве готовых изделий. Поэтому если фирма предлагает дверные (и оконные) системы по той же цене, что и конструкции из ПВХ-профиля, лучше отдать предпочтение второму варианту. Дело в том, что качественные дверные системы из дерева, изготовленные с соблюдением всех технологических требований, стоят в несколько раз дороже, чем из других материалов.
Итак, вы решили заказать двери из ПВХ-профиля. Очень важно выбрать проверенную фирму, потому что работа и долговечность двери напрямую зависят от качества профиля. Нельзя забывать о том, что иностранные и отечественные производители конкурируют между собой. Это приводит к снижению стоимости продукции, а также к появлению элитных профилей и профилей экономкласса.
В процессе изготовления первых применяются новейшие технологии и уделяется большое внимание качеству, в то время как производство вторых направлено на удешевление готовой продукции. Последнее выражается в уменьшении толщины стенки профиля, изменении состава материала и, соответственно, снижении качества.
Если вы решили отдать предпочтение дверным системам из ПВХ, лучше выбрать проверенную фирму с хорошей репутацией и приобрести качественную конструкцию, пусть даже более дорогую. Одним из определяющих показателей качества является легкость соединения профилей. Важны также удобство сборки, соблюдение геометрии стыка и правильная поперечная и продольная фиксация стыка.
Современные производители выпускают множество видов профилей, благодаря чему можно создавать различные типы соединений дверной створки и рамы. Кроме того, можно свободно выбирать ширину профиля, его различные сочетания и дизайнерские решения. Дверные системы из ПВХ-профиля бывают одно-, двух– и многостворчатыми, современными и классическими, простыми и сложными по конструкции, белыми или с каким-либо рисунком.
При производстве дверных систем применяются особые профили с усиленным сечением и стальными вкладышами. Исключением являются балконные двери, профиль которых совпадает с профилем оконной конструкции.
В основном двери изготавливаются из профиля белого цвета, хотя можно выбрать любой оттенок. Однако в последнем случае должна быть соответствующая оснастка, иначе при сварке на швах могут появиться белые полосы. Уплотнители также должны быть цветными.
Особенности и основные технические характеристики ПВХ-профиля были освещены в первом разделе книги, где говорилось об оконных системах. Поэтому ниже речь пойдет о других, не менее важных аспектах.
Как и в случае с окнами, дверной профиль состоит из отдельных камер и имеет ячеистую структуру. Объем профиля и его теплосберегающая функция напрямую зависят от количества камер. Важно отметить, что теплосберегающими являются только те камеры, которые имеют направление "улица – помещение". Поперечные камеры усиливают прочность профиля.
Отечественные производители чаще всего выпускают 2-5-камерные профили. Для климата средней полосы России можно ограничиться двумя камерами. В наиболее крупную из них помещается усилительный вкладыш.
Основная сложность в случае с ПВХ-профилями заключается в выборе оптимального соотношения между такими характеристиками, как прочность и теплоизоляция. Дело в том, что перевес в одну из названных сторон приводит к усилению одного качества за счет другого. Так, если увеличивается количество защитных камер, уменьшается металлический усилитель и снижается прочность профиля. Толщина последнего не отражается на теплосбережении, но в него можно поместить большее количество камер, что повышает теплоизоляционные характеристики. Немалое значение имеет и качество уплотнителя, который располагается между створкой двери и рамой. Благодаря зазору между ними профиль делится на две камеры, что улучшает теплоизоляцию. Из вышесказанного можно сделать вывод, что дверные системы из ПВХ-профиля могут быть подобраны под любые климатические условия. Толщина дверного профиля составляет от 52 до 64 мм. Специально для толстых стен выпускается профиль толщиной 100 мм. О некоторых конструкциях дверей из ПВХ будет более подробно сказано далее.
Парадные двери со смещенной и прямой плоскостью
Такие дверные системы предназначены для различных типов остекления и дверных наполнителей толщиной 4-34 мм. Они могут открываться наружу или внутрь.
Наиболее подходит для дверного полотна трехкамерный ПВХ-профиль. В дверное полотно помещается металлический профиль. Вместе с угловыми соединителями он образует прочную и надежную конструкцию. От пыли и холодного воздуха помещение защищает уплотнитель, находящийся в дверной створке и коробке.
Двери такого типа оснащаются электромагнитным замком, нижними и верхними засовами, декоративными решетками, стыковыми ручками, звукоизолирующим уплотнением основания и другими аксессуарами.
Входные и вспомогательные двери
Такие конструкции из ПВХ используются для оформления дверного проема в галерею, подвал и различные хозяйственные помещения. Для их изготовления применяется профиль толщиной 104 мм с угловым усилителем из ПВХ. Последний значительно улучшает статическую стабильность двери и защищает ее от кручения.
Дверь может открываться внутрь или наружу. Для данного типа конструкций изготавливаются типовые замки. С целью усиления герметичности уплотняются притворы.
Раздвижные двери
Раздвижные двери изготавливаются под широкие дверные проемы (рис. 31). Они выполнены из многокамерного профиля, что обеспечивает их высокие теплоизоляционные характеристики. Они могут фиксироваться в любом положении.

Рис. 31. Раздвижная дверь из ПВХ-профиля: I, II – узлы конструкции: 1 – ПВХ-лист; 2 – заполнитель; 3 – брусок; 4, 5 – узлы стыковки дверных полотен
Для повышения статических качеств в конструкцию профилей включаются стальные усилители. Плотное прилегание дверного полотна к раме обеспечивается за счет двутаврового профиля, выполненного из анодированного алюминия. Съемный порог выполняет функцию предохранительной пластины и одновременно является несущей системой. Перемещение дверных элементов осуществляется с помощью пластмассовых роликов. Кромочные уплотнители обеспечивают защиту от пыли и влаги. В таких конструкциях предусмотрено усиление наиболее крупных камер жесткости. Для этой цели применяется стальная арматура. Рамный профиль оснащается уплотнительной подушкой. Предкамера, находящаяся в профиле рамы, необходима для проветривания и отведения конденсата.
Благодаря раздвижной перегородке-гармошке объемные пространства камеры могут быть разделены на функциональные зоны (рис. 32).