Всего за 45 руб. Купить полную версию

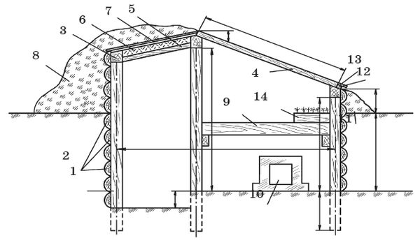
Рис. 3. Зимняя односкатная теплица: 1 - столбы; 2 - обшивка; 3 - обвязка; 4 - парниковая рама; 5 - доска; 6 - опилки; 7 - толь; 8 - земляная отсыпка; 9 - стеллаж; 10 - дымоход; 11 - откос; 12 - упорная доска; 13 - отлив; 14 - ящики с рассадой
Для строительства передней и задней стенок теплицы на дне котлована через каждые 2 м роют ямы глубиной 50 см, в которые устанавливают столбы. Для передней стенки потребуется шесть столбов высотой 165 см, для задней - тоже шесть, но уже по 210 см. Кроме того, понадобится еще шесть средних столбов высотой 230 см. Нижняя часть всех столбов, которая будет вкопана в землю, должна быть обработана антисептиком или обмазана смолой. На верхней части делают шипы высотой 5 см, сечением 4 × 5 см. Вокруг установленных столбов устраивают обвязку из брусьев или другого материала, закрепляют ее, используя шипы на стойках. Затем укладывают парниковые рамы и обшивают стенки теплицы досками или горбылем. Снаружи стенки теплицы присыпают землей, выбранной из котлована, для образования откоса, чтобы обеспечить сток дождевой воды от теплицы. Стенки и потолок над коридором тоже засыпают землей для сохранения тепла внутри теплицы. Наклон кровли не должен превышать 22–25. Чтобы не ошибиться при строительстве, делают шаблон из реек в виде прямоугольного треугольника с острым углом указанной величины.
При этом гипотенуза треугольника должна равняться длине парниковой рамы. По шаблону устанавливают две крайние стойки, натягивают шнур между их шипами и по шнуру ставят остальные стойки (столбы). Когда средние стойки установлены правильно, землю вокруг них трамбуют и соединяют по концам теплицы брус обвязки передней стенки со средними стойками.
Длину такой теплицы обычно рассчитывают на 10 парниковых рам. Стенку тамбура делают на 20–25 см ниже средних опорных столбов. Потолок коридора можно обшить досками. Вход в теплицу, как правило, устраивают с ее восточной или западной стороны. От тамбура помещение теплицы отделяют стеклянной перегородкой с легкой дверцей. Для утепления сооружения потолок можно дополнительно обшить тесом, а пространство между ним и досками забить опилками. На стыки парниковых рам прибивают рейки, чтобы исключить щели. По центру потолка устанавливают деревянную вытяжную трубу простейшей конструкции для обеспечения вентиляции теплицы в зимнее время.
Когда помещение теплицы готово, начинают возводить стеллаж для рассады. К столбам с внутренней стороны южной (передней) стены прибивают опорные бруски, укладывают на них короткие прогоны до средних стоек, а на прогоны настилают доски или шифер. По краям стеллажа прибивают доски для удержания почвенной смеси толщиной слоя не менее 25 см.
После завершения строительных работ все деревянные части теплицы целесообразно покрасить светлой масляной краской. Пол в рабочем коридоре можно углубить на 25–30 см, чтобы ходить не пригибаясь. Затем пол выравнивают и посыпают слоем песка, чтобы в теплице сохранялась повышенная влажность.
Для обогрева можно построить печь в тамбуре и провести дымоход под стеллажом вдоль всей теплицы.
Зимняя двускатная теплица
Двускатная теплица состоит из небольшого тамбура и основного помещения, накрытого кровлей из 10 парниковых рам - по пять на каждом скате. Размер каждой рамы 106 × 160 см.
Полезная площадь теплицы - 15 м2. Теплицу можно эксплуатировать в зимнее время. Если грунтовые воды проходят далеко от поверхности почвы, стенки теплицы заглубляют на половину их высоты.
Землю из котлована размещают вокруг с наклоном от будущей теплицы. Дно котлована строго горизонтально выравнивают с помощью уровня.
Теплица представляет собой невысокое сооружение с высотой стен 80-100 см. Поверху уложены два бруса сечением 12 × 15 см с пазами для парниковых рам, которые составляют двускатную кровлю (рис. 4). Верхние концы рам крепятся в пазах конькового бруса сечением 12 × 15 см.

Рис. 4. Зимняя двускатная теплица: а - план теплицы: 1 - печь; 2 - дымоход; 3 - стеллаж; 4 - дымовая труба; 5 - тамбур; б - схема двускатной теплицы (разрез): 1 - стена; 2 - фундамент; 3 - стропила; 4 - коньковый брус; 5 - обвязочный брус; 6 - паз для упора рам; 7 - отлив; 8 - стеллаж; 9 - стойка стеллажа; 10 - зазор между стойкой и стеллажом; 11 - дымоход
Коньковый брус соединяют с нижними обвязочными брусьями с помощью легких деревянных стропил сечением 8 × 10 см.
Брусья должны быть расположены так, чтобы на эти стропила ложились крайние рамы.
Если стенки теплицы строят из шлакоблоков или камня, фундамент может быть легким, ленточным, заложенным на глубину не более 35–40 см. Обвязочные брусья в этом случае кладут прямо на стенки. Если стенки деревянные, обвязочные брусья укладывают в шипы круглых стоек, вкопанных на расстоянии 2 м друг от друга, как и у односкатной теплицы.
Стойки с обеих сторон обшивают досками и засыпают шлаком или опилками. Угол наклона кровли 20 определяет ширину теплицы, приблизительно равную 3 м. При большем угле наклона кровли эта ширина пропорционально уменьшается, но больше чем 22° угол наклона делать не следует.
Внутреннее оборудование теплицы также состоит из стеклянной перегородки с дверцей, отделяющей тамбур от основного помещения, и печи с дымоходом. Стеллажи делают шириной 1,2 м и устраивают их вдоль обеих стен.
Дымоход проходит под стеллажами вдоль стены с зазором между ними 5–6 см.
После крепления рам на кровле теплицы стыки между ними зашивают рейками, а поверх бруса кладут козырек из кровельного железа так, что его края заходят на рамы на 2–3 см.
Вентилируют теплицу с помощью открывающихся рам на каждом скате кровли. При тщательной сборке двускатной теплицы конструкция гарантирует в зимнее время температуру внутри 18–20°.
Поэтому в таких теплицах можно выращивать многие овощные культуры круглый год.
Зимняя двускатная теплица с капитальными стенами
Некоторые владельцы участков предпочитают теплицы с кирпичными стенами (рис. 5). Если их не пристраивают к дому, то обычно делают с двускатной крышей. Такие теплицы долговечнее, удобнее в эксплуатации и требуют меньших затрат на отопление зимой по сравнению с предыдущими простейшими конструкциями. В теплицах с капитальными стенами можно выращивать как овощные, так и садовые культуры.

Рис. 5. План зимней теплицы с кирпичными стенами: 1 - водогрейный котел; 2 - отопительные трубы
Выбор места и ориентация этих сооружений проводится по тем же правилам, что и для других теплиц.
На легких и сухих почвах теплицу можно заглубить в землю на 80 см. При печном отоплении длина теплицы не должна превышать 5 м. Печь располагают в пристройке или тамбуре. Там же готовят почвенные смеси, высаживают растения и т. д. Оптимальная длина тамбура - 1,5 м.
От теплицы тамбур отделяет стеклянная перегородка или капитальная стена с дверью. На естественных плотных грунтах кирпичные стены возводят на ленточном фундаменте толщиной 40–50 см.
В каждой боковой стене теплицы делают по одному вентиляционному отверстию на уровне пола, которые на зимний период тщательно закрывают.
Кровлю тамбура делают из стропил, обрешетки и кровельного железа или толя. Двускатная кровля теплицы устанавливается с углом наклона 20–25°. Ее основа состоит из двух брусьев сечением 12 × 15 см, уложенных с толевой прокладкой на боковые стены, и конькового бруса такого же сечения, скрепленного с помощью стропил сечением 7 × 10 см с нижними обвязочными брусьями (рис. 6).