Всего за 45 руб. Купить полную версию

Рис. 52. Раздвижные козелки
Разборно-передвижной парник
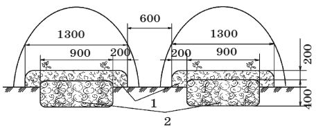
Разборно-передвижное пленочное укрытие (УРП-20) состоит из отдельных секций, его можно быстро собрать и разобрать, переносить, хранить, удобно ухаживать за растениями. Для бортов парника используют доски из теса шириной 15–16 см, толщиной 15–20 мм, длиной 6 м. В съемных стропилах со стойками выбраны пазы для вставки бортовых досок.
Стропила собирают из деревянных брусков сечением 30 × 50 мм, скрепляя их с помощью гвоздей. Коньковый брус имеет прямоугольное сечение 30 × 50 мм, снабжен вырезами для стропил. Пленку закрепляют с помощью штапика (тонкой рейки) на коньковом брусе и к бобинам из рейки. Штапик заворачивают в край пленки и прибивают гвоздями через каждые 25–30 см.
После закрепления одного края пленку расправляют и закрепляют на коньковом брусе, забивая гвозди через каждые 50 см. Второй край пленки также заворачивают на штапик, натягивают и прибивают через 25–30 см на бобину с другой стороны парника (рис. 53). В средней полосе России это пленочное укрытие используют с начала апреля до конца ноября в зависимости от погоды. Размещают парник с севера на юг, чтобы обеспечить растениям равномерное освещение и наименьший перегрев воздуха в полуденную жару.

Рис. 53. Разборно-передвижной парник: 1 - коньковый брус; 2 - стяжка; 3 - строительный брус; 4 - бортовая доска; 5 - бобина с пленкой; 6 - соединительная скоба
Утепленный грунт
Самым простым и доступным способом выращивания ранних овощей для каждого владельца дачного и приусадебного участка является утепленный грунт с использованием биотоплива и пленочного укрытия (рис. 54). Укрытие обеспечивает растениям ту же защиту, что и холодный парник, но оно хуже сохраняет тепло, и воздух внутри быстрее остывает.
Преимущество укрытий в их передвижных конструкциях. Их применяют для прогрева почвы перед посевом семян в открытый грунт, выращивания рассады, защиты отдельных растений от холода.

Рис. 54. Виды укрытий: а - укрытие из гофрированного пластика; б - пленочное укрытие на арочном каркасе; в - укрытие из пластмассового шифера; г - укрытие из двух стекол или листов прозрачного пластика
Укрытия устанавливают на открытых, не затененных деревьями местах, защищенных от ветра. Регулярное проветривание укрытий исключает застой воздуха и его переувлажнение, но тем не менее сквозняков надо избегать. Перед тем как установить укрытие на каркасе, следует подготовить почву в соответствии с требованиями той или иной выращиваемой культуры. Полив ведут, не снимая укрытия, прямо сверху - стекающая вода в любом случае поглощается почвой. Можно с внешней стороны вдоль укрытия делать канавки, в которые и будет собираться вода, оттуда проникающая к корневой системе растений. Для паровых гряд с севера на юг роют небольшие котлованы глубиной 20–30 см, шириной 80–90 см, а длиной - по потребности. На дно котлованов закладывают разогретое биотопливо слоем толщиной 40 см, а сверху насыпают 10–15 см почвенной смеси (рис. 55). Затем котлован накрывают пленочным каркасом или делают котлован глубже так, чтобы можно было просто натянуть пленку, прижимая ее грунтом или кирпичами.

Рис. 55. Утепленные паровые гряды: 1 - биотопливо; 2 - огородная земля
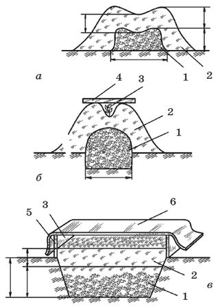
Для паровых гребней делают длинные борозды на расстоянии 50 см одна от другой. Ширина каждой борозды - 30 см, глубина - 20–25 см. На дно борозд укладывают горячее биотопливо, присыпают его слоем почвенной смеси толщиной 15–20 см (рис. 56). В гребне делают углубления, в которые высевают семена или высаживают растения. При похолодании их накрывают обрезками стекла, пленки или толя, соломенными матами (рис. 57). Для устройства бескаркасного укрытия делают из почвы гребни шириной 30–40 и высотой 25–30 см, а по обе стороны от гребня - канавки глубиной 7-10 см, в которые и высаживают растения (рис. 58).

Рис. 56. Паровые гребни: 1 - биотопливо; 2 - огородная земля
После этого на гребень настилают полотно пленки и натягивают, присыпая края землей. Некоторые владельцы участков накрывают растения перфорированной пленкой. Для этого они роют траншеи, на дно которых насыпают плодородную почвенную смесь и высаживают в нее растения. Сверху траншеи закрывают перфорированной пленкой. Воздух под ней хорошо вентилируется, и почва не перегревается в жаркий день, а во время дождя перфорация пропускает влагу, то есть осуществляется полив. Такую пленку можно купить, а можно сделать самостоятельно, проделав отверстия в рулоне нагретым на огне гвоздем.

Рис. 57. Утепленный грунт на биологическом обогреве: а - паровая куча; б - паровая яма с дополнительным укрытием всходов; в - теплый рассадник: 1 - навоз; 2 - почва; 3 - воздушное пространство под укрытием; 4 - стекло; 5 - борта из досок; 6 - соломенный мат

Рис. 58. Бескаркасный тип укрытия (разрез): 1 - пленка; 2 - валик из земли
Простое пленочное укрытие изготавливается из обычной полиэтиленовой пленки шириной 100–150 см и длиной в 1,5 раза больше укрываемой грядки. Вдоль всей пленки с интервалом 1 м поперек приваривают или приклеивают свернутые из той же пленки трубочки диаметром 10 мм.
В них вставляют куски алюминиевой проволоки диаметром 8 мм так, чтобы концы проволоки с обеих сторон пленки были не менее 20 см. Затем проволочный каркас изгибают одинаковыми дугами и втыкают в землю. Пленку прижимают землей или трубами.
Эта простая конструкция удобна еще и тем, что дуги можно распрямить, а пленку скатать в рулон до следующего сезона.
Но есть здесь и существенный недостаток - плохая вентиляция.
Днем температура воздуха под пленкой резко повышается, ее края надо поднимать и проветривать растения, но при этом вместе с температурой падает и влажность, а это недопустимо для огурцов. В ночное время тепло улетучивается, влажность возрастает, а вместе с ней увеличивается и риск поражения растений болезнями. Кроме того, отсутствие верхней вентиляции затрудняет опыление цветков насекомыми.
Чтобы исправить эти недостатки, можно несколько переоборудовать укрытие. На алюминиевые дуги укладывают решетку из двух длинных параллельных реек и трех поперечных планок. Расстояние между длинными рейками - 30 см. Это расстояние покрывают пленкой с мелкими отверстиями, в которые проходят дождевые капли. Пленку фиксируют с помощью штапика. К тем же продольным рейкам крепят пленочные шторы, закрепляя нижний край брусьями. Торцевые стороны также плотно закрыты пленкой.
В утренние часы сдвигают пленку на верхней решетке, и пчелы начинают опылять овощные культуры. В дневное время пленочные шторы заворачивают на брусья и поднимают, чтобы проветривать растения.
Ведение тепличного хозяйства
При ведении тепличного хозяйства очень важно определить объем ежедневных мероприятий по уходу за растениями, чтобы не погибли сеянцы и молодые всходы, а качество взрослых растений не снижалось. В этом владельцам теплиц и парников помогут рекомендации для разных видов теплиц, расписанные помесячно на целый год.
Календарь работ в необогреваемой теплице
Приведенный в этом разделе календарь поможет владельцам теплицы уточнить сроки посева и сбора основных культур, выращиваемых в необогреваемой теплице, а также сроки посадки декоративных растений и мероприятий по уходу за ними.
В календаре ничего не сказано о поливе, подкормке, увлажнении, притенении и вентиляции теплицы, поскольку время проведения этих работ зависит от постоянно меняющихся погодных условий и вида культур. Особенно внимательно рекомендуется отслеживать первые признаки развития болезней и нападения вредителей. Наиболее благоприятный период для их появления - апрель - октябрь. Но паутинный клещ и белокрылка могут размножаться в любое время года.
К необогреваемым теплицам относят сооружения, в которых нет никакого искусственного обогрева. Чаще всего это простые укрытия, спасающие растения от резких перепадов температур, атмосферных осадков и ветра. Самый важный фактор, обеспечивающий возможность выращивания растений в такой теплице, - температура.
Необогреваемая теплица используется для выращивания холодостойких культур, которые могут развиваться и в открытом грунте, однолетних растений, в том числе и овощных. У последних в такой теплице увеличивается вегетационный период, что позволяет собирать урожай раньше, чем в случае их роста в открытом грунте.
В необогреваемой теплице можно выращивать однолетние и двулетние декоративные растения. Несмотря на отсутствие обогрева, с помощью различных приемов можно влиять на изменение условий внутри теплицы.