Всего за 45 руб. Купить полную версию

Рис. 67. Выполнение фальцев под стекло: а – выборка четверти; б – искусственная четверть
5. Бруски соединяют с помощью шипов, которые могут быть одинарными, двойными или многократными. Кроме того, они различаются по профилю на прямые и равнобочную трапецию с широким основанием на торцевой грани. Шипы изготавливают с помощью лучковой пилы, правильно установив при этом полотно относительно станка. Угол между ними должен быть равен 30°, что регулируется ручкой. Чтобы распил был ровным и аккуратным, работать нужно, не спеша. При поперечном распиливании заготовка должна располагаться только горизонтально, а при продольном – вертикально или горизонтально. Чтобы не ошибиться, следует все время держать линию разметки на виду. очень важно, чтобы посадка шипов в проушины был достаточно плотной, даже тугой. Между ними должен быть допуск в 0,2–0,3 мм. Если размер шипа будет больше размера проушины, она расколется при его посадке. Если он, наоборот, будет меньше, тогда неизбежно ослабление соединения.
Профессионалы советуют
Количество краски зависит от поверхности, которую предстоит покрыть, укрывистости материала (она указывается на этикетке) и, конечно, площади. Например, на нестроганую доску или старую фанеру придется потратить на 15–20 % больше краски, чем на обработанную гладкую поверхность.
Грани шипов должны представлять собой прямоугольник и находиться под прямым углом относительно друг друга. идеальным можно считать вариант, когда каждой проушине соответствует свой шип, благодаря чему шипы будут входить в гнезда именно так, как требуется, то есть без зазоров. Чтобы не ошибиться, бруски обычно нумеруют, отмечая правую и левую стороны. Ошибка приведет к тому, что рама перекосится.
6. Для проушин намечают на бруске контуры, вычерчивают их с помощью угольника или шаблона. Если проушина должна быть сквозной, то те же операции проделывают с обеих сторон. Затем выполняют продольный пропил, после чего излишек древесины выдалбливают долотом или стамеской (рис. 68) в направлении волокон, совершая глубокие поперечные движения стамеской до тех пор, пока вся древесина не будет выбрана на необходимую глубину.
В процессе работы инструмент регулярно охлаждают, погружая в воду. Чтобы работать было удобно, стамеску затачивают под углом в 15–25°, а окончательную доводку осуществляют на мелкозернистом бруске.

Рис. 68. Выполнение проушин
7. Поскольку соединение типа "шип – проушина" не всегда получается достаточно прочным и жестким, крепление деревянных рам усиливают с помощью нагеля. Последний представляет собой штырь, который вбивается в смазанное клеем отверстие, просверленное поперек шипового соединения (сверло должно составлять 0,12-0,5 толщины нагеля). Нагели имеют различную форму:
1) шести– и восьмигранную;
2) конусообразную;
3) круглую.
Для них подбирают древесину с прямым направлением волокон, причем ее влажность должна быть меньше, чем у брусков, из которых изготавливают раму. Когда влажность тех и других сравняется, соединение станет более прочным.
Поскольку древесина при сверлении подвержена расщеплению, выполнять отверстия под нагели следует с особой осторожностью. сначала сверлом меньшего диаметра намечают центр, затем соответствующим сверлом поочередно с двух сторон завершают работу.
8. Жесткость раме сообщит накладной металлический уголок, который привинчивают шурупами (не менее 3 штук с каждой стороны), причем торопиться с этой операцией не следует. сначала необходимо подогнать раму, скорректировать при необходимости и только после этого укрепить ее уголком по всем углам.
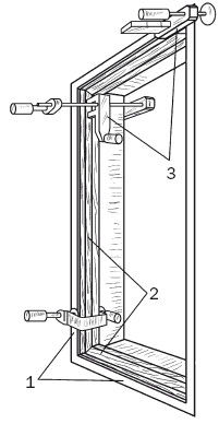
Сборка рамы показана на рис. 69.

Рис. 69. Сборка рамы для балконного остекления: 1 – брусок; 2 – скругленная рейка; 3 – стекло; 4 – штапик; 5 – нагель; 6 – металлический уголок
9. Если предусмотрены открывающиеся створки, для них должны выполняться припуски, то есть они должны быть на 10–15 мм больше, чем представлено на чертеже. Одна из створок должна быть на 10–15 мм шире. Такие припуски необходимы, поскольку пойдут на выборку четвертей притвора. Чтобы изготовить его, створку закрепляют на верстаке и выполняют работу с помощью зензубеля. для облегчения открывания и достаточно плотного закрывания в наружных брусках делают скосы. Образовавшуюся между створками щель закрывают нащельником, прибив его гвоздями (для этого можно использовать и шурупы).
В нижних брусках рамы и на открывающихся створках выбирают пазы, куда на клей будут крепиться отливы. Крепление делают более прочным, для чего отливы фиксируют гвоздями или шурупами.
Профессионалы советуют
Чтобы не ошибиться в количестве при покупке краски, определите площадь окрашиваемой поверхности, для чего умножьте ее высоту на ширину и вычтите площадь окон и дверей. Полученные цифры округлите.
На неоткрывающихся створках (глухих) концы отливов выполняют прямыми, а на открывающихся их спиливают под углом 45°.
Для экономии средств (чтобы не покупать большие листы стекла) можно изготовить решетчатую балконную раму. Ее выполняют в виде глухих переплетов, между которыми находятся горбыльки (рис. 70).
Как и обычные рамы, решетчатые могут иметь форточки и открывающиеся створки. Рамы начинают соединять со скрепления горбыльков, что выполняется путем пазового соединения таким образом, чтобы фальцы оказались в одной плоскости.
В противном случае при уплотнении стекол возникнут трудности. соединив горбыльки, крепят наружные бруски обвяза. Для соединения используют синтетический или столярный клей.
Следует сказать, что горбыльки могут быть не только прямыми. Часто им придают сложную конфигурацию, для чего их вырезают электрическим лобзиком из широкого бруска, на который наносят контуры. интересно смотрятся гнутые горбыльки, которые предварительно кипятят, придавая им потом соответствующий профиль.

Рис. 70. Решетчатая балконная рама: а – переплет; б – горбыльки; в – соединение горбыльков
После того как рама изготовлена, можно приступать к ее установке. В зависимости от того, что она представляет собой (состоит из отдельных подвижных или неподвижных рам (рис. 71) или выполнена в виде крупногабаритной конструкции с открывающимися створками (рис. 72)), осуществляется и установка.
Крупногабаритные рамы прикрепляют к металлическому каркасу или путем расклинивания. В роли нижнего упора выступает металлический угольник (или полоса), к которому крепится поручень балконного ограждения. Последний перед установкой рамы демонтируют, а на его место устанавливают нижнюю грань бруска рамы. Поскольку поручень будет сниматься при установке рамы, это необходимо учитывать при измерении, чтобы не допустить погрешности. Снизу раму фиксируют к металлическому обрамлению с помощью шурупов, причем под них используют отверстия от снятого поручня.

Рис. 71. Установка конструкции в виде отдельных рам: 1 – каркас балкона; 2 – шуруп; 3 – карточная петля; 4 – неподвижная секция; 5 – открывающаяся створка; 6 – фрамуга с царгой
Верхнюю часть рамы расклинивают деревянными клиньями к балконной плите верхнего этажа. Это крепление можно усилить мебельными уголками, зафиксированными дюбелями или шурупами.

Рис. 72. Установка крупногабаритной рамы: 1 – неподвижная секция; 2 – открывающаяся створка; 3 – крепежный уголок; 4 – отливной козырек; 5 – нижний козырек; 6 – плита перекрытия; 7 – стена ограждения; 8 – шурупы; 9 – гвозди
Наиболее надежным считается крепление рамы к металлическому каркасу (рис. 73).
Такой способ фиксации позволяет устанавливать раму в виде отдельных секций.

Рис. 73. Установка рамы на металлический каркас: 1 – каркас; 2 – рама; 3 – струбцины
Каркас изготавливается следующим образом. для боковых рам используют металлический уголок сечением 40 х 40 или 45 х 45 мм. Металлические рамы на каждую сторону делают в соответствии с осуществленными замерами, поскольку вполне могут быть допущены строительные погрешности, в результате которых рама встанет с большими зазорами. Ширина обрамляющейся рамы равна ширине балконного ограждения. Тогда раму можно прикрепить к уголку, обрамляющему балконное ограждение, с помощью сварки или анкерных болтов (рис. 74).