Всего за 45 руб. Купить полную версию

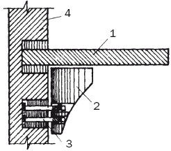
Рис. 54. Усиление балконной плиты: 1 – стальные балки; 2 – обрамляющий уголок; 3 – арматурная сетка; 4 – стена здания; 5 – отверстия в стене
В стене пробивают отверстия на две трети толщины (не менее!). Подходящим материалом для несущих балок является швеллер, который предварительно очищают и покрывают слоем масляной краски. Балки временно прикрепляют к балкону и бетонируют в стене, после чего к ним приваривают арматурную сетку и бетонируют плиту.
Подобным же способом балкон можно удлинить и расширить. Но при этом концы балок, выступающие вперед, соединяют уголком.
Арматурная сетка, используемая в этом случае, должна иметь ячейки 15 х 15 см и покрывать новую площадь балкона в том числе. Под ней делают опалубку и бетонируют. После отвердения бетона устанавливают новое ограждение. Хочется предостеречь тех, кто намерен увеличить площадь балкона в 2 раза. консольная часть балкона при расширении более чем на 40 см имеет большой опрокидывающий момент, рассчитать и устранить который может только специалист. Кроме того, такие работы проводятся только после согласования с соответствующими организациями.
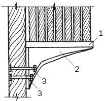
Но вернемся к усилению балконной конструкции. Это можно выполнить, применив профили усиления жесткости (подкосы), в которых проделаны отверстия для крепежных болтов, которые вкручиваются в стену так, как изображено на рис. 55.

Рис. 55. Добавочное усиление балконной плиты: 1 – плита; 2 – подкос; 3 – болты; 4 – стена здания
Если стена, относительно которой предполагается усиливать балконную конструкцию, деревянная, в стене просверливают сквозные отверстия под крепежные болты. с внутренней стороны стены под головки болтов выполняют углубления, маскирующие места крепления (рис. 56). Подкосы могут быть деревянными, металлическими или бетонными.
В усилении нуждаются не только балконные конструкции. Лоджии тоже могут потребовать проведения таких мероприятий, хотя в этом случае дело облегчается наличием боковых стенок, к которым основание лоджии можно прикрепить с помощью накладок (рис. 57).

Рис. 56. Дополнительное усиление балкона к деревянной стене: 1 – плита; 2 – подкос; 3 – болты

Рис. 57. Дополнительное усиление основания лоджии: 1 – торцевые выступы; 2 – плита; 3 – верхнее перекрытие лоджии; 4 – балконная дверь с окном; 5 – ограждение лоджии; 6 – наружная стена здания; 7 – накладки
Расширение индивидуального строительства в последние годы стимулировало проектирование балконных конструкций, которые часто совмещают с другими элементами дома, например с крыльцом (рис. 58, 59), при этом балконы могут быть крытыми или открытыми.

Рис. 58. Симбиоз крыльца и крытого балкона

Рис. 59. Совмещение крыльца и открытого балкона
Исправляем ошибки: строим балкон на первом этаже
Типовые проекты часто не предусматривают сооружения балкона на первом этаже, что стали делать застройщики самостоятельно после получения соответствующего разрешения. Балконы на первых этажах устраивают в виде застекленной террасы (веранды) и строят на отдельном фундаменте, глубина заложения которого должна превышать глубину промерзания грунта. Если грунтовые воды залегают на глубине 1,5 м, вполне достаточно выполнения мелкозаглубленного фундамента в траншее глубиной 50 см.
Профессионалы советуют
Чистоту строительного песка можно очень легко проверить. Для этого достаточно намочить его и сжать в кулаке. Если песок чистый, он не слипнется и не испачкает руки.
В соответствии с тем, что балкон будет находиться под окнами квартиры, выполняют разбивку фундамента. Поскольку далее мы подробно будем говорить о выполнении разбивки фундамента и всех с этим связанных работах, сейчас приведем только некоторые замечания, тем более что рисунки практически не нуждаются в комментариях.
Размеры пристроенного балкона могут превышать стандартные, при этом он может захватывать окна нескольких комнат или комнаты и кухни, которые выходят на одну сторону. Кроме того, необходимо учесть, что фундамент вновь построенного балкона должен вплотную примыкать к фундаменту основного строения (рис. 60).
Если соседи уже построили такой балкон, новая пристройка должна примыкать к имеющейся пристройке (рис. 61).
Если речь идет о лоджии, тогда фундамент будет ограничен ее боковыми стенками (рис. 62).
После выполнения обноски переходят к земляным работам. Грунт из котлована или траншеи лучше вывозить сразу, чтобы не загромождать подъезд или подход к стройплощадке. Если выполняется пристройка к уже заселенному дому, во избежание несчастных случаев необходимо выставить соответствующее ограждение.

Рис. 60. Обноска пристройки: 1 – столбики; 2 – доски; 3 – шнур; 4 – стена здания; 5 – окно; 6 – будущая дверь

Рис. 61. Обноска фундамента при уже имеющейся пристройке слева: 1 – колышки; 2 – доски; 3 – шпагат; 4 – стена здания; 5 – окно; 6 – стена соседней пристройки
Для фундамента оптимально использование стандартных бетонных блоков сечением 2400 х 60 х 30 см, поскольку нагрузки на него не будут слишком значительными. Высота фундамента должна совпадать с высотой фундамента основного строения, как и наружная его отделка.

Рис. 62. Обноска фундамента при наличии лоджии:
1 – колышки; 2 – контуры фундамента; 3 – шнур;
4 – балконная плита второго этажа; 5 – окно первого этажа;
6 – уровень будущей кирпичной кладки; 7 – контуры будущей балконной двери
Для гидроизоляции на фундамент кладут два слоя рубероида. При этом необходимо учесть возможность сооружения подвала в пристройке. Если это предполагается, тогда гидроизоляцию выполняют в 2 этапа: первый раз ее кладут на высоте 15–20 см от земли, а второй раз – перед перекрытием. Если в пристроенном балконе будет настелен деревянный пол, верхняя гидроизоляция не должна доходить до деревянного настила примерно 20 см.
Стены пристройки выполняют в один кирпич. Оптимальный вариант – цепная кладка, при которой соблюдается горизонтальная и вертикальная перевязка швов. Боковые стены можно поднять на всю высоту пристройки. Переднюю поднимают на высоту подоконной плиты дома, оставляя место под остекление. Пристроенный балкон по конструкции напоминает лоджию (рис. 63).

Рис. 63. Пристройка балкона-лоджии на первом этаже:
1 – фундамент; 2 – кирпичная кладка; 3 – балконная плита второго этажа
В качестве верхнего и нижнего перекрытий можно использовать стандартную железобетонную плиту длиной 3–6 м и шириной 120–180 см. При этом нижняя плита одновременно будет и полом.
Профессионалы советуют
Если для приготовления бетона лучше подходит крупно– и среднезернистый песок, то для кладочного используйте только мелкий.
Возможен и другой вариант, когда боковые стенки также оставляются под остекление. Тогда для нижнего перекрытия можно будет использовать железобетонную плиту, а для верхнего – древесину, из которой выполняют каркас и обрешетку, а затем все накрывают любым кровельным материалом (рис. 64).