...
Совет
Если шнур где-либо касается стены, то это место выпуклости должно быть ликвидировано. Если удалить выпуклость невозможно, то вытаскивают один из вертикальных рядов гвоздей, ближайший к обнаруженной выпуклости, и снова забивают, но уже так, чтобы в выпуклых местах оставалось нормальная толщина штукатурного слоя.
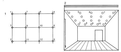
Далее между гвоздями 1 и 4 с помощью натянутого шнура забивают гвозди 7 и 8, образующие верхний опорный ряд, затем между гвоздями 3 и 6 забивают гвозди 9 и 10 и в нижнем опорном ряду – гвозди 11 и 12. Таким образом, вся поверхность стены покрывается гвоздевыми марками, по которым можно вести оштукатуривание.
Потолки провешивают с помощью уровня с правилом, водяного гибкого уровня или ватерпаса. Сначала с помощью шнура определяют самое низкое место потолка – выпуклость, вбивают в нее гвоздь так, чтобы расстояние от шляпки гвоздя до поверхности потолка составляло толщину штукатурного слоя, а остальные гвозди устанавливают с помощью правила с уровнем, ватерпаса или водяного уровня, располагая их рядами по отбитой намеленным шнуром линии.
...
Внимание
При провешивании поверхностей, в которые невозможно вбить гвозди, вместо гвоздей применяются гипсовые марки, инструменты используются те же, последовательность провешивания и метод определения высоты марок аналогичны.

Рис. 2. Провешивание стен и потолков:
1 – последовательность провешивания стен; 2 – последовательность провешивания потолков
Материалы для штукатурных работ В штукатурных работах используют различные растворы, представляющие собой смесь вяжущего вещества с заполнителем, затворенные водой. В качестве вяжущих веществ используются: известь, глина, гипс, цементы, жидкое стекло, а заполнителей: песок, гравий, каменная крошка, топливный шлак, опилки, керамзитовый песок и др. Облицовочными материалами служат гипсовые листы сухой штукатурки и древесно-волокнистые плиты. Вспомогательными материалами являются дрань, гвозди, металлическая сетка, рогожа, войлок и др. Выбор материала зависит от назначения штукатурки, вида основания, климатических условий местности и ряда других факторов.
Вяжущие материалы
К вяжущим материалам относятся: глина, известь, цемент, гипс и др.
Глина – это землистая масса, при смешивании с водой способная образовывать пластичное тесто. После высыхания глина сохраняет приданную ей форму без заметной усадки, а после обжига становится весьма прочной.
Жирной называется богатая глинистыми минералами глина, а тощей – глина, в составе которой имеется большое количество примесей, а именно песка. От того, какие примеси входят в состав глины, зависит ее цвет. В красный, желтый и бурый цвета окрашена глина с примесью окиси железа и марганца, в черный – окиси хрома.
Глину применяют в качестве вяжущего материала для оштукатуривания внутренних и наружных стен помещения, а также глиняные растворы незаменимы при кладке и оштукатуривании печей и каминов.
Известь строительная – наиболее распространенный вяжущий материал, обладающий хорошей пластичностью, но медленным схватыванием и отвердением только на воздухе. Известь бывает воздушная и гидравлическая.
Известь строительная воздушная (продукт обжига известняка) существует нескольких видов: негашеная – кипелка кусковая и кипелка молотая; гидратная – пушонка (продукт гашения небольшим количеством воды); известковое тесто (продукт гашения при избытке воды).
Известь строительная гидравлическая (продукт обжига известняка, содержащая до 20 % глинистых примесей) бывает негашеная кусковая и гашеная порошковая. Гидравлическая известь (по сравнению с воздушной) способствует образованию более тонкой склеивающей пленки и прочного красочного покрытия. Для гашения известь заливают водой из расчета на 1 часть извести – 3 части воды. Скорость гашения извести различна: для быстрогасящейся – 10 мин, среднегасящейся – от 10 до 30 мин, медленногасящейся – свыше 30 мин.
Начавшую гаситься известь размешивают, а после гашения процеживают через сито с ячейками 2×2 мм и оставляют для отстоя. Таким образом, получают известковое тесто, которое разбавляют водой, процеживают и отстаивают. Известковое тесто содержит примерно 50 % воды и 50 % гидрата окиси кальция. При добавлении небольшого количества поваренной соли прочность извести повышается. Известь в чистом виде применяется только как побелка (известковая краска) в малярных работах. Известковое тесто, высыхая, дает большую усадку, покрывается трещинами и не имеет нужной прочности.
...
Совет
Чтобы известковое тесто не трескалось, в него добавляют заполнители: песок, молотый шлак, пемзовую пыль и т. д. Все перемешивают и получают известковый раствор, твердеющий весьма медленно.
Известь в штукатурных растворах можно заменить отходами промышленности – подзолом, окшарой, карбидным илом или глиной.
Гипс строительный – белый или сероватый порошок – является продуктом термической обработки при 150–160 °C природного гипса с последующим его помолом.
Гипс широко применяется в штукатурных работах как добавка к известковому или глиняному раствору с целью ускорения их схватывания и повышения прочности. Это единственный вяжущий материал, который можно применять в чистом виде, т. к. при твердении он не уменьшается, а увеличивается в объеме до 1 %. Гипс изготовляется трех сортов. Затворенный водой гипс должен начинать схватываться не ранее 4 мин и за 30 мин полностью отвердеть. Замедлить схватывание гипса на 15–20 мин можно путем добавки 0,5–2,0 % костного или мездрового клея, 5–10 % буры или 5–20 % известкового теста. Гипс необходимо защищать от увлажнения и загрязнения.
...
Внимание
К заменителям гипса относятся: гажа – камневидная природная смесь гипса с глиной – и глинистый гипс – сыпучая или камневидная порода. Содержание гипса в этих заменителях колеблется от 40 до 70 %. После обжига их можно использовать для приготовления воздушного вяжущего материала.
Цемент – гидравлический вяжущий материал является самым прочным вяжущим. Его получают путем обжига измельченного клинкера и некоторых минеральных добавок при высоких (до 1500 °C) температурах. Для приготовления строительных растворов используют шлакопортландцементы, пуццолановые портландцементы, расширяющиеся и безусадочные цементы, глиноземистый цемент и т. п. Самыми распространенными считаются глиноземистый цемент и портландцемент.
Портландцемент и портландцемент с минеральными добавками имеют марки: "400" и "500", "550" и "600"; шлакопортландцемент – "300", "400" и "500"; быстротвердеющий портландцемент – "400" и "500" (цифры означают прочность на сжатие в кг/см2). Схватывание цемента должно наступить не ранее 45 мин, заканчивается оно не позднее 12 ч после затворения водой. Твердеет цемент длительное время, но величину прочности на сжатие измеряют после выдержки бетона в течение 28 суток. При пониженной температуре схватывание портландцемента замедляется. Портландцемент применяют для оштукатуривания помещений с повышенной влажностью. Белый портландцемент применяют для отделочных работ.
Цемент не следует длительно хранить, так как его качество снижается за 6 месяцев хранения на 25 %, за 1 год – на 40 %, за 2 года – на 50 %. При хранении его необходимо защищать от влаги и загрязнения.
Заполнители
Заполнители бывают:
• тяжелые холодные (объемный вес более 1000 кг/м3) – песок и др.;
• легкие теплые (объемный вес менее 1000 кг/м3) – пемза, шлак, асбест, древесный уголь и др.
Пески классифицируются по крупности зерен: крупнозернистые – от 2 до 5 мм, среднезернистые – от 0,5 до 2,0 мм и мелкозернистые – до 0,5 мм. Для штукатурных работ применяют мелко– и среднезернистый песок. Желательно, чтобы в нем было меньше примесей, т. к. от этого зависит качество раствора.