Всего за 99.9 руб. Купить полную версию

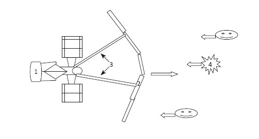
Рис. 3.1. Схема защиты космического аппарата от орбитальных экскретов выносным экраном, собранном из орбитальных отходов: 1– КА; 2– защитный выносной экран; 3– стойки экрана; 4 - космический и орбитальный мусор
В настоящее время вокруг Земли вращаются более 600 тыс. объектов диаметром более 1 см. По данным Европейского космического агентства (ЕКА) 41 % этих объектов составляют различные обломки, потерянные инструменты и другие мелкие детали, 22 % - это отработавшие свой срок космические аппараты, 13 % от их общего числа составляют материальные "следы" различных экспериментов и научных проектов, 7 % - части ракет-носителей [20]. В то же время на функционирующие космические аппараты приходится только 7 % огромного количества летательных аппаратов ракетно-космической техники, связанных с освоением космоса человечеством. Получается, что 93 % объектов, вращающихся вокруг Земли, - это бесполезный и опасный мусор, разбросанный по различным орбитам. Причём каждый пятый орбитальный объект может квалифицироваться как орбитальный отход, то есть может представлять собой материальный и финансовый интерес.
Количество орбитальных отходов увеличивается не только с выработкой срока функционирования космических летательных аппаратов, но и из-за аварий на орбитах. Установлено множество случаев столкновения космических аппаратов с орбитальным мусором [20]. Так, частица мусора 1 см в диаметре пробила антенну телескопа "Хаббл" и вывела его из строя. Российскому спутнику "Экспресс АМН" также не повезло, - в 2006 году удар микроскопической частицы мусора повредил систему
терморегулирования, в результате чего спутник вышел из строя и на некоторое время оставил Дальний Восток без телевещания. Эти примеры и ещё множество других происшествий на орбитах говорят о уязвимости современной аэрокосмической инфраструктуры и необходимости создания службы её ремонта и наладки непосредственно на орбитах.
Современные люди слишком зависимы от GPS, мобильной связи и интернета. Космический или орбитальный мусор может спровоцировать катастрофу, угрожающую здоровью и жизни людей. Насколько она вероятна можно оценить, взглянув на некоторые цифры [20]. На высотах между 788 км и 1000 км летает около 1100 спутников и 370 тысяч частиц орбитального мусора, каждая из которых способна при столкновении вывести спутник из строя. Вероятность столкновения с достаточно крупным объектом на такой высоте составляет от 15 до 30 % на протяжении 150 лет. Пока аварийная статистика радует - спутники погибают от мусора в среднем раз в десять лет. Однако это стоит огромных финансовых затрат, которые включают бронезащиту аппаратов и постоянный мониторинг космического пространства. К сожалению, количество мусора и повреждаемых им летательных объектов растёт (в среднем на 5 % в год), и статистические данные неизбежно начнут ухудшаться.
Кроме опасности столкновений орбитальных аппаратов, ставших отходами, с функционирующей техникой есть и другая опасность некоторых орбитальных отходов - это их радиоактивность. По приблизительным оценкам сегодня на орбитах находятся более 60 космических аппаратов с радиоактивными материалами на борту, часть из которых потеряла работоспособность, то есть стала опасным экскретом. Их следовало бы демонтировать или хотя бы удалять на космическую свалку за пределы геостационарной орбиты, но это делается далеко не всегда - часто из соображений секретности или из-за отсутствия финансирования.
Опасные объекты годами "болтаются" в ОКИ, пока не создадут аварийную ситуацию. Например, в 1978 году советский шпионский спутник Космос-954 после аварийного схода с орбиты осыпал радиоактивными обломками северную часть Канады. России пришлось дорого расплачиваться с канадцами за потенциальный ущерб. С тех пор на Землю упали 9 потерявших работоспособность объектов с ядерными материалами [20].
Опасные летательные аппараты из ОКИ следует по возможности быстро демонтировать или убирать за его пределы. Идея космической изоляции РАО возникла давно [21]. Ещё в 1959 г. этот способ предлагал в нашей стране академик И. Л. Капица, а в 1972 г. в США - Д. Шлесинджер.
На Европейской конференции по ядерной энергетике в 1975 г. в Париже обсуждалось несколько общих концепций окончательного захоронения или удаления высокоактивных и альфа-излучающих радиоактивных отходов (РАО). На первое место в возможном перечне мер была поставлена концепция удаления РАО в Космос. Всё же подчеркивалось, что в нашем столетии они в основном будут захораниваться на Земле.
Уже через несколько лет НАСА и Министерство энергетики США стали разрабатывать способы удаления РАО в Космос с использованием многоразовой космической системы Спейс Шаттл. В нашей стране подобный способ начали разрабатывать в 1987 г. в ЦНИИ машиностроения.
Эти вопросы активно обсуждались на конференции [22], в которой участвовали учёные и специалисты по космической технике, ядерной энергетике России и ряда зарубежных стран. На конференции обсуждались доклады, посвященные разным аспектам космической изоляции РАО, но основной упор был сделан на технические вопросы вывода РАО в Космос.
При решении этой проблемы было решено руководствоваться следующими постулатами:
- биосфера не может ассимилировать все РАО, производимые человечеством;
- наша планета ограничена;
- Космос безграничен и его невозможно замусорить конечным количеством РАО;
- Космос агрессивен для живой материи;
- Земля ограждена от космоса атмосферой, так что из нашего "дома" мы можем выкинуть всё, что хранить в нём невозможно.
На конференции обсуждалось несколько вариантов космического удаления РАО:
- удаление на Юпитер,
- вывод за пределы Солнечной системы,
- удаление на Солнце (в том числе полеты с гравитационным маневром около Юпитера).
Заметим, что все эти варианты из-за неприемлемых в настоящее время энергетических затрат, которые требуются для разгона до необходимой скорости, возможно, будут применены лишь в отдалённой перспективе. А сейчас самый реальный вариант - это удаление РАО на гелиоцентрическую орбиту (на расстояние от Земли в 1,2 а. е., между орбитами Земли и Марса). Для этого предполагается создать сборочно-эксплуатационный центр на околоземной орбите. В этом центре орбитальные отходы будут демонтироваться и подготавливаться к транспортировке. Возможные варианты избавления от радиоактивных орбитальных отходов приводятся на схемах рисунка 3.2.
Большое внимание на конференции привлекли вопросы надёжности и безопасности удаления РАО в Космос. Выступающие доказывали, что современное развитие космической техники обеспечивает приемлемый уровень риска - в основном за счёт высокой надежности капсулы и контейнера с РАО. Выступавшие согласились, что космическая изоляция РАО - это не альтернативный способ, а дополняющий захоронение в геологических формациях. Удалять необходимо лишь самые опасные и долгоживущие изотопы (с периодом полураспада в тысячи и миллионы лет): нептуний, америций, кюрий, цирконий, технеций и иод. Эти изотопы составляют меньше 1 % от всей массы высокоактивных РАО, полученных в результате деятельности атомных электростанций.
Конференция постановила, что космическую изоляцию РАО необходимо проводить в международных рамках. Россия даёт около 10 % всех полученных в мире долгоживущих и особо опасных РАО, поэтому и финансирование проекта должно быть пропорциональным. Понятно, что одно государство не в состоянии финансировать весь комплекс мероприятий по удалению РАО в Космос. И наконец, космодром для проведения таких работ целесообразнее размещать не на территории России, а как можно ближе к экватору (в связи с энергетическими выгодами вывода на орбиту), например, на островах Гильберта, в Австралии или на плавучей платформе в приэкваториальных водах.
Напомним, что космическая изоляция РАО в России в настоящее время запрещена. Пунктом 3 статьи 50 Закона РСФСР "Об охране окружающей природной среды" от 19 декабря 1991 г. прямо запрещена отправка радиоактивных отходов и материалов в космическое пространство в целях захоронения. Только международный договор может устранить это законодательное препятствие, потому что, согласно ст. 93 упомянутого Закона РСФСР, при несовпадении положений законодательства Российской Федерации и международного договора применяются положения международного договора.
Однако, думая о ближайшей перспективе удаления радиоактивных отходов в ОКП и в Космос, нельзя не предвидеть, что со временем они могут стать реальной угрозой для космонавтов и космических аппаратов. Необходимо выяснить, какие могут быть последствия от контакта РАО с находящейся в околоземном пространстве плазмой, а также проанализировать, останутся ли удалённые в Космос РАО локализованными или они будут распространяться дальше. Есть и другие вопросы: не слишком ли опасен процесс вывода РАО с поверхности Земли и не окажут ли отходы вредное воздействие на околоземное пространство, планеты и Солнце. Наконец, в состоянии ли потоки солнечного ветра вынести на периферию Солнечной системы распыленные РАО.
В заключение подчеркнём, что идея удаления РАО в космическое пространство вне всяких сомнений имеет право на жизнь. Но её реализация возможна только на международном уровне и требует прежде всего решения правовых проблем.
Специалисты призывают хотя бы не мусорить больше. А отправляемые в Космос аппараты снабжать особыми двигателями-терминаторами, которые бы переводили отработавшие спутники на низкие орбиты, чтобы они там сгорали.