Всего за 84.9 руб. Купить полную версию

Фильтр-"грязевик"
Следующий элемент системы очистки, устанавливающийся после "грязевика", - фильтр тонкой очистки. Интересно, что такие фильтры можно ставить отдельно для холодной и для горячей воды, а также существуют очистители, предназначенные для определенных бытовых приборов вроде стиральных или посудомоечных машин.
При установке фильтров изучите входные и выходные характеристики воды для каждого из устройств, указанные в инструкции к ним. И нелишним будет обратить внимание на многоцелевые фильтры, совмещающие в себе функции сразу нескольких описанных выше фильтров.
Вполне возможно, что гораздо выгоднее, удобнее и быстрее будет установить один-два многофункциональных фильтра, чем десяток "обычных".

Многоцелевой фильтр
Глава 4
Отопительная система
В России практически нет мест, где дома могли бы обходиться без отопления. Если даже в Сочи мы принимаем зимнюю Олимпиаду, что уж говорить о городах и весях, расположенных в средней полосе или еще севернее? Так что на Руси с древности понятие "дом" неразрывно связано с понятием "тепло".
В наше время даже в городских многоэтажках можно не зависеть от центрального отопления. Конечно, проще всего купить мощный электрокамин, но это к теме нашей книги отношения не имеет. Мы поговорим о водяном отоплении.
Не требующее больших затрат автономное отопление и горячее водоснабжение становится все более насущным вопросом, актуальным не только зимой, но и летом. Во-первых, во многих местах коммунальные службы до сих пор считают плату за отопление по так называемому среднегодовому тарифу. Во-вторых, летом из-за ремонта теплосетей в большинстве квартир продолжительное время отсутствует горячая вода. А что уж говорить про загородные дома и коттеджи, которые к централизованной системе просто не могут быть подключены…
Кроме того, от выбранной вами системы отопления вы можете и должны ожидать большего, нежели просто нагрева воздуха. Современные системы дают полную гарантию комфортного тепла и поддержания в доме и квартире нужной вам температуры.
Вот и возникает проблема: где найти информацию о том. чем и как достичь полной автономии в получении нужного тепла и горячей воды? Постараемся в этой главе ответить на многие из встающих перед вами вопросов.
Отопление с помощью радиаторов
Системы и основные схемы радиаторного отопления
Сегодня радиаторное отопление распространено повсеместно. Оно надежно, бесшумно, удобно в эксплуатации, совместимо со всеми видами напольных покрытий и стеновой отделки, что важно при выборе между радиаторным отоплением и системой теплых полов и стен, которые требуют особых технологий и материалов.
Существует два основных типа схем радиаторного отопления: конвекционные и искусственные. Первые используют разницу температуры теплоносителя (воды), во вторых циркуляцию обеспечивает насос. Понятно, что схемы с естественной циркуляцией ненадежны, их можно применять только для помещений малой площади.
Разработку схемы и монтаж систем отопления должны выполнять профессионалы, ведь здесь необходимы точные расчеты: при любой ошибке в проекте или монтаже циркуляция теплоносителя будет нарушена. Но работы типа установки или замены радиаторов можно выполнить и самостоятельно.
Важнейшие элементы системы радиаторного отопления
Отопительный котел. Если в городских квартирах горячая вода поступает к нам из центральной котельной, то в загородном доме тип котла можно выбрать самому. Если в дом проведен газ, лучше всего подойдет газовый бойлер, если газа нет. придется остановиться на электрическом. Правда, до сих пор в частных домах работает масса котлов на торфе, угле и даже на дровах. Не печка, конечно, но возни не намного меньше.
Насос. Предназначен для систем с искусственной циркуляцией и обеспечивает движение теплоносителя по трубам.
Радиаторные батареи. Непосредственные источники тепла в помещении.
Расширительный бак. Предназначен для предотвращения создания избыточного давления из-за увеличения теплоносителя в объеме, которое может разорвать трубы или котел. Представляет собой бак с отводящей трубой.
Воздухосборник. Бак. который помогает избавиться от собирающегося в трубах воздуха и предотвратить образование воздушных пробок.
Соединительные трубы. Соединяют элементы отопительной системы и обеспечивают циркуляцию теплоносителя. При их прокладке нужно обратить внимание на то, что горизонтальные трубы должны прокладываться под небольшим наклоном - 0,5 см на каждый метр трубы.
Применяются две основные схемы организации отопления: однотрубная и двухтрубная.
Однотрубные системы отопления
При такой схеме радиаторные батареи подключаются к одной трубе последовательно. Данная схема применима только в случае, когда нагревательные приборы расположены ниже магистрали, поэтому для ее реализации необходим чердак, следовательно, в городских квартирах такая система не используется.
Однотрубная система бывает двух видов: с замыкающими участками и проточная.
При использовании схемы с замыкающими участками хотя бы у части радиаторов должна быть перемычка - байпас, соединяющий трубы: подводящую к радиатору и отводящую от него. В этом случае часть горячей воды поступает обратно в котел, не остывая.

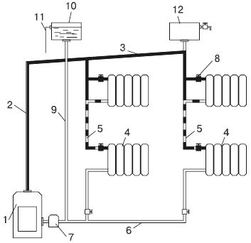
Однотрубная схема с замыкающими участками: 1 - котел; 2 - главный стояк; 3 - подающая магистраль; 4 - радиатор; 5 - обратный стояк; 6 - обратная линия; 7 - циркуляционный насос; 8 - вентиль; 9 - расширительная труба; 10 - расширительный бак; 11 - переливная труба; 12 - воздухосборник

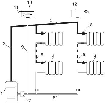
Проточная однотрубная система (расшифровку см. выше)
В проточной схеме теплоноситель последовательно проходит через все радиаторы и возвращается в котел уже остывшим. При выборе между схемами лучше применить схему с замкнутыми участками, так как при использовании второй схемы радиаторные батареи, которые находятся дальше от котла, нагреваются намного меньше. Кроме того, в проточных системах температура не регулируется, а установка регулирующих вентилей на радиаторы запрещена. В случае применения принудительной циркуляции теплоносителя появление какого-либо рода пробки в трубе приведет к тому, что теплоноситель будет скапливаться в котле и трубах до места пробки под высоким давлением. А это чревато не чем иным, как взрывом.
Двухтрубные системы отопления
В этих системах отопления радиаторные батареи подключаются одновременно к подводящей и отводящей трубам. Такие системы более затратны при установке, однако имеют ряд плюсов.

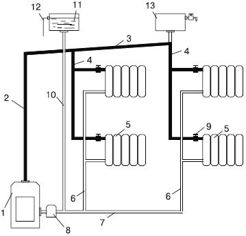
Двухтрубная система отопления с верхней разводкой (расшифровку см. выше)
Разводка при двухтрубной системе бывает следующих типов.
• С вертикальными стояками - радиаторные батареи подключаются к вертикально расположенной основной трубе, которая является стояком. Эта схема не требует проведения труб по всему этажу: стояк проходит через этажи и батареи подсоединяются в одних и тех же местах на разных этажах. Если стояков несколько, разводка труб по этажу выполняется только в подвале.
• С горизонтальными стояками - батареи подсоединяются к трубе, проведенной горизонтально. В этом случае разводка труб выполняется по стенам на каждом этаже. Недостаток - неравномерный нагрев радиаторов. Расположенные в дальней части стояка батареи нагреваются хуже.
Выбор радиаторных батарей
Рассмотрим наиболее используемые типы радиаторов.
Чугунные радиаторы стали классическим типом такого рода приборов. Они обогревают помещение только за счет теплового излучения. Минусы: большой вес, который делает доставку и монтаж таких радиаторов достаточно сложной задачей, довольно низкий КПД. невозможность регулировать температуру. Плюсы: дешевизна, долгий, до 50 лет, срок службы. Более подходят для городской квартиры вследствие экономичности. Для загородного дома нерентабельны по причине больших потерь тепла и отсутствия возможности регулировки температуры.
Ныне чугунные радиаторы выполняют как в привычном дизайне, так и в стиле модерн. Выпускают и винтажные радиаторы, сделанные в стиле ретро.
Алюминиевые секционные радиаторы имеют, по сравнению с чугунными, весьма малый вес, а помещения обогревают не только за счет излучения, но и за счет конвекции, что значительно повышает КПД их работы. Минус - подверженность коррозии. В таких батареях имеются регуляторы температуры, а дизайн их весьма и весьма разнообразен.