Всего за 84.9 руб. Купить полную версию

Умывальник на полупьедестале
Как установить кухонную мойку
Кухонная мойка обычно входит в кухонный гарнитур. Мойки бывают разных форм - круглые, квадратные, прямоугольные, сдвоенные, одинарные. Материалы для изготовления моек тоже совершенно разные - нержавеющая сталь, керамика, акрил, искусственный камень (очень популярны сейчас Т-гранит и фрагранит). На мойках из нержавеющей стали делают специальные микронасечки для задерживания воды и препятствия образованию пятен.


Формы кухонных моек
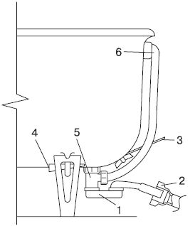
В общем-то, кухонная мойка похожа на "мойдодыр", но все-таки порядок ее установки отличается от установки "мойдодыра". Здесь нужно сначала подготовить раструб канализации, потом - тумбу, установить мойку, смеситель, сифон. И только затем устанавливаем тумбу на место и подключаем воду.

Угловая кухонная мойка
Итак, готовим раструб. Удаляем остатки цемента, зашкуриваем по диаметру, протираем лишний мусор тряпкой. Берем уплотнительное кольцо (внешний диаметр - 70 мм. внутренний - 35 мм), покрываем герметиком, вытаскиваем из раструба тряпку или что-то еще. чем был закрыт раструб, и вставляем кольцо на всю глубину в отверстие канализации. Снова закрываем раструб пробкой.
Теперь очередь тумбы. Скорее всего, внутренняя стенка тумбы сплошная, поэтому необходимо вырезать в ней отверстия нужного диаметра для отводной и водопроводных труб. Ставим мойку на тумбу по инструкции, затем устанавливаем смеситель, закрепляем его гайкой и шайбой или полушайбой. Далее помещаем в мойку сливную трубу. Снизу, под мойкой, накручиваем на трубу гайку, крепко затягиваем. Потом надеваем клиновидное кольцо клином вниз, затем гайку сифона. Прижимаем стакан сифона к трубе, плотно затягиваем гайку.
Теперь ставим мойку на место, подсоединяем сливную трубу к раструбу канализации, утопив ее конец на 5–7 см. Для лучшей фиксации нужно немного вытащить конец трубы, после того как утопите. Теперь проверяем работу сифона. Нальем некоторое количество воды, подождем, не потечет ли она. Порядок? Тогда подсоединяем смеситель, открываем вентили центрального водопровода, потом краны на смесителе. Проверим, не потечет ли вода в том месте, где подсоединили к водопроводу. Все хорошо? Отлично, значит, мы справились с задачей и установили нашу кухонную мойку.
Некоторые хозяйки предпочитают мойки с двумя отделениями, тогда придется немного дольше помучиться. В этом случае будет два сифона, а значит, к раструбу канализации подсоединим их через тройник или еще какой-то другой разветвитель.

Двойная мойка
Демонтаж старой и установка новой ванны
Чтобы убрать ванну с ее места, придется немало потрудиться. Нужно отсоединить трубу перелива и сифон. Пробуем открутить гайку сифона и извлечь сливную решетку. Хорошо, если ванна относительно новая, тогда гайка не успела заржаветь и не составит большого труда извлечь решетку. Но ванна - это такая штука, которую меняют крайне редко, поэтому-то и возникают трудности с ее демонтажом. Гайки в старых ваннах настолько проржавевшие, что их очень сложно открутить. Тогда начинается самое интересное, кто во что горазд, порой даже диву даешься, какие способы могут придумать люди. Но мы не будем применять кустарные способы, поступим так, как делают мастера-сантехники.

Устройство ванны: 1 - напольный сифон; 2 - раструб канализации; 3 - металлическая полоса заземления; 4 - металлический клин опоры; 5 - сливная труба; 6 - труба перелива
Сливные решетки и воронки, применяемые в старых ваннах, делали из латуни, это достаточно мягкий материал. Поэтому мы будем выпиливать сливную решетку из ванны. Да-да, именно выпиливать! Осторожно, чтобы не повредить эмаль, с внутренней стороны ванны, с помощью ножовки. Если ножовка не проходит через край сливной решетки, то будем разбивать ее молотком и зубилом. Справившись с этим, приступаем к следующему этапу. Нам нужно из воронки выпилить кусок, часть окружности. Сделали. Берем зубило, оно должно быть гладко заточенным, шириной не более 10 мм, ставим его перпендикулярно дну ванны и выбиваем выпиленный кусок. Дальше - проще. Через это отверстие деформируем оставшуюся часть слива, под ванной, делаем это так, чтобы распиленные края ванны оказались загнутыми вовнутрь. Теперь через сливное отверстие вытаскиваем наш слив, отсоединяем трубу перелива и достаем отводную трубу из канализации. Если она крепилась с помощью цемента, то придется еще немного поработать молотком и зубилом. Вставляем в раструб канализации кляп диаметром около 70 мм. Отсоединяем полосу заземления, которая закреплена клином. Нам нужно выбить этот клин из проушины зубилом. Теперь осталось снять саму ванну. Если ванна была установлена на железобетонных подставках, просто снимаем ее с подставок. Если ванна стояла на ножках и крепится клином, выбиваем клин и снимаем ее с ножек. Если клин заело, снимаем вместе с ножками. Наконец-то можно выносить ванну, держа ее в вертикальном положении.
Теперь установим новую ванну.
Обратите внимание, что в этом разделе дается инструкция по установке обычной ванны, не имеющей подключения к электросети. Если вы хотите установить ванну с "наворотами", требующими электропитания, то ищите инструкцию в подразделе "Установка джакузи".
Установка ванны не зависит от материала, из которого она изготовлена. Разница заключается только в том, что чугунная ванна гораздо тяжелее акриловых и пластиковых "подруг", которые вполне можно установить одному. С чугунной же придется повозиться и даже прибегнуть к помощи других людей.
Ванны бывают прямоугольные и круглобортные. Прямоугольная форма нам всем знакома с детства, во всех старых домах стоят такие ванны. Ее ставят прямо к стене. Круглобортную ванну ставят либо на специальный каркас, либо применяют другие меры предосторожности. Так, ее нужно отставлять от стены на 5–6 см, чтобы иметь возможность вытереть воду в случае ее проливания на пол. Еще используют шторки, концы которых опускаются непосредственно в ванну.
Начинаем установку ванны. Сначала нужно подготовить место, где мы будем ее устанавливать. В первую очередь выровняем полы. Обычно смена ванны совпадает с проведением ремонта в ванной комнате. Поэтому делаем все на совесть. Можно сделать цементную стяжку, технология ее выполнения изложена в разделе "Теплый пол = теплый дом". Можно залить специальный выравнивающий раствор. Потом кладем плитку на пол и на стены. Если ставим чугунную ванну, то нужно выложить стену, у которой стоит ванна, полностью. Многие желают сэкономить на плитке, рассчитывая, что под ванной все равно ничего не видно, но. поверьте, скупой платит дважды, поэтому лучше сделать все как следует. Если будем ставить стальную ванну, то плитку кладем после установки ванны.