Владимир Трофимов - Охотничьи боеприпасы и снаряжение патронов к охотничьим ружьям. 8-е изд. стр 22.

Шрифт
Фон

Рис. 14. Круглая пуля «Спутник»

Наружный диаметр, согласованный со стволом пули «Спутник» вместе с поясками и приливами, должен соответствовать диаметру калиберной пули для стволов цилиндрической сверловки, а диаметр тела пули должен быть на 0,5 мм меньше диаметра ствола в дульном сужении.

Следует отметить, что изготовляемые промышленностью круглые пули «Спутник» имеют необоснованно заниженный вес, что снижает начальную скорость полета пули, живую силу удара, а следовательно, и степень поражения цели. Кроме того, ведущие пояски, точечные выступы и углубления между ними у пули отрицательно влияют на точность ее полета вследствие дополнительного сопротивления воздуха.

1.8.6. Стрелочные пули

Пули этого типа имеют самые разнообразные конструкции.

1.8.6.1. Пуля Вицлебена

Первый образец пули Вицлебена состоял из двух составных частей цилиндрического свинцового корпуса (тела) пули и удлиненного деревянного хвостовика-стабилизатора с продольной ребристой поверхностью по периметру (рис. 15.А). Головная часть пули по диаметру соответствует дульному сужению, ребра деревянного хвостовика центрируют ее в цилиндрической части ствола и сминаются при прохождении через сужение «чока».

Рис. 15: Пуля Вицлебена

А 1-й вариант Б 2-й вариант

1 свинцовое тело пули, 2 деревянный хвостовик, 3 центрирующие пояски

Эта пуля отличается простотой конструкции, хорошо центрируется в стволе, не разворачивается при встрече с незначительными препятствиями по пути к цели и обеспечивает удовлетворительный бой.

Однако этой конструкции пуль, как и всем другим составным системам, состоящим из двух частей собственно пули и хвостовика, свойственны недостатки вследствие тормозящего действия хвостовика-стабилизатора, выступающего за наружный диаметр тела пули. Поэтому тело пули и хвостовик должны быть строго соосны, чего полностью достигнуть невозможно, а это приводит к дополнительным отклонениям пули в полете к цели. Кроме того, пуля имеет тупую головную часть, и длинный стабилизатор при снаряжении патронов пулей не позволяет ей целиком разместиться в гильзе. В результате головная часть пули

выступает из дульца наружу, что способствует нарушению соосности и ухудшению боя.

Вицлебен в усовершенствованном варианте сделал деревянный ребристый хвостовик укороченным, а на головную свинцовую часть пули сверху и снизу нанес по два кольцевых пояска для улучшения ее центрирования и обтюрации пороховых газов (рис. 15.Б). Пуля стала компактной, боевые качества ее возросли.

1.8.6.2. Пуля ВВОО-Ильина

Составная хвостовая часть представлена легким полиэтиленовым трехлопастным стабилизатором, запрессованным в тело пули. Хвостовик вверху имеет центрирующий поясок, лопасти стабилизатора направлены вдоль оси пули

Рис. 16. Пуля ВВО Ильина:

1 тело пули, 2 центрирующий поясок, 3 п/эт. З-х лопастной стабилизатор, 4 ребра, 5 поясок хвостовика.

Роль наружных ребер сводится к центрированию пули в канале ствола, обеспечивающему правильное ее положение до момента вылета из ствола ружья. Дальнейшее ориентирование пули достигается за счет наличия легкого хвостовика-стабилизатора и смещения центра тяжести к головной части пули. Кольцевые пояски на теле и хвостовике пули обеспечивают и обтюрацию порохового газа в заснарядном пространстве при выстреле.

Пуля «ВВОО-И» системы Ильина при неплохом качестве изготовления имеет существенный конструктивный недостаток: ее полиэтиленовый стабилизатор слаб и при выстреле сминается, не выдерживая ударной нагрузки пороховых газов. Это приводит к отклонению пуль в полете и большому их рассеиванию по мишени.

1.8.6.3. Пуля «Вятка»

Рис. 17. Пуля Вятка:

1 тело пули, 2 ребра, 3 п/эт. пыж-стабилизатор.

Пуля «Вятка» отличается своей компактностью и обтекаемостью, пыж-стабилизатор достаточно надежно закрывает ствол и препятствует прорыву пороховых газов при выстреле.

1.8.6.4. Пуля Полева

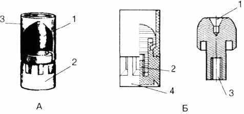
Центр тяжести смешен в головную часть. На хвостовую удлиненную часть крепится полиэтиленовый пыж-стабилизатор, придающий пуле вращение и не отделяющийся при вылете из ствола (рис. 18.А). Длина стабилизатора равна длине пули. Особенностью является то, что прочное и надежное скрепление головки со стабилизатором происходит во время выстрела за счет деформации свинцовой головки, возникающей в результате перегрузок при ускорении. До выстрела пуля сидит в стабилизаторе не очень плотно, может вращаться и вытаскиваться. Пуля отличается простотой конструкции, не имеет направляющих ребер. Прохождение через дульное сужение типа «чок» обеспечивается пластмассовым контейнером, полиэтиленовым стабилизатором и тем, что диаметр пули на 2,5 м меньше диаметра пыжа. Наличие пластмассового контейнера упрощает снаряжение патрона. Обе половинки контейнера отделяются сразу после вылета из ствола, а пыж-стабилизатор часто остается с внешней стороны цели, так как он имеет значительно больший диаметр, чем диаметр свинцового корпуса пули (для 12-го калибра 18,3 мм против 15,8 мм).

Рис. 18. Пуля Полева:

А пуля Полева: 1 тело пули, 2 стабилизатор, 3 контейер из 2-х половинок;

Б пуля Полева, модифицированная В. Блохиным: 1 экспансивная пустота, 2 стержень с резьбой М5, 3 резьбовое отверстие, 4 стабилизатор

Ваша оценка очень важна

0
Шрифт
Фон

Помогите Вашим друзьям узнать о библиотеке