Министерство обороны СССР - 120-мм миномет обр. 1938 г. Руководство службы стр 16.

Шрифт
Фон

вынуть освещение прицела из укладочного ящика;

установить колпачок с патроном для освещения сетки прицела на полозок в визире прицела так, чтобы защелка колпачка попала в соответствующий вырез полозка;

вынуть светопровод из футляра прицела и установить на проушину крышки прицела; при этом фиксаторы крышки прицела должны войти в шлицы светопровода;

придерживая одной рукой светопровод, другой рукой ввинтить патрон освещения прицела в светопровод до упора торца патрона в кронштейн крышки прицела;

вставить фишку питания провода освещения прицела в корпус коробки с аккумуляторами, закрепить ее и включить выключатель. Осторожно закрыть крышку укладоч-ного ящика, чтобы не повредить провод.

Дальнейшая работа ведется обычным порядком.

Работа прицела с коллиматором К-1

Установка коллиматора у миномета

Установку коллиматора у миномета производить в следующем порядке:

придать стволу миномета по прицелу угол возвышения 7-00 и установить ствол в среднее положение поворотным механизмом;

установить коллиматор на треноге сзади (впереди) справа от миномета под углом 2030° к плоскости стрельбы на расстоянии 68 м.

При таких установках миномета и коллиматора обеспечивается наведение миномета в пределах всего диапазона механизма вертикального и горизонтального наведения.

Примечание. Установка коллиматора на треноге и наведение его в прицел производятся согласно Руководству службы Орудийный коллиматор К-1.

Отмечание и наведение миномета

Чтобы отметиться визиром прицела по коллиматору, необходимо, вращая визир в горизонтальной и вертикальной плоскостях, совместить видимые через визир прицела вертикальные полосы сетки коллиматора с одноименными полосами сетки визира (обозначенными теми же буквами или цифрами). После отметки по коллиматору записать полученный отсчет.

Чтобы произвести наводку миномета после изменения установки угломера или после выстрела, необходимо, наблюдая в визир прицела и работая поворотным механизмом миномета, совместить видимые вертикальные линии сетки коллиматора с одноименными штрихами сетки визира.

Для обеспечения четкой видимости сетки коллиматора необходимо во время стрельбы периодически протирать наружную линзу объектива коллиматора (чтобы не было запотевания или загрязнения стекла).

Замена уровней и наглазника

Все три уровня, входящие в ЗИП, подогнаны по своим гнездам, они отличаются один от другого фрезеровкой на оправе под винт, ввинченный в корпус прицела.

Для замены разбитых уровней необходимо:

закрепить прицел в кронштейн миномета;

отвинтить винт, стопорящий глухую гайку, которой крепится уровень;

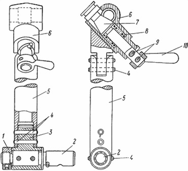
Рис. 37.

Стойка к прицелу МПМ-44:

1 гайка (16); 2 палец (14); 3 втулка (13); 4 штифты; 5 стойка (12); 6 держатель (11); 7 ось (15); 8 пружина (17); 9 штифты (1-10); 10 ручка (18)

придерживая оправу уровня, ключом отвинтить глухую гайку;

вынуть разбитый уровень;

взять соответствующий уровень и вставить на место вынутого, причем паз на буртике оправы уровня должен совпасть с головкой винта, ввинченного в корпус прицела;

придерживая оправу уровня, ключом завинтить глухую гайку;

завинтить винт, стопорящий глухую гайку.

Для замены наглазника следует:

отвинтить гайку (резьба у гайки левая);

снять наглазник и заменить его новым;

завинтить гайки до отказа.

16. СТОЙКА К ПРИЦЕЛАМ МПМ-44 и МПМ-44М

Чтобы визированию не мешал ствол миномета, прицел при построении параллельного веера закрепляется на специальной стойке, устанавливаемой на вертлюге.

Стойка (рис. 37) состоит из втулки 3 с гайкой 1 и пальцем 2, стойки 5 и держателя 6, в котором собрано устройство, аналогичное по своей конструкции с переходным кронштейном (см. рис. 17). Палец 2 (см. рис. 37) с втулкой 3 со стойкой 5, а также стойка 5 с держателем 6 соединяются при помощи штифтов 4.

Для построения параллельного веера стойка своим пальцем закрепляется в кронштейне на вертлюге миномета (вместо прицела), а в отверстие держателя 6 стойки вставляется и в нем закрепляется прицел. Каждая стойка закрепляется за определенным минометом и может применяться только с этим минометом.

Стойка предназначается только для взаимного визирования при построении параллельного веера батареи (взвода). Производить стрельбу со стойкой категорически запрещается.

ГЛАВА V. ТРАНСПОРТИРОВКА МИНОМЕТОВ И УСТРОЙСТВО МИНОМЕТНЫХ ХОДОВ

17. ОБЩИЕ СВЕДЕНИЯ

Транспортировка миномета может производиться:

на колесном ходе вручную, усилием расчета (на близкое расстояние);

на колесном ходе в прицепе за автомобилем;

на неподрессоренном колесном ходе в кузове автомобиля, специально оборудованном для погрузки колесного хода с минометом и мин.

Минометы на неподрессоренных ходах перевозятся только в кузове автомобиля вместе со своими ходами.

Перевозить минометы на неподрессоренных ходах в прицепе за автомобилями категорически запрещается.

При транспортировке минометов на неподрессоренных ходах предохранитель от двойного заряжания необходимо снимать со ствола миномета и укладывать в чехол. Предохранитель в чехле укладывается в ящик орудийного ЗИП на место сумки с батарейным ЗИП. В этом случае дульная часть ствола миномета закрывается штатным дульным чехлом.

Ваша оценка очень важна

0
Шрифт
Фон

Помогите Вашим друзьям узнать о библиотеке