Плотникова Татьяна Федоровна - Крыши и кровли своими руками стр 7.

Шрифт
Фон

4. Внутренняя звукоизоляция: между стропилами или брусками обрешетки (если кровля плоская) укладывают плиты из пенополистирола или другого изоляционного материала. Звукоизоляционные свойства крыши повышаются за счет отделки потолка поверх изоляции: обшивка доской или гипсокартоном.

5. Смесь из базальтовой крошки с прозрачным лаком для наружных работ, укладываемая по металлочерепице. Это не только шумозащита, но и защита от механических повреждений.

6. Несколько снизит уровень шума потолочная плитка.

7. Звукоизоляционная «подушка» в виде нежилого чердака.

8. Отказ от покрытия на основе металлов. Так, металлочерепица и профнастил категорически не рекомендованы для применения в жилых домах людей с эпилепсией и расстройствами нервной системы. Альтернативой может стать, например, битумная черепица, хотя при этом будет снижен срок эксплуатации кровли.

9. Перед укладкой металлочерепицы можно покрыть ее внутренний слой окрасочной теплоизоляцией. Покрытый лист черепицы уложить на место, не давая высохнуть нанесенному слою изоляции.

Качество звукоизоляции конструкции определяют по коэффициенту звукопоглощения материалов (число от 0 до 1). Это отношение поглощенного материалом звука ко всей звуковой энергии, направленной на материал. Если звук полностью поглощен материалом, коэффициент звукопоглощения равен 1, если полностью отражен или пропущен сквозь материал коэффициент равен 0.

Как правило, хорошие «дополнительные» материалы для кровли обладают одновременно высокими показателями тепло-, паро и звукоизоляции. Выбрав качественный материал, можно сэкономить не только средства, но и время на подбор

каждого слоя отдельно.

Материалы, способные поглощать большую часть попадающей на них звуковой энергии, называют звукопоглощающими (коэффициент 0,4 и более). Как правило, это мелкопористые материалы. Например, минеральная вата обладает коэффициентом звукопоглощения от 0,45 до 0,95, в зависимости от сорта материала.

Вентиляция

Вентиляционные работы представляют собой устройство вентиляционных контуров одного или двух в зависимости от типа гидроизоляции. Вентиляционный контур это система сообщающихся пространств, обеспечивающих доступ и циркуляцию воздуха между конструкциями крыши.

Один вентиляционный контур устраивают между кровельным покрытием и гидроизоляцией. Двойная вентиляция состоит из контура между гидроизоляцией и кровлей и контура между утеплителем и гидроизоляцией. В соответствии со строительными нормами, в жилых домах должна быть устроена двойная вентиляция крыши. Однако по экономическим и практическим соображениям в Европе в абсолютном большинстве новых зданий делают крыши с одним вентиляционным зазором. При этом утеплитель следует покрыть сверху водонепроницаемым материалом, тщательно проклеив все стыки, что не отменяет устройство пароизоляции снизу теплоизоляционного слоя.

Вытяжка воздуха наружу может быть осуществлена двумя способами: через точечные вытяжные выходы или непрерывные вытяжные выходы.

В системе с точечными вытяжными выходами (или аэраторами) сообщение вентиляционных контуров с внешним пространством осуществляют с помощью вентиляционных отверстий (продухов) под карнизом и коньком, закрытых решетками от попадания сора, инородных предметов и мелких животных. Аэраторы могут иметь встроенный вентилятор, что улучшает действие всей системы вентиляции. В черепичной кровле можно предусмотреть специальные черепичные элементы с особой конструкцией для обеспечения вентиляции: несколько таких элементов устанавливают в четвертом или пятом ряду от низа покрытия по скату. В местах стыковки с вентиляционными черепичными элементами делают отверстия в изоляционных слоях крыши. Более капитальным вариантом устройства продухов являются слуховые окна (душники), имеющие собственную кровлю, конек которой, как правило, перпендикулярен коньку ската, на котором устраивают продух. Для жилых мансард система вентиляции, состоящая только из слуховых окон, не применима.

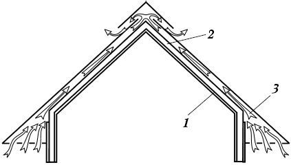
Система непрерывных вытяжных выходов состоит из вытянутых вытяжных отверстий по коньку и под карнизом крыши, а также на ендове (при ее наличии). Эта система наиболее надежна. Устройство вентиляции конька показано на рисунке 3. Сверху для защиты от осадков конек с устроенной вентиляцией покрывают дополнительным слоем кровельного материала. Можно использовать готовые элементы для вентиляции конька.

Рис. 3. Устройство вентиляции конька (поперечный разрез): 1) отверстие в коньке (сплошное или точечное); 2) боковые вытяжные выходы; 3) дополнительное покрытие конька; 4) движение воздуха

Площадь продухов, независимо от их типа, должна составлять от 0,2 до 0,3 % площади чердака или мансарды. Значения варьируются в зависимости от климата в районе строительства.

Вентиляция скатной крыши с жилой мансардой (рис. 4) представляет собой вентиляционный контур, обеспечивающий прохождение воздушных потоков от карниза к коньку.

Рис. 4. Система вентиляции скатной кровли в доме с жилой мансардой (поперечный разрез): 1) пароизоляция; 2) утеплитель; 3) движение воздуха

Вентиляционный контур в кровельном пироге создают с помощью укладки так называемой контробрешетки сквозного решетчатого материала толщиной от 40 до 60 мм. Увеличение толщины материала не приведет к улучшению воздухообмена: напротив, он замедлится из-за возникшей турбулентности в вентиляционной прослойке. С кровельными материалами из волнистых стальных профлистов, металлочерепицы толщина вентилируемой прослойки может быть уменьшена до 25 мм.

Ваша оценка очень важна

0
Шрифт
Фон

Помогите Вашим друзьям узнать о библиотеке