Виктор Николаевич Сарафанников - Геодезия строительной площадки для индивидуального дома... стр 21.

Шрифт
Фон

Затем прекращают доступ воды к старой вентильной головке. Снимают маховик (или крестовину) с головки, гаечным ключом выворачивают ее. Очищают внутреннюю резьбу боковины смесителя или корпуса крана от нитей уплотнения.

Отверткой или ногтем мизинца проверяют целостность седла. Если обнаружена мелкая канавка глубиной примерно до 0,2 мм, то лопаткой отвертки, производя вращательные движения, соскребают этот небольшой дефект. При слишком явных дефектах седла вентильную головку с керамическим затвором ставить нельзя, как уже сказано выше.

Установку новой вентильной головки начинают с наворачивания на ее корпус нитей уплотнения, если отсутствует стандартная прокладка, затем закручивают головку пальцами, пока не совпадут резьбы (корпуса головки и корпуса крана или боковины смесителя). Окончательно закрепляют головку гаечным ключом, чтобы не возникло самоотворачивание. Вся сложность в том, что нормальное (без особого сопротивления) вращение штока функция завинчивания

корпуса головки. И в то же время уплотнительное кольцо, вступив в контакт с седлом корпуса крана или боковины смесителя (корпус смесителя бывает и не составной, а целый, в котором боковины отсутствуют), не должно пропускать воду. В вентильной головке с керамическим затвором существует специальная деталь, фиксирующая удачное положение корпуса по отношению к штоку. Это специальная контргайка. Следовательно, корпус головки с керамическим затвором при регулировке вращения штока необходимо то вкручивать, то выкручивать, что может выдержать лишь пластмассовая прокладка. Нитяное уплотнение начнет пропускать воду, если корпус головки после заворачивания начинают отворачивать. Поэтому, почувствовав, что уплотнительное кольцо коснулось седла, дальнейшее заворачивание ведут на доли оборота, все время проверяя свободу перемещения штока и возможность просачивания воды, приоткрывая вентиль. Вода не должна появляться в изливе смесителя или кране при закрытом керамическом затворе. Проверка водой необходима также для устранения причин шума в смесителе или сужения и закручивания струи воды, льющейся из излива. В вентильной головке с керамическим затвором вода из отверстия, ограниченного седлом, поступает сквозь уплотнительное кольцо внутрь головки. Раскрытие керамического затвора это допуск воды к двум «окнам» в корпусе головки. Так вот, когда одно из «окон» и отверстие в корпусе смесителя, ведущее к изливу через переключатель ванна-душ, не вполне совпадают, возникает шум. В смесителях типа «елочка» к этому шуму может еще прибавиться сужение струи воды. Для устранения этих дефектов, не включая воду вентилем, чрезвычайно медленно поворачивают корпус головки. Причем неоднократное вращение корпуса головки против ее первоначального завинчивания выдерживает лишь пластмассовая прокладка.

Следующий этап монтажа вентильной головки фиксация контргайкой правильного положения штока и уплотнительного кольца. Контргайку наворачивают на корпус вентильной головки до упора в торец корпуса смесителя или корпуса крана. Безошибочную затяжку контргайки обусловит подвижность штока.

Проверку на возможность подтекания завершит открытие вентиля на подводящей трубе и допуск воды к вентильной головке.

Последняя операция закрепление маховика на квадрате штока.

Краны водоразборные
Краны настенные

Латунные водоразборные настенные краны КВ-15 (рис. 15) и КВ-20 устанавливают через муфту на трубы с условным внутренним диаметром (Dy) 15 мм, т. е. на трубы с наружным диаметром (Dh) около 21 и 27 мм, что соответствует 1/2 и 3/4 дюйма. Кран КВ-15СД имеет струевыпрямитель и защитно-декоративное покрытие, а кран КВ-15АД аэратор и защитно-декоративное покрытие.

Рис. 15. Кран водоразборный настенным КВ-15:

1 труба; 2 муфта; 3 уплотнение; 4 «спинка» раковины; 5 корпус крана; 6 прокладка; 7 головка крана

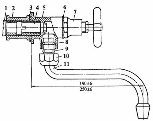
Кран туалетный настенный типа КТ-15Д (рис. 16) претерпел множество изменений. Ранее излив у него вворачивался прямо в корпус, т. е. имел единственное стационарное положение.

Рис. 16. Кран туалетный настенный КТ-15Д:

1 труба; 2 муфта; 3, 6 уплотнение; 4 патрубок; 5 корпус крана; 7 головка крана; 8 резиновое кольцо; 9 разжимное пластмассовое кольцо; 10 накидная гайка; 11 излив

При попытке повернуть излив из резьбового соединения с корпусом начинала капать вода. Излив приходилось выворачивать, на резьбу накручивать нити уплотнения и снова с трудом заворачивать его на место.

В настоящее время излив к корпусу крана крепится накидной гайкой. Благодаря резиновому кольцу-сальнику и разжимному пластмассовому кольцу излив можно поворачивать. Резиновое кольцо предохраняет от подтекания по изливу, а разжимное кольцо от выпадания излива из-под накидной гайки. Если пластмассовое разжимное кольцо ломается, его заменяют кольцом из медной проволоки, которую для смягчения отжигают. Необходимо всего 3545 мм проволоки. Проволоку разогревают над пламенем горелки газовой плиты или над открытым огнем. При этом нужный кусок проволоки держат над языком пламени 12 мин. Если пламя узкое, то проволоку перемещают

над ним. На расстоянии 120150 мм от нагреваемого участка проволока холодна, поэтому можно держать ее голой рукой. После первого нагрева ждут пока проволока остынет (или опускают ее в воду). «Сеансы» отжигания продолжаются до тех пор, пока латунь не потеряет упругость. Затем загибают проволоку круглогубцами или клещами, образуя кольцо необходимого диаметра и, наконец, лишний кусок откусывают или отрубают зубилом. Под изношенное резиновое кольцо подматывают обычные нитки или заменяют его новым. Из подходящей резиновой трубки можно нарезать нужные кольца, но по качеству и долговечности они будут во многом уступать стандартным.

Ваша оценка очень важна

0
Шрифт
Фон

Помогите Вашим друзьям узнать о библиотеке