Фокин Владимир Маратович - К земле с наукой стр 7.

Шрифт
Фон

Особый интерес представляет органика, выращиваемая здесь же, на грядках, вслед за уборкой культурных растений или до их посева.

Вот данные, полученные учёными. Дождевой червь пропускает за сутки через себя количество почвы, равное его весу. Средний вес червя полграмма. На земле средней ценности около 5000 червей на сотку. За сутки через кишечник червей пройдёт 2, 5 кг почвы. За тёплый период года (для средней полосы 200 дней) 500 кг. Если у вас 10 соток земли и с зоофауной мирное сосуществование, то есть не копаете и не пашете, то за год черви удобрят участок пятью тоннами биогумуса. Целая тракторная тележка.

При более полном использовании требований технологии, то есть когда после редиса, лукапера и других, рано убираемых культур, выращивают вторым урожаем зелёное удобрение, плотность заселения дождевых червей и, соответственно, биогумуса возрастает.

Биогумус значительно эффективней хорошего навоза. Считается, что полученного от одной коровы навоза достаточно, чтобы удобрить полгектара земли. Биогумусом же, выработанным червями из этого навоза, с той же эффективностью можно удобрить 2,5 гектара.

Как расположить грядки?

На выбор в первую очередь влияет, куда стекают дождевые и талые воды.

Если надо получить раннюю продукцию, то грядку лучше разместить с запада на восток. Её боковая поверхность будет обращена на юг и лучше прогреется солнцем. Чтобы усилить эффект, надо сделать грядку западвосток со склоном её поверхности на юг. Это не составит большого труда, если рыхлить грядку плоскорезом, стоя на северной меже.

Если хотите иметь весь огород со склоном на юг, то каждый раз рыхлите грядки, передвигаясь по северным межам. Склон на юг со временем получится сам собой. Особенно это важно для северных районов, где за счёт искусственного южного склона увеличится время деятельности обитателей почвы.

Для более равномерной и лучшей освещённости всех растений, что означает снижение в них нитратов, расположите грядки с севера на юг.

Семена всех огородных растений, в том числе и сидератных, неплохо замачивать перед посевом в настое сухих и сырых грибов. В них содержится большое количество микроэлементов. Недостаток даже одного из них снижает урожай.

Для подкормок, особенно огурцов и помидор, используйте настой ботвы и травы в бочке с водой. Неплохо для затравки брожения микроорганизмов добавить с полведра коровяка. Когда настой станет неприятно пахнуть, используйте подкормку (1 литр на ведро воды), избегая попадания её на листья.

Повышает энергию прорастания семян замачивание их в талой воде из снега и льда (даже из холодильника). Ещё лучше результаты от живой воды, полученной с помощью электролизёра.

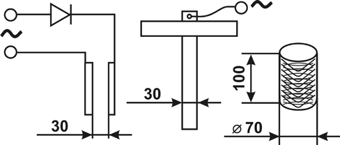
Простой электролизёр можно сделать самому. Для этого потребуются: диод средней мощности, две пластины из нержавейки, полоска из оргстекла или текстолита толщиной 5-7 мм, отрезок провода с вилкой и кусок брезента (См. рис.4).

Рис. 4

В полулитровую банку укладываем сшитый брезентовый мешочек, наливаем не кипячёную воду и вставляем электроды: один в мешочек, другой в воду банки. Убедившись в безопасности, включаем прибор в электрическую сеть на 3-5 мин. Доводить до кипения нельзя. Отключаем вилку от сети. Снимаем прибор. Вытаскиваем мешочек с водой и быстро сливаем в стакан. В банке одна вода, в стакане другая.

Вода с беловатомутноватым оттенком, полученная от минусового электрода живая. От плюсового электрода мёртвая. Она очень прозрачная, иногда с желтизной. И та и другая обладают необыкновенными свойствами.

Мёртвая действует дезинфицирующе. В ней обеззараживают семена, выдерживая 5-10 мин.

Живая вода стимулирует энергию прорастания семян. Их выдерживают в ней от нескольких минут до нескольких дней, в зависимости от культуры. Эффективно действует 2-3 часа. Если замачивают дольше (морковь, петрушка, лукчернушка), то воду следует заменять на свежеприготовленную и остуженную до температуры чуть выше комнатной. Семена лучше замачивать в тряпочке, чтобы дышали.

Особенно большую прибавку урожая от замачивания семян в живой воде дают морковь, петрушка и лукчернушка. Чуть смоченная рожь (на сидерат) в гот же день проклёвывается быстрее сейте. Подержанный минут десять в воде лукрепка быстро даёт корешки. Не допускайте их более 10 мм. Сажайте лук в канавки, проделанные плоскорезом, лук быстро пойдёт в рост, больше получит живительной, талой весенней влаги.

Некоторые огородники обрабатывают семена омагниченной водой и водой, постоявшей на солнечном свету 3-4 дня.

Семена отбирайте от самых урожайных и здоровых растений.

Картофель убирайте созревший, но в возможно ранние сроки, когда он меньше поражён болезнями. Ранняя уборка позволяет на том же участке вырастить до зимы больше зелёной массы сидератной культуры на корм дождевым червям.

Чтобы картофель гарантийно хорошо хранился, необходимо пересыпать его листьями рябины. Её фитонциды убивают болезнетворные споры фитофторы, что оздоровляет клубни. Для этой же цели, если позволяет площадь, неплохо высадить на земельном участке 3-4 рябины.

Огород весь в грядках меньше поражается вредителями и болезнями. Чтобы дополнительно улучшить воздушный режим участка, через 2-3 грядки высокорослой культуры (картофель) разместите 2 грядки низкорослой. Затем снова 2-3 грядки высокорослой. В этом случае высокорослые растения служат кулисой для защиты теплолюбивых культур от холодных ветров и даже лёгких заморозков.

Ваша оценка очень важна

0
Шрифт
Фон

Помогите Вашим друзьям узнать о библиотеке

Популярные книги автора