Аннемари Вольф-Тальбот - Пудель стр 50.

Шрифт
Фон

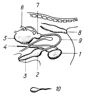
Рис. 37. Внутренние половые органы кобеля: 1 - семенники; 2 - пещеристые тела, так называемые 'луковки'; 3 - пенис; 4 - семенной проток; 5- мочевой пузырь; 6 - мочеточник; 7 - предстательная железа; 8 - задний проход, анус; 9 - мочеиспускательный канал; 10 - сперматозоид (очень увеличен)

Во время акта спаривания происходит специфическое сцепление половых органов суки и кобеля (так называемый "замок"), так как пенис увеличивается после входа во влагалище, особенно у основания, там, где расположены "луковки", а круговая мускулатура входа влагалища суки сокращается, удерживая пенис в одном положении. "Замок" может длиться от нескольких минут до часа. Ни в коем случае нельзя пытаться разъединить собак насильно, потому что это может привести к очень серьезным повреждениям (например, к перелому косточки пениса или к разрыву влагалища). Если кобель вошел в суку, но не получилось замка, то все равно есть вероятность, что она им оплодотворена, так как кобель мог успеть ввести сперму. В то же время при нормальном ходе вязки с длительным замком может случиться так, что сука останется пустой. Чаще всего это происходит, если время для вязки неправильно высчитано и спаривание произошло раньше наступления или после окончания плодных дней.

Ложная щенность, ложное щенение. Повторная течка

Ложное щенение наступает через 9 недель после плодных дней течки, несмотря на то, что не было спаривания, особенно часто у старших сук, независимо от того, имели они раньше щенков или нет. Образуется даже молоко, и все проходит так же, как при настоящей щенности вплоть до поведения, характерного для начала настоящего ощенения. Если эти явления слишком тяжело переносятся сукой, ветеринар может снять их при помощи инъекций гормональных препаратов (Многие суки переносят ложную щенность очень тяжело. Довольно просто облегчить состояние собаки и без гормональных препаратов, особенно у неразвязанных сук, таким способом. На 10 - 12-й день течки отсчитать вперед и отметить на календаре 9 недель. За 1 - 2 дня до наступления этого срока втрое сократить рацион кормления. Давать как можно меньше жидкостей. Когда наступят отмеченные дни, не кормить суку 1 - 2 дня совсем. Не волнуйтесь за ее здоровье - небольшой пост не повредит ни одной из наших (обычно перекормленных) любимиц. Затем еще 3 - 5 дней, пока заметна припухлость и обвисание сосков, нужно сохранить сильно урезанный рацион кормления. Старайтесь при ней не готовить пищу и не есть. Более длительные, чем обычно, прогулки с большей нагрузкой отвлекут суку от ее переживаний и помогут легче перенести страдания, причиняемые ложным щенением. Заранее нужно убрать все пищащие и лохматые игрушки, меховые тапочки и другие предметы, которые суки обычно пытаются "усыновить", когда бывают в таком состоянии. Если у вас хватит терпения, сука перенесет ложное щенение легко и примерно за неделю все войдет в норму. Н и в коем случае нельзя сцеживать молоко или перетягивать вымя! Зато использовать такую суку как кормилицу чужих щенков очень даже можно. - Примеч. ред.). У повязанной суки также может получиться ложная щенность в том случае, если эмбрионы по какой-то причине погибли и рассосались. Причиной гибели эмбрионов может быть нарушение кормления, изменения в условиях содержания,

заболевание суки или несовместимость между сукой и кобелем. (Подобно реакции у человека, называемой "резус фактор".) Несовместимость между сукой и кобелем может быть во многих случаях причиной рождения недоразвитых или даже уродливых щенков.

Бывает, что после инъекции гормонов, введенных с целью подавления течки, всего через 2-3 месяца наступает повторная течка. Иногда такое случается после неудачной вязки, т.е. если оплодотворения не получилось, или, как говорят собаководы, сука "осталась пустая" (Чтобы исключить вероятность гормональных аномалий (например, дисфункции яичников) или каких-либо заболеваний матки, следует суку с такими отклонениями в сроках течек обязательно показать ветеринарному врачу-специалисту. - Примеч. ред.).

Щенность

Суки носят своих щенков примерно 58 - 63 дня. Мои абрикосовые суки никогда не "перехаживают", даже если приносят одного щенка. Может быть, поэтому роды у них всегда быстрые и легкие. Две черные суки, мать и дочь, принадлежащие моей знакомой, щенятся всегда поздно- даже на 65 - 66-й день и, как правило, тоже без осложнений.

Рис. 38. Щенная сука незадолго до родов. Шерсть сострижена коротко

Рис. 39. Положение щенков в матке

В первую половину щенности суку кормят как обычно. Многие суки на третьей неделе щенности отказываются от еды, их время от времени тошнит, особенно по утрам. У сук, которые вынашивают своих первых щенков, все это случается чаще, чем у тех, что принесли уже не один помет. После третьей недели аппетит обычно восстанавливается и они начинают есть все подряд. Примерно на пятой-шестой неделе сука начинает округляться и постепенно по ней становится видно, что она носит щенков. Ее пища в это время должна содержать больше белка, особенно за счет мяса, больше минеральных веществ и сырых протертых овощей и фруктов (внимание к содержанию витамина С!), но ни в коем случае не больше растительного белка и углеводов. Для того чтобы было достаточно наполнителя, можно добавить в рацион пшеничные отруби, богатые витамином Е.

Ваша оценка очень важна

0
Шрифт
Фон

Помогите Вашим друзьям узнать о библиотеке